Запчасти Suzuki DF25S/L; DF25RS/L; DF25QS/L; DF25TS/L модель 2009 года - Водяной насос / Water pump
вконтакте

Контактный телефон: +7 (981) 121-46-93, +7 (800) 200-90-76 , Email: parts-katalog@yandex.ru, где купить

 
 

  Логин:

Пароль:

Регистрация

www.partskatalog.ru Все каталоги Запчасти Mercury Запчасти Suzuki Запчасти Tohatsu Запчасти Honda Контакты

назад Раздел:   вперёд

Вернуться к выбору узлов мотора


ДЕТАЛИРОВКА ДЛЯ МОДЕЛИ: SUZUKI DF25RSK9(E1) K9

Водяной насос


Код модели двигателя: DF25S/L; DF25RS/L; DF25QS/L; DF25TS/L

Год выпуска двигателя: 2009

Регион: General Export No.1 ,Код региона: P01

Цвет: Shadow Black Metallic

Номер на
рисунке
АртикулНаименованиеQTYКол-во
на складе
Цена
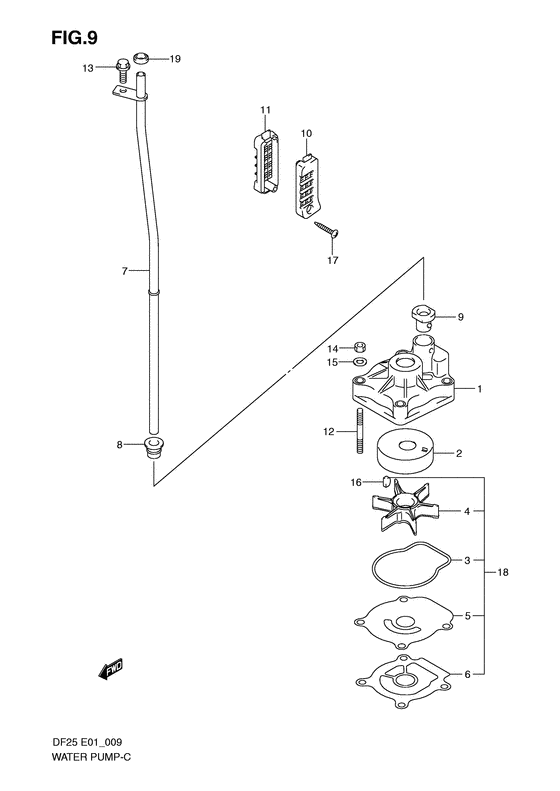
117410-95J00-000

Корпус водяного насоса - Case, Water Pump (Корпус водной помпы)

5 шт4300 руб.
217413-95J00-000

Рукав корпуса водяной помпы - Sleeve, Water Pump Case (Обойма помпы)

11 шт2510 руб.
2SK17413-95J00

   (не оригинальный аналог) Стакан крыльчатки Skipper для Suzuki DF20 V-twin- DF60AV

0 шт643 руб.
317416-95J00-000

Сальник корпуса водяного насоса - Sealing, Water Pump Case (Уплотнение корпуса)

13 шт720 руб.
3SK17416-95J00

   (не оригинальный аналог) Прокладка корпуса помпы Skipper для Suzuki Модели техники: DF20-25 (до 14 )/DF40A-60A

0 шт178 руб.
417461-96312-000

Крыльчатка водяного насоса - Impeller, Water Pump (Крыльчатка водной помпы)

25 шт3490 руб.
4SC-WT104

   (не оригинальный аналог) Крыльчатка помпы охлаждения двигателя Suzuki SC-WT104

1 шт1060 руб.
517471-95J01-000

Панель в нижней части корпуса помпы - Panel, Pump Case Under (Panel, pump case under)

11 шт900 руб.
617472-96303-000

Прокладка снизу корпуса водяного насоса - Gasket, Pump Case Under (Gasket, pump case under)

под заказ270 руб.
617472-96304-000

   (актуальный код замены) Прокладка снизу корпуса водяного насоса - Gasket, Pump Case Under

26 шт360 руб.
6SK17472-96303

   (не оригинальный аналог) Прокладка под пластину водяного насоса Skipper для Suzuki DT25-40, DF20-50, DF40A-60A

0 шт129 руб.
717560-95J00-000

Водяная трубка (s) - Tube, Water (s) (Tube, water (s); # )

под заказ3990 руб.
717560-95J01-000

   (актуальный код замены) Водяная трубка (s) - Tube, Water (s)

под заказ3990 руб.
717560-95J10-000

Водяная трубка (l) - Tube, Water (l) (Tube, water (l); # )

под заказ4660 руб.
717560-95J11-000

   (актуальный код замены) Водяная трубка (l) - Tube, Water (l)

под заказ4660 руб.
717560-95J11-000

Водяная трубка (l) - Tube, Water (l) (Tube, water (l))

под заказ4660 руб.
817565-96300-000

Пыльник водяной трубки Middle - Grommet, Water Tube Middle (Grommet, water tube # Grommet, water tube; # ) (Grommet)

под заказ360 руб.
817565-91L00-000

   (актуальный код замены) Пыльник водяной трубки Middle - Grommet, Water Tube Middle

11 шт360 руб.
917566-96302-000

Пыльник водяной трубки Lwr - Grommet, Water Tube Lwr (Grommet, water tube lower # Grommet, water tube lower; # ) (Grommet)

под заказ290 руб.
917566-96303-000

   (актуальный код замены) Пыльник водяной трубки Lwr - Grommet, Water Tube Lwr

25 шт360 руб.
1017631-95J00-000

Водяной фильтр с левой стороны - Filter, Water Port Side (Сетка водозаборника)

под заказ810 руб.
1117632-95J00-000

Водяной фильтр с правой стороны - Filter, Water Stbd Side (Сетка водозаборника)

3 шт810 руб.
1209108-06146-000

Болт под шпильку - Bolt, Stud (Болт)

12 шт540 руб.
1309116-06094-000

Болт (6x15) - Bolt (6x15) (Bolt (6x15) # Bolt, water tube (6x15); # ) (Болт 6X15)

20 шт270 руб.
1429141-93J00-000

Гайка - Nut (Nut, pump case (m6); # ) (Гайка)

18 шт480 руб.
1509160-06082-000

Шайба (6.5x13x1.0) - Washer (65x13x10) (Washer # Washer, pump case lock (6.5x13x1); # ) (Шайба)

6 шт150 руб.
1609420-04006-000

Ключ - Key (Key, impeller # Key, impeller; # ) (Ключ)

18 шт430 руб.
1703142-04259-000

Винт - Screw (Screw, filter tapping; # ) (Болт)

10 шт190 руб.
1817400-95J02-000

Ремкомплект водяного насоса - Kit, Water Pump Repair (Opt, inc.no.3, 4, 5, 6, 16 # ) (Kit, water pump repair)

1 шт4730 руб.
1817400-95J03-000

   (актуальный код замены) Ремкомплект водяного насоса - Kit, Water Pump Repair

7 шт4730 руб.
1909320-08062-000

Подушка - Cushion (Cushion, water tube upper; Df25:680340~, df20 # ) (Cushion)

34 шт1010 руб.


Время выполнения запроса 1.0095279216766 сек.

 
 

данный сайт носит информационный характер и не является публичной офертой

склад запчастей для водомоторной техники