Купить комплектующие на мотор Suzuki - Swivel bracket
вконтакте

Контактный телефон: +7 (981) 121-46-93, +7 (800) 200-90-76 , Email: parts-katalog@yandex.ru, где купить

 
 

  Логин:

Пароль:

Регистрация

www.partskatalog.ru Все каталоги Запчасти Mercury Запчасти Suzuki Запчасти Tohatsu Запчасти Honda Контакты



УВАЖАЕМЫЕ КЛИЕНТЫ!
C 19 ДЕКАБРЯ 2025 ПО 02 МАРТА 2026 ГОДА ОТДЕЛ ЗАПЧАСТЕЙ И СЕРВИС РАБОТАТЬ НЕ БУДУТ
ПРОДАЖА ЛОДОЧНЫХ МОТОРОВ В ШТАТНОМ РЕЖИМЕ
ОБ ИЗМЕНЕНИЯХ В ГРАФИКЕ РАБОТЫ ЧИТАЙТЕ НА САЙТА



назад Раздел:   вперёд

Вернуться к выбору узлов мотора


ДЕТАЛИРОВКА ДЛЯ МОДЕЛИ: SUZUKI DF25SK9(E1) K9

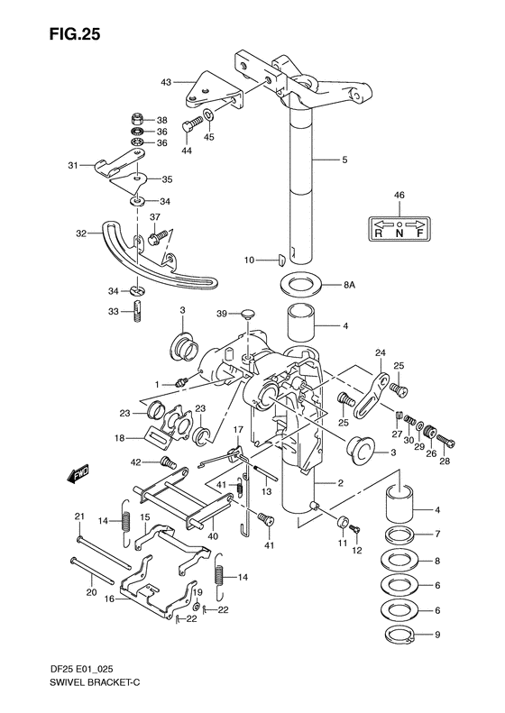
Поворотный кронштейн


Год выпуска двигателя: 2009

Номер на
рисунке
АртикулНаименованиеQTYКол-во
на складе
Цена
122511-99011-000

Ниппель смазки - Nipple, Grease (Nipple, grease swivel brkt; # ) (Ниппель)

9 шт400 руб.
243111-95J00-0EP

Поворотный кронштейн (s) - Bracket, Swivel (s) (Bracket, swivel (s) (black); # ) (Кронштейн шарнирный)

под заказ60000 руб.
243111-95J10-0EP

Поворотный кронштейн (l) (чёрный) - Bracket, Swivel (l) (black) (Bracket, swivel (l) (black); # ) (Кронштейн шарнирный)

под заказ63360 руб.
343211-87J00-000

Втулка поворотного кронштейна - Bush, Swivel Bracket (Втулка шарнирного соединения)

10 шт1020 руб.
443711-89J10-000

Втулка рулевой системы - Bush, Steering (Втулка управления)

23 шт1430 руб.
543750-95J00-0EP

Кронштейн рулевого управления (s) - Bracket, Steering (s) (Bracket, steering (s) (black); # )

под заказ35040 руб.
543750-95J21-0EP

   (актуальный код замены) Кронштейн рулевого управления (s) - Bracket, Steering (s)

под заказ35040 руб.
543750-95J21-0EP

Кронштейн рулевого управления (s) - Bracket, Steering (s) (Bracket comp, steering (s))

под заказ35040 руб.
543750-95J10-0EP

Кронштейн рулевого управления (l) - Bracket, Steering (l) (Bracket, steering (l) (black); # ) (Кронштейн управления (L) (черный))

под заказ48480 руб.
543750-95J31-0EP

   (актуальный код замены) Кронштейн рулевого управления (l) - Bracket, Steering (l)

под заказ48480 руб.
609181-39001-000

Регулировочная шайба (39.5x64x0.3) - Shim (395x64x03) (Shim (39.5x64x0.3) # Shim, swivel bracket (39.5x64x0.3); # ) (Shim)

8 шт480 руб.
709282-39001-000

Сальник (39x51x5) - Seal, Oil (39x51x5) (Seal, oil # Seal, swivel bracket (39.2x51x5); # ) (Сальник 39X51X)

22 шт690 руб.
809160-39001-000

Шайба (39.5x64x1) - Washer (395x64x1) (Washer (39.5x64x1.0) # Washer, pilot shaft (39.5x64x1); # ) (Шайба 39.5X64X)

8 шт320 руб.
843721-95J00-000

Пластина рулевого управления вышеr - Plate, Steering Upr (Plate, steering upper (39.5x71x1) # Plate, steering upper (39.5x71x1); # ) (Плата верхняя (39.5X71)

под заказ920 руб.
909380-38003-000

Стопорное кольцо - Circlip (Circlip, pilot shaft lower; # ) (Circlip)

5 шт600 руб.
1009420-05003-000

Ключ - Key (Key, pilot shaft; # ) (Ключ)

под заказ600 руб.
1155321-87J00-000

Защитный анод - Anode, Protection (Протекторная защита)

1 шт750 руб.
1155321-87J01-000

   (актуальный код замены) Защитный анод - Anode, Protection

под заказ850 руб.
11SMO-55321-87J01-000

   (не оригинальный аналог) Защитный анод SMO-55321-87J01-000 (оригинал)

под заказ590 руб.
11SMO-55321-87J01-000

  (аналог) Защитный анод SMO-55321-87J01-000 (оригинал) - код 55321-87J01-000

 под заказ шт585 руб.
1209103-06281-000

Болт (6x14) - Bolt (6x14) (Bolt, protection anode # ) (Bolt)

6 шт270 руб.
1341225-94502-000

Стопор пружины блокировки наклона - Pin, Tilt Lock Spring (Pin, tilt lock spring)

под заказ570 руб.
1445211-95J00-000

Пружина блокировки задней передачи - Spring, Reverse Lock (Пружина)

2 шт1590 руб.
1545231-95J00-000

Рычаг блокировки реверса - Arm, Reverse Lock (Рычаг блокировки заднего хода)

под заказ2160 руб.
1645241-95J00-000

Тяга рычага блокировки реверса - Link, Reverse Lock Arm (Сустав ручки заднего хода)

под заказ2380 руб.
1745250-95J00-000

Освобождающая тяга - Link, Release (Тяга)

под заказ2050 руб.
1845261-95J00-000

Освобождающий рычаг - Lever, Release (Рукоятка заднего хода)

под заказ2030 руб.
1909160-06082-000

Шайба (6.5x13x1.0) - Washer (65x13x10) (Washer # Washer, rev lock arm link pin (6.5x13x1.0); # ) (Шайба)

7 шт150 руб.
2009200-06069-000

Штифт - Pin (Штифт рукоятки)

под заказ1250 руб.
2109200-06070-000

Штифт - Pin (Штифт)

под заказ1760 руб.
2209204-01002-000

Штифт - Pin (Cotter pin # Pin, rev lock arm cotter; # ) (Стопор)

24 шт140 руб.
2309306-22006-000

Втулка (22.6x27x8) - Bush (226x27x8) (Bush # Bush, release lever; # ) (Втулка выключателя)

4 шт300 руб.
2359315-94J00-000

   (актуальный код замены) Втулка рычага блокировки - Bush, Release Lever

4 шт300 руб.
2441223-95J01-000

Рычаг, Tilt Stop - Arm, Tilt Stop (Arm, tilt stop)

под заказ3170 руб.
2509106-10078-000

Болт (10x28.5) - Bolt (10x285) (Bolt, tilt stop arm # Bolt, tilt stop arm; # ) (Болт рукоятки блокировки)

10 шт1350 руб.
2643412-93900-000

Крышка регулировки рулевой системыer - Cover, Steering Adjuster (Cover, steering adjust # Cover, steering adjuster; # ) (Крышка регулятора)

под заказ340 руб.
2643412-93901-000

   (актуальный код замены) Крышка регулировки рулевой системыer - Cover, Steering Adjuster

под заказ340 руб.
2743417-95J00-000

Регулировка рулевой системы - Adjuster, Steering (Регулятор управления)

под заказ1500 руб.
2809100-08227-000

Болт (8x27) - Bolt (8x27) (Bolt # Bolt, steering adj (8x27); # ) (Болт)

под заказ0 руб.
2909160-08091-000

Шайба (8.5x14x1.0) - Washer (85x14x10) (Washer (8.5x14x1.0) # Washer, strg adj (8.5x14x1.0); # ) (Шайба)

7 шт130 руб.
3029440-93J00-000

Пружина регулятора рулевой системы - Spring, Steering Adjuster (Spring, steering adjuster; # ) (Пружина регулятора)

под заказ190 руб.
3143411-95J00-000

Рычаг регулировки рулевой системы - Lever, Steering Adjuster (Except type:r # ) (Ручка регулирования)

под заказ2020 руб.
3143411-95J01-000

   (актуальный код замены) Рычаг регулировки рулевой системы - Lever, Steering Adjuster

под заказ2020 руб.
3243415-95J00-000

Пластина рулевого управления Регулятор - Plate, Steering Adjuster (Except type:r # ) (Плата регулятора)

под заказ4180 руб.
3343512-95J00-000

Вал, Рулевая система Регулятор - Shaft, Steering Adjuster (Except type:r # ) (Вал регулятора)

под заказ1590 руб.
3443514-95J00-000

Шайба фрикциона регулировки рулевой системы Пластина - Washer, Strg Adj Friction Plate (Except type:r # ) (Шайба)

под заказ430 руб.
3543514-95J10-000

Пластина рулевого управления Adj Friction - Plate, Steering Adj Friction (Except type:r # ) (Плата)

под заказ560 руб.
3643516-89J00-000

Шайба регулятора рулевой системы - Washer, Steering Adjuster (Except type:r # ) (Шайба регулятора)

под заказ1330 руб.
3709116-08137-000

Болт (8x22) - Bolt (8x22) (Bolt (8x22) # Bolt, strg adj plate (8x22); Except type:r, # ) (Болт (8X22))

10 шт690 руб.
3809159-08131-000

Гайка - Nut (Except type:r # ) (Гайка регулятора)

под заказ530 руб.
3909250-08010-000

Колпачок (od: 20) - Cap (od:20) (Plug, steering adjuster # Type:r # ) (Cap)

под заказ150 руб.
4045710-95J01-000

Рычаг системы движения по мелководью - Arm, Shallow Water Drive (Arm comp, shallow water drive)

под заказ6200 руб.
4145722-95J00-000

Пружина, Shallow Water Рычаг привода - Spring, Shallow Water Drive Arm (Пружина рукоятки)

1 шт1110 руб.
4209106-10078-000

Болт (10x28.5) - Bolt (10x285) (Bolt, tilt stop arm # ) (Болт рукоятки блокировки)

10 шт1350 руб.
4343755-95J01-000

Соединитель кронштейна рулевой системы - Attachment, Steering Bracket (Attachment, steering bracket; Type:r # ) (Attachment, steering brkt)

под заказ3410 руб.
4409100-10270-000

Болт (10x25) - Bolt (10x25) (Bolt, strg brkt attachment (10x25) # Bolt, strg brkt attachment (10x25); Type:r # ) (Bolt (10x25))

под заказ1500 руб.
4509162-10005-000

Шайба с блокировкой - Washer, Lock (Lock washer # Washer, lock (10.2x18.4x2.5); Type:r # ) (Washer lock)

под заказ130 руб.
4621131-96010-000

Маркировка переключателя сцепления - Mark, Clutch Shift (Mark, shift # Except type:r # ) (Маркировка)

под заказ160 руб.
4621131-91J00-YAY

   (актуальный код замены) Маркировка переключателя сцепления - Mark, Clutch Shift

2 шт160 руб.


Время выполнения запроса 3.8801960945129 сек.

 
 

данный сайт носит информационный характер и не является публичной офертой

склад запчастей для водомоторной техники