Номер на рисунке | Артикул | Наименование | QTY | Кол-во на складе | Цена |
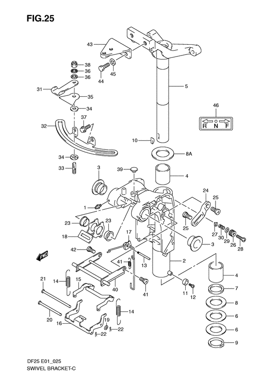
| 1 | 22511-99011-000 | Ниппель смазки - Nipple, Grease (Nipple, grease swivel brkt; # ) (Ниппель) | | 9 шт | 400 руб. |
| 2 | 43111-95J00-0EP | Поворотный кронштейн (s) - Bracket, Swivel (s) (Bracket, swivel (s) (black); # ) (Кронштейн шарнирный) | | под заказ | 60000 руб. |
| 2 | 43111-95J10-0EP | Поворотный кронштейн (l) (чёрный) - Bracket, Swivel (l) (black) (Bracket, swivel (l) (black); # ) (Кронштейн шарнирный) | | под заказ | 63360 руб. |
| 3 | 43211-87J00-000 | Втулка поворотного кронштейна - Bush, Swivel Bracket (Втулка шарнирного соединения) | | 10 шт | 1020 руб. |
| 4 | 43711-89J10-000 | Втулка рулевой системы - Bush, Steering (Втулка управления) | | 23 шт | 1430 руб. |
| 5 | 43750-95J00-0EP | Кронштейн рулевого управления (s) - Bracket, Steering (s) (Bracket, steering (s) (black); # ) | | под заказ | 35040 руб. |
| 5 | 43750-95J21-0EP | (актуальный код замены) Кронштейн рулевого управления (s) - Bracket, Steering (s) | | под заказ | 35040 руб. |
| 5 | 43750-95J21-0EP | Кронштейн рулевого управления (s) - Bracket, Steering (s) (Bracket comp, steering (s)) | | под заказ | 35040 руб. |
| 5 | 43750-95J10-0EP | Кронштейн рулевого управления (l) - Bracket, Steering (l) (Bracket, steering (l) (black); # ) (Кронштейн управления (L) (черный)) | | под заказ | 48480 руб. |
| 5 | 43750-95J31-0EP | (актуальный код замены) Кронштейн рулевого управления (l) - Bracket, Steering (l) | | под заказ | 48480 руб. |
| 6 | 09181-39001-000 | Регулировочная шайба (39.5x64x0.3) - Shim (395x64x03) (Shim (39.5x64x0.3) # Shim, swivel bracket (39.5x64x0.3); # ) (Shim) | | 8 шт | 480 руб. |
| 7 | 09282-39001-000 | Сальник (39x51x5) - Seal, Oil (39x51x5) (Seal, oil # Seal, swivel bracket (39.2x51x5); # ) (Сальник 39X51X) | | 22 шт | 690 руб. |
| 8 | 09160-39001-000 | Шайба (39.5x64x1) - Washer (395x64x1) (Washer (39.5x64x1.0) # Washer, pilot shaft (39.5x64x1); # ) (Шайба 39.5X64X) | | 8 шт | 320 руб. |
| 8 | 43721-95J00-000 | Пластина рулевого управления вышеr - Plate, Steering Upr (Plate, steering upper (39.5x71x1) # Plate, steering upper (39.5x71x1); # ) (Плата верхняя (39.5X71) | | под заказ | 920 руб. |
| 9 | 09380-38003-000 | Стопорное кольцо - Circlip (Circlip, pilot shaft lower; # ) (Circlip) | | 5 шт | 600 руб. |
| 10 | 09420-05003-000 | Ключ - Key (Key, pilot shaft; # ) (Ключ) | | под заказ | 600 руб. |
| 11 | 55321-87J00-000 | Защитный анод - Anode, Protection (Протекторная защита) | | 1 шт | 750 руб. |
| 11 | 55321-87J01-000 | (актуальный код замены) Защитный анод - Anode, Protection | | 30 шт | 850 руб. |
| 11 | SMO-55321-87J01-000 | (не оригинальный аналог) Защитный анод SMO-55321-87J01-000 (оригинал) | | под заказ | 590 руб. |
| 11 | SMO-55321-87J01-000 | (аналог) Защитный анод SMO-55321-87J01-000 (оригинал) - код 55321-87J01-000 | | под заказ шт | 585 руб. |
| 12 | 09103-06281-000 | Болт (6x14) - Bolt (6x14) (Bolt, protection anode # ) (Bolt) | | 6 шт | 270 руб. |
| 13 | 41225-94502-000 | Стопор пружины блокировки наклона - Pin, Tilt Lock Spring (Pin, tilt lock spring) | | под заказ | 570 руб. |
| 14 | 45211-95J00-000 | Пружина блокировки задней передачи - Spring, Reverse Lock (Пружина) | | 2 шт | 1590 руб. |
| 15 | 45231-95J00-000 | Рычаг блокировки реверса - Arm, Reverse Lock (Рычаг блокировки заднего хода) | | под заказ | 2160 руб. |
| 16 | 45241-95J00-000 | Тяга рычага блокировки реверса - Link, Reverse Lock Arm (Сустав ручки заднего хода) | | под заказ | 2380 руб. |
| 17 | 45250-95J00-000 | Освобождающая тяга - Link, Release (Тяга) | | под заказ | 2050 руб. |
| 18 | 45261-95J00-000 | Освобождающий рычаг - Lever, Release (Рукоятка заднего хода) | | под заказ | 2030 руб. |
| 19 | 09160-06082-000 | Шайба (6.5x13x1.0) - Washer (65x13x10) (Washer # Washer, rev lock arm link pin (6.5x13x1.0); # ) (Шайба) | | 6 шт | 150 руб. |
| 20 | 09200-06069-000 | Штифт - Pin (Штифт рукоятки) | | под заказ | 1250 руб. |
| 21 | 09200-06070-000 | Штифт - Pin (Штифт) | | под заказ | 1760 руб. |
| 22 | 09204-01002-000 | Штифт - Pin (Cotter pin # Pin, rev lock arm cotter; # ) (Стопор) | | 24 шт | 140 руб. |
| 23 | 09306-22006-000 | Втулка (22.6x27x8) - Bush (226x27x8) (Bush # Bush, release lever; # ) (Втулка выключателя) | | 4 шт | 300 руб. |
| 23 | 59315-94J00-000 | (актуальный код замены) Втулка рычага блокировки - Bush, Release Lever | | 4 шт | 300 руб. |
| 24 | 41223-95J01-000 | Рычаг, Tilt Stop - Arm, Tilt Stop (Arm, tilt stop) | | под заказ | 3170 руб. |
| 25 | 09106-10078-000 | Болт (10x28.5) - Bolt (10x285) (Bolt, tilt stop arm # Bolt, tilt stop arm; # ) (Болт рукоятки блокировки) | | 10 шт | 1350 руб. |
| 26 | 43412-93900-000 | Крышка регулировки рулевой системыer - Cover, Steering Adjuster (Cover, steering adjust # Cover, steering adjuster; # ) (Крышка регулятора) | | под заказ | 340 руб. |
| 26 | 43412-93901-000 | (актуальный код замены) Крышка регулировки рулевой системыer - Cover, Steering Adjuster | | под заказ | 340 руб. |
| 27 | 43417-95J00-000 | Регулировка рулевой системы - Adjuster, Steering (Регулятор управления) | | под заказ | 1500 руб. |
| 28 | 09100-08227-000 | Болт (8x27) - Bolt (8x27) (Bolt # Bolt, steering adj (8x27); # ) (Болт) | | под заказ | 0 руб. |
| 29 | 09160-08091-000 | Шайба (8.5x14x1.0) - Washer (85x14x10) (Washer (8.5x14x1.0) # Washer, strg adj (8.5x14x1.0); # ) (Шайба) | | 7 шт | 130 руб. |
| 30 | 29440-93J00-000 | Пружина регулятора рулевой системы - Spring, Steering Adjuster (Spring, steering adjuster; # ) (Пружина регулятора) | | под заказ | 190 руб. |
| 31 | 43411-95J00-000 | Рычаг регулировки рулевой системы - Lever, Steering Adjuster (Except type:r # ) (Ручка регулирования) | | под заказ | 2020 руб. |
| 31 | 43411-95J01-000 | (актуальный код замены) Рычаг регулировки рулевой системы - Lever, Steering Adjuster | | под заказ | 2020 руб. |
| 32 | 43415-95J00-000 | Пластина рулевого управления Регулятор - Plate, Steering Adjuster (Except type:r # ) (Плата регулятора) | | под заказ | 4180 руб. |
| 33 | 43512-95J00-000 | Вал, Рулевая система Регулятор - Shaft, Steering Adjuster (Except type:r # ) (Вал регулятора) | | под заказ | 1590 руб. |
| 34 | 43514-95J00-000 | Шайба фрикциона регулировки рулевой системы Пластина - Washer, Strg Adj Friction Plate (Except type:r # ) (Шайба) | | под заказ | 430 руб. |
| 35 | 43514-95J10-000 | Пластина рулевого управления Adj Friction - Plate, Steering Adj Friction (Except type:r # ) (Плата) | | под заказ | 560 руб. |
| 36 | 43516-89J00-000 | Шайба регулятора рулевой системы - Washer, Steering Adjuster (Except type:r # ) (Шайба регулятора) | | под заказ | 1330 руб. |
| 37 | 09116-08137-000 | Болт (8x22) - Bolt (8x22) (Bolt (8x22) # Bolt, strg adj plate (8x22); Except type:r, # ) (Болт (8X22)) | | 10 шт | 690 руб. |
| 38 | 09159-08131-000 | Гайка - Nut (Except type:r # ) (Гайка регулятора) | | под заказ | 530 руб. |
| 39 | 09250-08010-000 | Колпачок (od: 20) - Cap (od:20) (Plug, steering adjuster # Type:r # ) (Cap) | | под заказ | 150 руб. |
| 40 | 45710-95J01-000 | Рычаг системы движения по мелководью - Arm, Shallow Water Drive (Arm comp, shallow water drive) | | под заказ | 6200 руб. |
| 41 | 45722-95J00-000 | Пружина, Shallow Water Рычаг привода - Spring, Shallow Water Drive Arm (Пружина рукоятки) | | 1 шт | 1110 руб. |
| 42 | 09106-10078-000 | Болт (10x28.5) - Bolt (10x285) (Bolt, tilt stop arm # ) (Болт рукоятки блокировки) | | 10 шт | 1350 руб. |
| 43 | 43755-95J01-000 | Соединитель кронштейна рулевой системы - Attachment, Steering Bracket (Attachment, steering bracket; Type:r # ) (Attachment, steering brkt) | | под заказ | 3410 руб. |
| 44 | 09100-10270-000 | Болт (10x25) - Bolt (10x25) (Bolt, strg brkt attachment (10x25) # Bolt, strg brkt attachment (10x25); Type:r # ) (Bolt (10x25)) | | под заказ | 1500 руб. |
| 45 | 09162-10005-000 | Шайба с блокировкой - Washer, Lock (Lock washer # Washer, lock (10.2x18.4x2.5); Type:r # ) (Washer lock) | | под заказ | 130 руб. |
| 46 | 21131-96010-000 | Маркировка переключателя сцепления - Mark, Clutch Shift (Mark, shift # Except type:r # ) (Маркировка) | | под заказ | 160 руб. |
| 46 | 21131-91J00-YAY | (актуальный код замены) Маркировка переключателя сцепления - Mark, Clutch Shift | | 2 шт | 160 руб. |