| |
|
|
 |
Вернуться к выбору узлов мотора
ДЕТАЛИРОВКА ДЛЯ МОДЕЛИ: SUZUKI DF30A/DF30AT/DF30ATH/DF30AQH FROM 03003F-51001~ (P40)
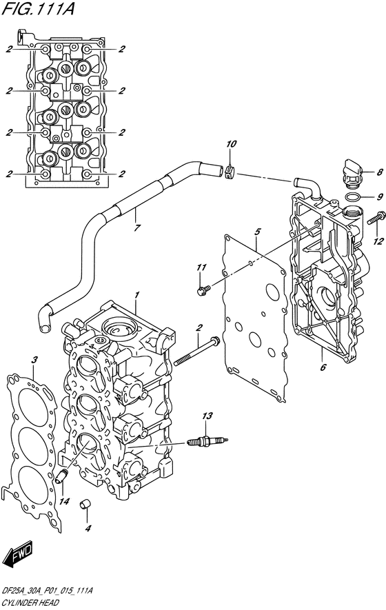
Головка блока цилиндра
Год выпуска двигателя: 2015
Регион: General Export No.1/Finland (P01/P015)
Цвет: Shadow Black Metallic (0EP)
Номер на рисунке | Артикул | Наименование | QTY | Кол-во на складе | Цена |
| 1 | 11110-94L00-000 | Головка цилиндра - Head, Cylinder (HEAD, CYLINDER) | | под заказ | 117600 руб. |
| 2 | 11119-94L00-000 | Болты головки цилиндра №1 - Bolt, Cylinder Head No1 (BOLT, CYLINDER HEAD NO.1) | | под заказ | 590 руб. |
| 3 | 11141-94L00-000 | Прокладка головки блока цилиндра - Gasket, Cylinder Head (GASKET, CYLINDER HEAD) | | 4 шт | 5960 руб. |
| 4 | 04211-11129-000 | Штифт - Pin (Pin) | | 14 шт | 150 руб. |
| 5 | 11162-94L00-000 | Прокладка крышки головки блока цилиндра - Gasket, Cylinder Head Cover (GASKET, CYLINDER HEAD COVER) | | 3 шт | 1930 руб. |
| 6 | 11170-94L00-000 | Крышка головки цилиндра - Cover, Cylinder Head (COVER, CYLINDER HEAD) | | под заказ | 11040 руб. |
| 7 | 11174-94L00-000 | Шланг сапуна - Hose, Breather (HOSE, BREATHER) | | под заказ | 2080 руб. |
| 8 | 11382-93E00-000 | Колпачок масляного фильтра - Cap, Oil Filler (Cap, oil filler) | | 8 шт | 430 руб. |
| 9 | 09280-17003-000 | Уплотнительное кольцо (d: 3.1, Id: 16.8) - O Ring (d:31, Id:168) (O ring, oil filler cap # ) (O ring (d:3.1, id:16.8)) | | 14 шт | 180 руб. |
| 10 | 09401-15414-000 | Зажим - Clip (Зажим шланга) | | под заказ | 170 руб. |
| 11 | 01547-0612A-000 | Болт - Bolt (Bolt, push rod guide # ) (Bolt) | | под заказ | 160 руб. |
| 12 | 01550-06257-000 | Болт - Bolt (Bolt) | | под заказ | 180 руб. |
| 13 | 09482-00L04-000 | Свеча зажигания (cpr6ea-9) - Plug, Spark (cpr6ea-9) (NGK # ) (Spark plug ( cpr6ea-9 )) | | 80 шт | 1470 руб. |
| 14 | 11115-30D70-000 | Направляющая клапана - Guide, Valve (OPT # ) (Направляющая клапана) | | 6 шт | 2880 руб. |
Время выполнения запроса 1.3019938468933 сек. |
|