|
 |
Раздел:
|
 |
Вернуться к выбору узлов мотора
ДЕТАЛИРОВКА ДЛЯ МОДЕЛИ: SUZUKI DF30A/DF30AT/DF30ATH/DF30AQH FROM 03003F-51001~ (P40)
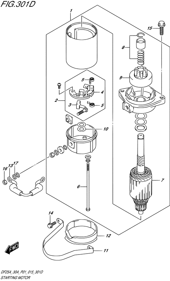
Двигатель электростартера
Год выпуска двигателя: 2015
Регион: General Export No.1/Finland (P01/P015)
Цвет: Shadow Black Metallic (0EP)
Номер на рисунке | Артикул | Наименование | QTY | Кол-во на складе | Цена |
1 | 31100-94401-000 | Двигатель электростартера в сборе - Motor Assy, Starting (Motor assy, starting # ) (Мотор стартера) | | под заказ | 89760 руб. |
1 | 31100-94402-000 | (актуальный код замены) Двигатель электростартера в сборе - Motor Assy, Starting | | под заказ | 89760 руб. |
1 | SC-OT838 | (не оригинальный аналог) Электростартер двигателя Suzuki/Tohatsu/Nissan/Mercury/Mariner SC-OT838 | | под заказ | 15140 руб. |
2 | 31173-89J00-000 | Держатель щетки - Holder Assy, Brush (Держатель щётки) | | 1 шт | 7780 руб. |
3 | 31131-96300-000 | Щётка (+) - Brush (+) (Brush (+)) | | 2 шт | 2080 руб. |
4 | 31132-96300-000 | Щётка (-) - Brush (-) (Щётка (-)) | | 2 шт | 1110 руб. |
5 | 31135-89J00-000 | Пружина - Spring (Spring # ) (Пружина щетки) | | под заказ | 550 руб. |
6 | 31281-93340-000 | Сквозной болт - Bolt, Through (Bolt, starter housing # ) (Bolt) | | под заказ | 410 руб. |
7 | 31310-96300-000 | Якорь - Armature (Armature, starter # ) (Отсутствующе) | | 2 шт | 45360 руб. |
8 | 31312-96300-000 | Комплект стопора шестерни - Stopper Set, Pinion (Шайба стопорного комплекта) | | 2 шт | 1420 руб. |
9 | 31320-94400-000 | Комплект шестерёнок - Pinion Assy (Шестерня) | | под заказ | 23620 руб. |
10 | 31360-96300-000 | Установочная шайба - Washer Set (Washer kit # ) (Шайба) | | под заказ | 1260 руб. |
11 | 31912-94L00-000 | Крепежная скоба двигателя электростартера - Band, Starter Motor (BAND, STARTER MOTOR) | | под заказ | 1190 руб. |
12 | 31918-94401-000 | Демпфер, Lwr - Damper, Lwr (Damper # ) (Демпфер нижний) | | под заказ | 1040 руб. |
12 | 31918-94402-000 | (актуальный код замены) Нижний демпфер - Damper, Lower | | под заказ | 1040 руб. |
13 | 33820-89E01-000 | Кабель от клеммы ПЛЮС к реле - Cable, Plus Term To Relay (Cable assy, starting sub # ) (Кабель) | | под заказ | 1430 руб. |
14 | 01550-06167-000 | Болт - Bolt (Bolt) | | 9 шт | 210 руб. |
15 | 01550-08257-000 | Болт - Bolt (Bolt) | | под заказ | 300 руб. |
16 | 08310-00067-000 | Гайка - Nut (Nut # ) (Гайка) | | под заказ | 140 руб. |
17 | 08321-01067-000 | Шайба с блокировкой - Washer, Lock (Washer # ) (Шайба, стопорная) | | под заказ | 140 руб. |
Время выполнения запроса 1.4783430099487 сек. |
|