| |
 |
|
 |
Вернуться к выбору узлов мотора
ДЕТАЛИРОВКА ДЛЯ МОДЕЛИ: SUZUKI DF30A/DF30AT/DF30ATH/DF30AQH FROM 03003F-51001~ (P40)
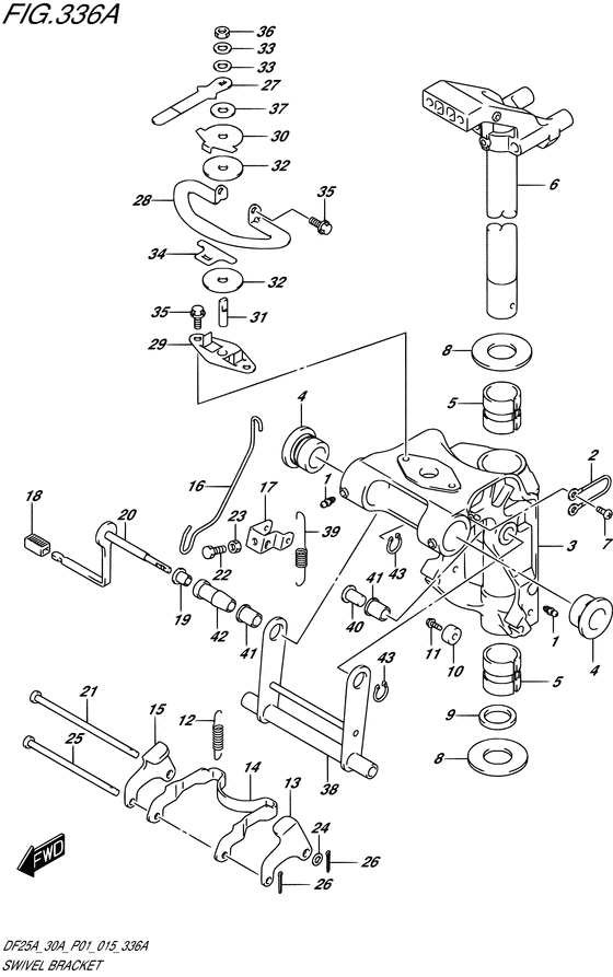
Поворотный кронштейн
Год выпуска двигателя: 2015
Регион: General Export No.1/Finland (P01/P015)
Цвет: Shadow Black Metallic (0EP)
Номер на рисунке | Артикул | Наименование | QTY | Кол-во на складе | Цена |
| 1 | 22511-99011-000 | Ниппель смазки - Nipple, Grease (Ниппель) | | 9 шт | 400 руб. |
| 2 | 36894-87D00-000 | Lead (l: 165) - Lead (l:165) (Lead # ) (Провод) | | 2 шт | 1350 руб. |
| 3 | 43111-94L00-0EP | Поворотный кронштейн (s) - Bracket, Swivel (s) (W/TRANSOM (S) # ) (BRACKET, SWIVEL (S)) | | 1 шт | 24120 руб. |
| 3 | 43111-94L10-0EP | Поворотный кронштейн (l) (чёрный) - Bracket, Swivel (l) (black) (W/TRANSOM (L) # ) (BRACKET, SWIVEL (L) (BLACK)) | | под заказ | 20160 руб. |
| 4 | 43211-87JL0-000 | Втулка поворотного кронштейна - Bush, Swivel Bracket (Bush, swivel bracket) | | 8 шт | 1770 руб. |
| 4 | SK43211-87JL0 | (не оригинальный аналог) Втулка поворотного механизма Skipper для Suzuki DT9,9-15/ DF9,9-DF30a | | 0 шт | 148 руб. |
| 5 | 43711-94L00-000 | Втулка рулевой системы - Bush, Steering (BUSH, STEERING) | | 10 шт | 620 руб. |
| 6 | 43750-94L00-0EP | Кронштейн рулевого управления (s) (чёрный) - Bracket, Steering (s) (black) (W/TRANSOM (S) # ) (BRACKET, STEERING (S) (BLACK)) | | под заказ | 26700 руб. |
| 6 | 43750-94L10-0EP | Кронштейн рулевого управления (l) (чёрный) - Bracket, Steering (l) (black) (W/TRANSOM (L) # ) (BRACKET, STEERING (L) (BLACK)) | | под заказ | 20160 руб. |
| 7 | 09125-06063-000 | Винт (6x10) - Screw (6x10) (Screw (6x10) # ) (Винт 6X10 (SUS)) | | 6 шт | 190 руб. |
| 8 | 09160-30057-000 | Шайба (30.9x50x1.5) - Washer (309x50x15) (WASHER (30.9X50X1.5)) | | 10 шт | 400 руб. |
| 9 | 09282-30008-000 | Сальник (30.6x43x5) - Seal (306x43x5) (SEAL (30.6X43X5)) | | 1 шт | 710 руб. |
| 10 | 55321-87J00-000 | Защитный анод - Anode, Protection (W/TRANSOM (L) # ) (Протекторная защита) | | 1 шт | 750 руб. |
| 10 | 55321-87J01-000 | (актуальный код замены) Защитный анод - Anode, Protection | | под заказ | 850 руб. |
| 10 | SMO-55321-87J01-000 | (не оригинальный аналог) Защитный анод SMO-55321-87J01-000 (оригинал) | | под заказ | 590 руб. |
| 10 | SMO-55321-87J01-000 | (аналог) Защитный анод SMO-55321-87J01-000 (оригинал) - код 55321-87J01-000 | | под заказ шт | 585 руб. |
| 10 | 55321-87J10-000 | Анод, Magnesium - Anode, Magnesium (OPT # ) (Анод) | | под заказ | 1490 руб. |
| 10 | 55321-87J11-000 | (актуальный код замены) Анод (магниевый) - Anode (magnesium) | | 27 шт | 1490 руб. |
| 11 | 09103-06281-000 | Болт (6x14) - Bolt (6x14) (Bolt, protection anode # W/TRANSOM (L) # ) (Bolt) | | 6 шт | 270 руб. |
| 12 | 45211-94L00-000 | Пружина рычага блокировки задней передачи - Spring, Reverse Lock Arm (SPRING, REVERSE LOCK ARM) | | 1 шт | 430 руб. |
| 13 | 45221-94L00-000 | Тяга левого рычага блокировки реверса - Link, Reverse Lock Arm Port (LINK, REVERSE LOCK ARM PORT) | | под заказ | 2030 руб. |
| 14 | 45231-94L00-000 | Рычаг блокировки реверса - Arm, Reverse Lock (ARM, REVERSE LOCK) | | под заказ | 2000 руб. |
| 15 | 45241-94L00-000 | Тяга правого рычага блокировки реверса - Link, Reverse Lock Arm Stbd (LINK, REVERSE LOCK ARM STBD) | | под заказ | 2030 руб. |
| 16 | 45252-94L00-000 | Тяга рычага блокировки - Link, Release Lever (LINK, RELEASE LEVER) | | под заказ | 300 руб. |
| 17 | 45253-94L00-000 | Рычаг блокировки - Arm, Release (ARM, RELEASE) | | под заказ | 480 руб. |
| 18 | 45255-94L00-000 | Резинка рычага блокировки - Rubber, Release Lever (RUBBER, RELEASE LEVER) | | под заказ | 240 руб. |
| 19 | 45257-94L00-000 | Втулка рычага блокировки - Bush, Release Lever (BUSH, RELEASE LEVER) | | под заказ | 1110 руб. |
| 20 | 45260-94L00-000 | Освобождающий рычаг - Lever, Release (LEVER, RELEASE) | | под заказ | 1640 руб. |
| 21 | 59211-94L00-000 | Стопор тяги рячага блокировки реверса - Pin, Reverse Lock Arm Link (PIN, REVERSE LOCK ARM LINK) | | под заказ | 1430 руб. |
| 22 | 09100-06113-000 | Болт (6x16) - Bolt (6x16) (Болт) | | под заказ | 140 руб. |
| 23 | 09140-06020-000 | Гайка - Nut (Гайка) | | 9 шт | 150 руб. |
| 24 | 09160-06082-000 | Шайба (6.5x13x1.0) - Washer (65x13x10) (Washer # ) (Шайба) | | 7 шт | 150 руб. |
| 25 | 09200-06072-000 | Штифт (6x105.5) - Pin (6x1055) (PIN (6X105.5)) | | под заказ | 980 руб. |
| 26 | 09204-01002-000 | Штифт - Pin (Cotter pin # ) (Стопор) | | 24 шт | 140 руб. |
| 27 | 43411-89L00-000 | Рычаг регулировки рулевой системы - Lever, Steering Adjuster (Lever, steering adjuster) | | под заказ | 360 руб. |
| 28 | 43415-94L00-000 | Пластина, Strg Adj (h) - Plate, Strg Adj (h) (PLATE, STRG ADJ (H)) | | под заказ | 1320 руб. |
| 28 | 43415-94L01-000 | (актуальный код замены) Пластина регулировки рулевой системы (h) - Plate, Strg Adjuster (h) | | 3 шт | 1590 руб. |
| 29 | 43420-89L00-000 | Пластина фрикциона регулировки рулевого управления - Plate, Strg Adjuster Friction (Plate comp, strg adj friction) | | 1 шт | 800 руб. |
| 30 | 43425-89L00-000 | Пластина регулировки рулевой системы вышеr - Plate, Strg Adjuster Upr (Plate, strg adj upper) | | 1 шт | 280 руб. |
| 31 | 43512-89L00-000 | Резьбовой вал регулировки рулевого управления (h) - Shaft, Strg Adjuster Thread (h) (Shaft, strg adj thread (h)) | | 1 шт | 230 руб. |
| 32 | 43515-88L00-000 | Шайба фрикциона регулировки рулевой системы Пластина - Washer, Strg Adj Friction Plate (Washer, strg adj friction plate) | | под заказ | 1820 руб. |
| 33 | 43516-89J00-000 | Шайба регулятора рулевой системы - Washer, Steering Adjuster (Шайба регулятора) | | под заказ | 1330 руб. |
| 34 | 43517-89L00-000 | Проставка регулятора рулевой системы - Spacer, Steering Adjuster (Spacer, steering adjuster) | | 1 шт | 530 руб. |
| 35 | 09116-06225-000 | Болт (6x15) - Bolt (6x15) (Bolt, 6x15) | | 6 шт | 250 руб. |
| 36 | 09159-08L02-000 | Гайка - Nut (Гайка) | | 4 шт | 330 руб. |
| 37 | 09161-08019-000 | Шайба (8.2x18x1.2) - Washer (82x18x12) (Washer, 8.2x18x1.2) | | 6 шт | 150 руб. |
| 38 | 45710-94L00-000 | Рычаг системы движения по мелководью - Arm, Shallow Water Drive (ARM, SHALLOW WATER DRIVE) | | под заказ | 6580 руб. |
| 39 | 45722-94L00-000 | Пружина, Shallow Water Рычаг привода - Spring, Shallow Water Drive Arm (SPRING, SHALLOW WATER DRIVE ARM) | | 1 шт | 170 руб. |
| 40 | 45741-94L00-000 | Стопор движения по мелководью Рычаг - Pin, Shallow Drive Water Arm (PIN, SHALLOW DRIVE WATER ARM) | | под заказ | 1000 руб. |
| 41 | 45751-94L00-000 | Втулка, Shallow Water Рычаг привода - Bush, Shallow Water Drive Arm (BUSH, SHALLOW WATER DRIVE ARM) | | под заказ | 740 руб. |
| 42 | 45761-94L00-000 | Проставка, Shallow Water Рычаг привода - Spacer, Shallow Water Drive Arm (SPACER, SHALLOW WATER DRIVE ARM) | | под заказ | 980 руб. |
| 43 | 09380-12002-000 | Пружинное кольцо - Ring, Snap (Circlip # ) (Snap ring) | | 12 шт | 150 руб. |
Время выполнения запроса 3.2930037975311 сек. |
|