Оригинальные запчасти на двигатель Сузуки DF30S/L; DF30RS/L; DF30QS/L; DF30TS/L модель 2002 года - Сцепление - Clutch
вконтакте

Контактный телефон: +7 (981) 121-46-93, +7 (800) 200-90-76 , Email: parts-katalog@yandex.ru, где купить

 
 

  Логин:

Пароль:

Регистрация

www.partskatalog.ru Все каталоги Запчасти Mercury Запчасти Suzuki Запчасти Tohatsu Запчасти Honda Контакты

назад Раздел:   вперёд

Вернуться к выбору узлов мотора


ДЕТАЛИРОВКА ДЛЯ МОДЕЛИ: SUZUKI DF30T K2

Сцепление


Код модели двигателя: DF30S/L; DF30RS/L; DF30QS/L; DF30TS/L

Год выпуска двигателя: 2002

Цвет: Shadow Black Metallic

Номер на
рисунке
АртикулНаименованиеQTYКол-во
на складе
Цена
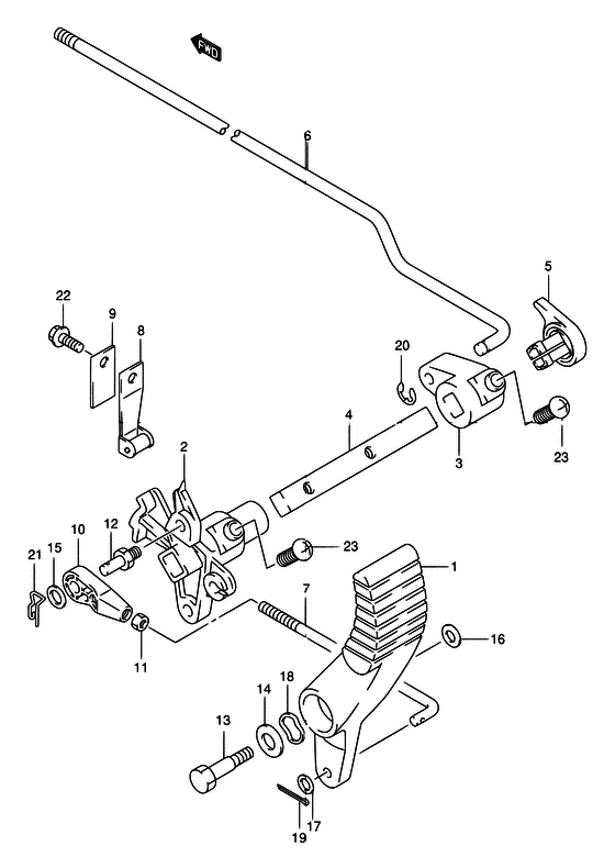
121111-89J00-000

Рычаг сцепления Переключатель - Lever, Clutch Shift (Рукоятка)

под заказ1650 руб.
121111-89J01-000

Рычаг, Fr Переключатель - Lever, Fr Shift (MODEL:07 # ) (Рукоятка)

под заказ1650 руб.
221120-89J00-000

Пластина в паз сцепления - Plate, Clutch Notch (Плата муфты)

под заказ1630 руб.
321210-89J00-000

Крышка вала сцепления Ctr - Arm, Clutch Shaft Ctr (Рычаг вала сцепления)

под заказ830 руб.
421211-89J00-000

Сцепление Вал - Shaft, Clutch (Вал сцепления)

под заказ2080 руб.
521221-89J00-000

Втулка рычага сцепления Вал - Bush, Clutch Lever Shaft (Втулка вала)

под заказ410 руб.
623111-89J00-000

Тяга сцепления (s) - Rod, Clutch (s) (Штанга муфты)

под заказ0 руб.
623111-89J10-000

Тяга сцепления (l) - Rod, Clutch (l) (Штанга муфты)

под заказ1980 руб.
723115-89J00-000

Переключающая тяга Рычаг - Link, Shift Lever (Сустав ручки)

под заказ1300 руб.
823213-89J00-000

Пружина пластины с пазом №1 - Spring, Notch Plate No1

под заказ690 руб.
823213-89J01-000

   (актуальный код замены) Пружина пластины с пазом №1 - Spring, Notch Plate No.1

под заказ690 руб.
823213-89J01-000

Пружина пластины с пазом №1 - Spring, Notch Plate No1 (Spring, notch plate no.1)

под заказ690 руб.
923214-89J00-000

Пружина пластины с пазом - Spring, Notch Plate (Пружина)

под заказ260 руб.
1067467-89J01-000

Коннектор - Connector (Переходник)

73 шт850 руб.
1167471-99E00-000

Гайка кабеля дистанционного управления - Nut, Remocon Cable (Nut, connector # ) (Гайка соединяющая)

под заказ320 руб.
1267473-89J00-000

Штифт коннектора - Pin, Connector (Штифт)

под заказ780 руб.
1309111-06069-000

Болт (6x28.8) - Bolt (6x288) (Bolt)

3 шт740 руб.
1409160-05029-000

Шайба (5.5x12x0.8) - Washer (55x12x08) (Washer # ) (Шайба)

14 шт130 руб.
1509160-06055-000

Шайба (7x12x1) - Washer (7x12x1) (Washer (7x12x1.0) # ) (Шайба)

67 шт130 руб.
1609160-06082-000

Шайба (6.5x13x1.0) - Washer (65x13x10) (Washer # ) (Шайба)

7 шт150 руб.
1709160-08082-000

Шайба (8.5x16x1.2) - Washer (85x16x12) (Шайба)

13 шт120 руб.
1809164-08017-000

Шайба - Washer (Washer, wave # ) (Шайба)

под заказ160 руб.
1909204-01002-000

Штифт - Pin (Cotter pin # ) (Стопор)

24 шт140 руб.
2009383-04002-000

Уплотнительное кольцо - E Ring (E ring)

18 шт80 руб.
2109385-06012-000

Зажим - Clip (Clip)

138 шт150 руб.
2201550-06127-000

Болт - Bolt (Bolt, rect # ) (Bolt)

10 шт180 руб.
2301550-06207-000

Болт - Bolt (Bolt # MODEL:07 # ) (Bolt (chrome))

17 шт220 руб.
2302142-06167-000

Винт - Screw (Screw # ) (Винт крестовый 6x16)

8 шт110 руб.


Время выполнения запроса 0.74028301239014 сек.

 
 

данный сайт носит информационный характер и не является публичной офертой

склад запчастей для водомоторной техники