|
 |
Раздел:
|
 |
Вернуться к выбору узлов мотора
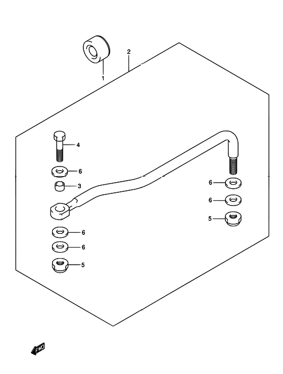
ДЕТАЛИРОВКА ДЛЯ МОДЕЛИ: SUZUKI DF30QR K2
Переключающая тяга
Год выпуска двигателя: 2002
Номер на рисунке | Артикул | Наименование | QTY | Кол-во на складе | Цена |
1 | 41161-94400-000 | Сальник рулевого кабеля - Seal, Steering Cable (Seal, steering cable # ) (Уплотение кабеля) | | 16 шт | 1530 руб. |
2 | 67701-89J20-000 | Рулевая тяга в сборе - Link Assy, Drag (<-7701-89J00 # ) (Тяга рулевого управления) | | 2 шт | 6960 руб. |
3 | 67721-89J00-000 | Проставка переключающей тяги - Spacer, Drag Link (Кольцо/шайба) | | под заказ | 1380 руб. |
4 | 67725-93E00-000 | Болт крепления рулевого кронштейна - Bolt, Strg Brkt Sub (Bolt, strg brkt sub atch # ) (Bolt) | | под заказ | 680 руб. |
5 | 67726-99E00-000 | Блокирующая гайка - Nut, Lock (Nut # ) (Гайка блокирующая) | | 4 шт | 800 руб. |
6 | 67728-99E00-000 | Шайба - Washer (Шайба) | | 4 шт | 260 руб. |
Время выполнения запроса 0.73562002182007 сек. |
|