Подобрать оригинальные запчасти на подвесной лодочный двигатель Сузуки DF30S/L; DF30RS/L; DF30QS/L; DF30TS/L модель 2004 года - Топливный насос - Fuel pump
вконтакте

Контактный телефон: +7 (981) 121-46-93, +7 (800) 200-90-76 , Email: parts-katalog@yandex.ru, где купить

 
 

  Логин:

Пароль:

Регистрация

www.partskatalog.ru Все каталоги Запчасти Mercury Запчасти Suzuki Запчасти Tohatsu Запчасти Honda Контакты



УВАЖАЕМЫЕ КЛИЕНТЫ!
C 19 ДЕКАБРЯ 2025 ПО 02 МАРТА 2026 ГОДА ОТДЕЛ ЗАПЧАСТЕЙ И СЕРВИС РАБОТАТЬ НЕ БУДУТ
ПРОДАЖА ЛОДОЧНЫХ МОТОРОВ В ШТАТНОМ РЕЖИМЕ
ОБ ИЗМЕНЕНИЯХ В ГРАФИКЕ РАБОТЫ ЧИТАЙТЕ НА САЙТА



назад Раздел:   вперёд

Вернуться к выбору узлов мотора


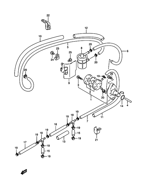
ДЕТАЛИРОВКА ДЛЯ МОДЕЛИ: SUZUKI DF30T K4

Топливный насос


Код модели двигателя: DF30S/L; DF30RS/L; DF30QS/L; DF30TS/L

Год выпуска двигателя: 2004

Цвет: Shadow Black Metallic

Номер на
рисунке
АртикулНаименованиеQTYКол-во
на складе
Цена
115100-89J00-000

Топливный насос, в сборе - Pump Assy, Fuel

под заказ24480 руб.
115100-89J02-000

   (актуальный код замены) Топливный насос, в сборе - Pump Assy, Fuel

1 шт24480 руб.
115100-89J01-000

Топливный насос, в сборе - Pump Assy, Fuel (Pump assy, fuel)

под заказ24480 руб.
115100-89J02-000

   (актуальный код замены) Топливный насос, в сборе - Pump Assy, Fuel

1 шт24480 руб.
215170-99E00-000

Диафрагма Set - Diaphragm Set

под заказ9220 руб.
215170-99E1V-000

   (актуальный код замены) Диафрагма Set - Diaphragm Set

2 шт9220 руб.
215170-99E1V-000

Диафрагма Set - Diaphragm Set (Комплект диафрагмы)

2 шт9220 руб.
315251-93E00-000

Винт - Screw

под заказ230 руб.
315251-93E01-000

   (актуальный код замены) Винт - Screw

под заказ230 руб.
415131-89J00-000

Тяга топливного насоса - Rod, Fuel Pump (Штанга топливного насоса)

под заказ590 руб.
515191-89J00-000

Топливный шланг - Hose, Fuel (Шланг топливный)

1 шт2140 руб.
515191-89J01-000

   (актуальный код замены) Топливный шланг - Hose, Fuel

под заказ2140 руб.
615192-89J00-000

Топливный шланг - Hose, Fuel (Шланг топливный)

под заказ780 руб.
715193-89J00-000

Топливный шланг - Hose, Fuel (Шланг топливный)

под заказ1110 руб.
715193-89J01-000

   (актуальный код замены) Топливный шланг - Hose, Fuel

под заказ1110 руб.
815410-87J10-000

Топливный фильтр - Filter, Fuel (Фильтр топливный)

29 шт1200 руб.
915420-89J00-000

Кронштейн топливного фильтра - Bracket, Fuel Filter (Кронштейн топливного фильтра)

под заказ1100 руб.
1018498-99E10-000

Защита топливного шланга (610) - Protector, Fuel Hose (610) (Protector, fuel hose # L:610->60 # ) (Протектор топливный)

под заказ1110 руб.
1018498-99E11-000

   (актуальный код замены) Защита топливного шланга (610) - Protector, Fuel Hose (610)

под заказ1110 руб.
1118498-89J10-000

Защита топливного шланга (12x15x180) - Protector, Fuel Hose (12x15x180) (Protector (pump to carb) # L:180 # ) (Protector (l:180))

под заказ490 руб.
1118498-89J11-000

   (актуальный код замены) Защита топливного шланга (12x15x180) - Protector, Fuel Hose (12x15x180)

под заказ490 руб.
1218498-99E10-000

Защита топливного шланга (610) - Protector, Fuel Hose (610) (Protector, fuel hose # L:610->80 # ) (Протектор топливный)

под заказ1110 руб.
1218498-99E11-000

   (актуальный код замены) Защита топливного шланга (610) - Protector, Fuel Hose (610)

под заказ1110 руб.
1318498-89J10-000

Защита топливного шланга (12x15x180) - Protector, Fuel Hose (12x15x180) (Protector (pump to carb) # L:180->0 DF25:~510310 DF30:~680095 # ) (Protector (l:180))

под заказ490 руб.
1318498-89J11-000

   (актуальный код замены) Защита топливного шланга (12x15x180) - Protector, Fuel Hose (12x15x180)

под заказ490 руб.
1409280-26005-000

Уплотнительное кольцо (d: 2.4, Id: 26.2) - O Ring (d:24, Id:262) (O ring (d:2.4, id:26.2) # ) (O ring (dd:2.4, id:26.2))

11 шт200 руб.
1509355-50105-600

Шланг (5x10x600) - Hose (5x10x600) (Hose, fuel (filter to pump) # L:600->5 # ) (Шланг топливный)

под заказ900 руб.
1509355-50002-600

   (актуальный код замены) Шланг (5x10x600) - Hose (5x10x600)

под заказ900 руб.
1609355-50105-600

Шланг (5x10x600) - Hose (5x10x600) (Hose, fuel (filter to pump) # L:600->0 # ) (Шланг топливный)

под заказ900 руб.
1609355-50002-600

   (актуальный код замены) Шланг (5x10x600) - Hose (5x10x600)

под заказ900 руб.
1709355-50105-600

Шланг (5x10x600) - Hose (5x10x600) (Hose, fuel (filter to pump) # L:600->10 # ) (Шланг топливный)

под заказ900 руб.
1709355-50002-600

   (актуальный код замены) Шланг (5x10x600) - Hose (5x10x600)

под заказ900 руб.
1809367-06007-000

Тройник - 3 Way (3 way (pump to carb) # ) (Joint)

10 шт320 руб.
1909401-09403-000

Зажим - Clip (Clip)

9 шт160 руб.
1917815-90J00-000

Зажим - Clip (MODEL:06, 07 # )

под заказ190 руб.
1909401-09404-000

   (актуальный код замены) Зажим - Clip

под заказ190 руб.
1909401-09404-000

Зажим - Clip (Clip)

под заказ190 руб.
2009401-11407-000

Зажим - Clip (Clip)

под заказ150 руб.
2017818-90J00-000

Зажим - Clip (MODEL:06, 07 # )

под заказ190 руб.
2009401-11423-000

   (актуальный код замены) Зажим - Clip

7 шт210 руб.
2009401-11423-000

Зажим - Clip (Clip)

7 шт210 руб.
2109403-11315-000

Струбцина - Clamp (Clamp, ptt sw lead wire # ) (Clamp)

под заказ350 руб.
2109403-11328-000

   (актуальный код замены) Струбцина, Ptt Sw Подводящий провод - Clamp, Ptt Sw Lead Wire

под заказ350 руб.
2209403-12317-000

Струбцина - Clamp (Clamp)

под заказ0 руб.
2309403-13408-000

Струбцина - Clamp (Clamp)

под заказ490 руб.
2309403-13413-000

   (актуальный код замены) Струбцина - Clamp

под заказ490 руб.
2401550-06107-000

Болт - Bolt (Bolt)

под заказ180 руб.
2501550-06127-000

Болт - Bolt (Bolt, rect # ) (Bolt)

10 шт180 руб.
2601550-06257-000

Болт - Bolt (Bolt)

под заказ180 руб.


Время выполнения запроса 2.2132558822632 сек.

 
 

данный сайт носит информационный характер и не является публичной офертой

склад запчастей для водомоторной техники