| |
 |
|
 |
Вернуться к выбору узлов мотора
ДЕТАЛИРОВКА ДЛЯ МОДЕЛИ: SUZUKI DF30TK7(E1) K7
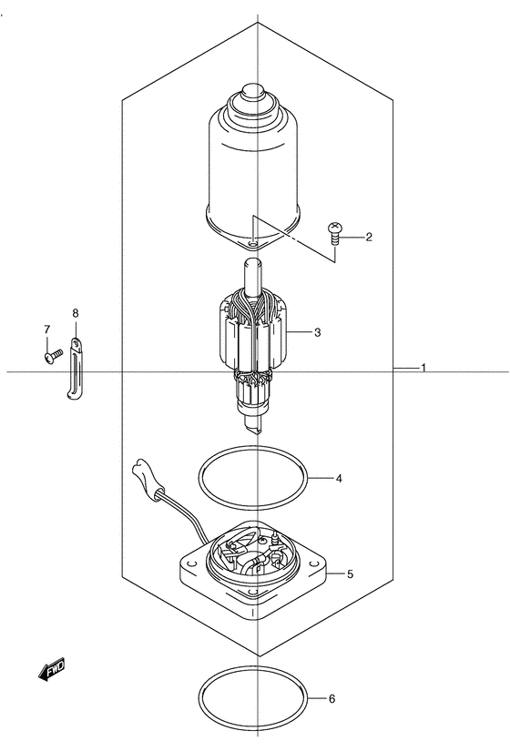
Двигатель гидроподъёма
Год выпуска двигателя: 2007
Номер на рисунке | Артикул | Наименование | QTY | Кол-во на складе | Цена |
| 1 | 38100-89J01-000 | Двигатель гидроподъёма лодочного мотора - Motor Assy, Ptt (Мотор) | | под заказ | 97920 руб. |
| 1 | 38100-89J10-000 | Двигатель гидроподъёма лодочного мотора - Motor Assy, Ptt (Df25:421019~, df30:421041~ # ) (Мотор) | | под заказ | 97920 руб. |
| 2 | 31111-89J00-000 | Винт - Screw (Болт) | | под заказ | 620 руб. |
| 3 | 31311-89J00-000 | Якорь - Armature (Отсутствующе) | | под заказ | 47520 руб. |
| 4 | 31123-89J00-000 | Уплотнительное кольцо - O Ring (O ring) | | под заказ | 1260 руб. |
| 5 | 31173-89J10-000 | Держатель, Щётка - Holder, Brush (Держатель щётка) | | под заказ | 0 руб. |
| 5 | 31173-89J20-000 | Держатель, Щётка - Holder, Brush (Df25:421019~, df30:421041~ # ) (Держатель щётка) | | под заказ | 0 руб. |
| 6 | 31123-89J10-000 | Уплотнительное кольцо - O Ring (O ring) | | под заказ | 1260 руб. |
| 7 | 09125-06063-000 | Винт (6x10) - Screw (6x10) (Screw (6x10) # Screw (6x10); # ) (Винт 6X10 (SUS)) | | 6 шт | 190 руб. |
| 8 | 09404-06432-000 | Струбцина (l: 65) - Clamp (l:65) (Clamp (l:80) # ) (Clamp (l:80)) | | 8 шт | 170 руб. |
| 8 | 09404-06039-000 | (актуальный код замены) Струбцина (l: 65) - Clamp (l:65) | | под заказ | 170 руб. |
Время выполнения запроса 0.97007179260254 сек. |
|