| |
 |
|
 |
Вернуться к выбору узлов мотора
ДЕТАЛИРОВКА ДЛЯ МОДЕЛИ: SUZUKI DF40ASTS FROM 04004F-310001~ (E34)
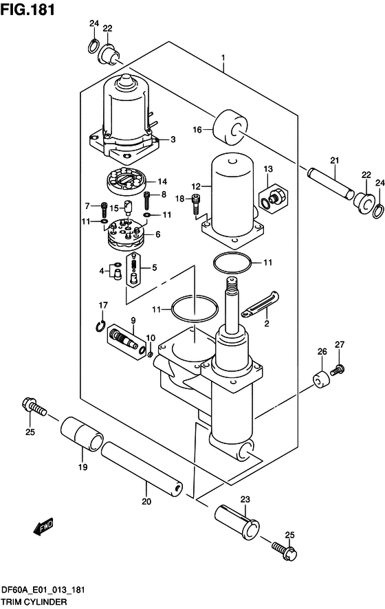
Цилиндр трима
Код модели двигателя: DF40ASTS/L
Год выпуска двигателя: 2013
Регион: Italy ,Код региона: P34
Цвет: Shadow Black Metallic
Номер на рисунке | Артикул | Наименование | QTY | Кол-во на складе | Цена |
| 1 | 48000-88L15-000 | Трим в сборе, система наклона двигателя - Trim Assy, Power With Tilt (Trim assy, power with tilt) | | под заказ | 225600 руб. |
| 1 | 48000-88L30-000 | (актуальный код замены) Трим в сборе, система наклона двигателя - Trim Assy, Power With Tilt | | под заказ | 225600 руб. |
| 2 | 29404-93J10-000 | Струбцина - Clamp (Clamp # ) (Струбцина переключателя) | | под заказ | 190 руб. |
| 2 | 29404-93J11-000 | (актуальный код замены) Струбцина - Clamp | | под заказ | 190 руб. |
| 3 | 38100-88L11-000 | Двигатель гидроподъёма лодочного мотора - Motor Assy, Ptt (Motor assy, ptt) | | под заказ | 73920 руб. |
| 3 | 38100-88L12-000 | (актуальный код замены) Двигатель гидроподъёма лодочного мотора - Motor Assy, Ptt | | под заказ | 73920 руб. |
| 4 | 48320-87J10-000 | Клапан, вышеr Pressure - Valve, Upr Pressure (Клапан прессуры) | | под заказ | 3360 руб. |
| 5 | 48330-87J10-000 | Клапан нижнего давления - Valve, Down Pressure (Клапан прессуры) | | под заказ | 2720 руб. |
| 6 | 48510-97E00-000 | Насос шестерни - Pump Assy, Gear (Pump assy, gear # ) (Насос) | | под заказ | 11480 руб. |
| 7 | 48541-87J10-000 | Болт - Bolt (Bolt) | | под заказ | 1280 руб. |
| 8 | 48541-87J20-000 | Болт - Bolt (Bolt) | | под заказ | 1350 руб. |
| 9 | 48551-88L00-000 | Ручной клапан - Valve, Manual (Valve, manual) | | под заказ | 8840 руб. |
| 10 | 48553-97E00-000 | Сальник, Шайба - Seal, Washer (Уплотнение) | | 1 шт | 790 руб. |
| 11 | 48557-87J10-000 | Набор уплотнительных колец - O Ring Set (O ring set) | | 5 шт | 1410 руб. |
| 12 | 48571-88L00-000 | Бак резервуара - Tank, Reservoir (Tank, reservoir) | | под заказ | 17910 руб. |
| 12 | 48571-88L01-000 | (актуальный код замены) Бак резервуара - Tank, Reservoir | | под заказ | 17910 руб. |
| 13 | 48572-87J10-000 | Заглушка - Plug (Plug) | | 2 шт | 2030 руб. |
| 14 | 48582-97E01-000 | Фильтр - Filter (Filter, pump # ) (Filter) | | под заказ | 1860 руб. |
| 15 | 48583-87J10-000 | Соединение привода - Joint, Drive (Соединение) | | 2 шт | 2020 руб. |
| 16 | 48611-88L00-000 | Металлический соединитель - Joint, Metal (Joint, metal) | | под заказ | 18530 руб. |
| 17 | 48681-87J10-000 | Стопорное кольцо - Circlip | | под заказ | 860 руб. |
| 17 | 48681-87J11-000 | (актуальный код замены) Стопорное кольцо - Circlip | | под заказ | 860 руб. |
| 17 | 48681-87J11-000 | Стопорное кольцо - Circlip (Circlip) | | под заказ | 860 руб. |
| 18 | 48862-87J20-000 | Болт резервуара - Bolt, Reservoir (Bolt, reservoir) | | 2 шт | 1350 руб. |
| 19 | 47225-88L00-000 | Воротник, Tilt Cyl нижний - Collar, Tilt Cyl Lower (Collar, tilt cyl lower) | | 1 шт | 400 руб. |
| 20 | 48121-88L00-000 | Вал наклона Цилиндр Lwr - Shaft, Tilt Cylinder Lwr (Shaft, tilt cyl lower) | | под заказ | 8930 руб. |
| 21 | 48321-89J11-000 | Вал наклона Цилиндр вышеr - Shaft, Tilt Cylinder Upr (Shaft, tilt cylinder upper) | | под заказ | 1700 руб. |
| 22 | 48325-89J00-000 | Втулка верхнего цилиндра наклона - Bush, Tilt Cyl Upper (Bush, tilt cyl upper # ) (Втулка верхнего цилиндра) | | 6 шт | 330 руб. |
| 23 | 48326-87J00-000 | Втулка снизу цилиндра наклона - Bush, Tilt Cylinder Lower (Втулка нижнего цилиндра) | | 6 шт | 870 руб. |
| 24 | 09380-12002-000 | Пружинное кольцо - Ring, Snap (Circlip # ) (Snap ring) | | 12 шт | 150 руб. |
| 25 | 09116-10174-000 | Болт (10x35) - Bolt (10x35) | | под заказ | 1000 руб. |
| 25 | 09116-10179-000 | (актуальный код замены) Болт (10x35) - Bolt (10x35) | | под заказ | 1000 руб. |
| 25 | 09116-10179-000 | Болт (10x35) - Bolt (10x35) (Bolt (10x35)) | | под заказ | 1000 руб. |
| 26 | 55321-87J00-000 | Защитный анод - Anode, Protection (Протекторная защита) | | 1 шт | 750 руб. |
| 26 | 55321-87J01-000 | (актуальный код замены) Защитный анод - Anode, Protection | | под заказ | 850 руб. |
| 26 | SMO-55321-87J01-000 | (не оригинальный аналог) Защитный анод SMO-55321-87J01-000 (оригинал) | | под заказ | 590 руб. |
| 26 | SMO-55321-87J01-000 | (аналог) Защитный анод SMO-55321-87J01-000 (оригинал) - код 55321-87J01-000 | | под заказ шт | 585 руб. |
| 27 | 09103-06281-000 | Болт (6x14) - Bolt (6x14) (Bolt, protection anode # ) (Bolt) | | 6 шт | 270 руб. |
Время выполнения запроса 1.0906081199646 сек. |
|