| |
 |
|
 |
Вернуться к выбору узлов мотора
ДЕТАЛИРОВКА ДЛЯ МОДЕЛИ: SUZUKI DF40ASTS FROM 04004F-310001~ (E34)
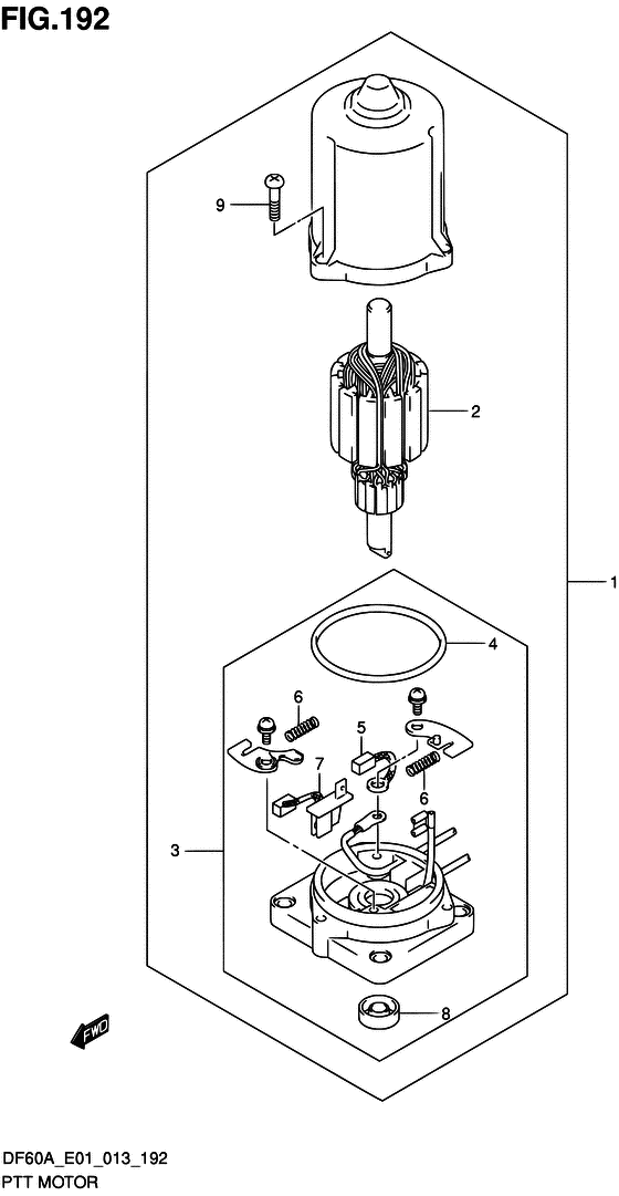
Двигатель гидроподъёма
Код модели двигателя: DF40ASTS/L
Год выпуска двигателя: 2013
Регион: Italy ,Код региона: P34
Цвет: Shadow Black Metallic
Номер на рисунке | Артикул | Наименование | QTY | Кол-во на складе | Цена |
| 1 | 38100-88L11-000 | Двигатель гидроподъёма лодочного мотора - Motor Assy, Ptt (Motor assy, ptt) | | под заказ | 73920 руб. |
| 1 | 38100-88L12-000 | (актуальный код замены) Двигатель гидроподъёма лодочного мотора - Motor Assy, Ptt | | под заказ | 73920 руб. |
| 2 | 31311-87J10-000 | Якорь - Armature (Отсутствующе) | | под заказ | 47520 руб. |
| 3 | 31173-88L11-000 | Держатель щетки - Holder Assy, Brush (Holder assy, brush) | | под заказ | 38640 руб. |
| 3 | 31173-88L12-000 | (актуальный код замены) Держатель щетки - Holder Assy, Brush | | под заказ | 38640 руб. |
| 4 | 31123-97E10-000 | Уплотнительное кольцо - O Ring (O ring) | | 3 шт | 1400 руб. |
| 5 | 31133-94900-000 | Щётка (+) - Brush (+) (Brush, plus # ) (Brush) | | под заказ | 1440 руб. |
| 5 | 31133-94910-000 | (актуальный код замены) Щётка (+) - Brush (+) | | 10 шт | 1590 руб. |
| 6 | 31135-94900-000 | Пружина - Spring (Пружина) | | 10 шт | 560 руб. |
| 7 | 31136-87J10-000 | Размыкатель - Breaker (Вакуумник карбюратора) | | под заказ | 7010 руб. |
| 7 | 31136-87J11-000 | (актуальный код замены) Размыкатель - Breaker | | 6 шт | 7650 руб. |
| 8 | 33799-97E00-000 | Сальник - Seal, Oil (Oil seal # ) (Сальник) | | 8 шт | 2550 руб. |
| 9 | 31111-87J10-000 | Винт - Screw (Болт) | | под заказ | 630 руб. |
Время выполнения запроса 0.70728087425232 сек. |
|