| |
 |
|
 |
Вернуться к выбору узлов мотора
ДЕТАЛИРОВКА ДЛЯ МОДЕЛИ: SUZUKI DF40ATL/DF40ATHL/DF40AQHL FROM 04003F-410001~ (E01)
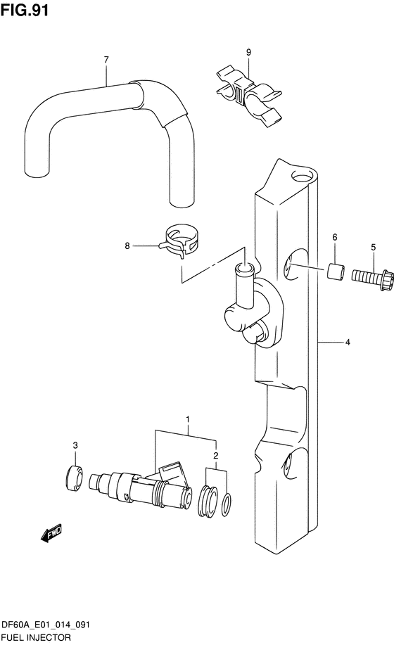
Топливный инжектор
Код модели двигателя: DF40AQHS/L; DF40ATS/L
Год выпуска двигателя: 2014
Регион: General Export No.1 ,Код региона: P01
Цвет: Shadow Black Metallic
Номер на рисунке | Артикул | Наименование | QTY | Кол-во на складе | Цена |
| 1 | 15710-85K00-000 | Топливный инжектор, в сборе - Injector Assy, Fuel (Injector assy, fuel) | | 5 шт | 19780 руб. |
| 2 | 15716-65DT0-000 | Пыльник топливного инжектора - Grommet Set, Fuel Injector (Набор втулок) | | 12 шт | 1880 руб. |
| 3 | 09320-08062-000 | Подушка - Cushion (Cushion) | | 34 шт | 1010 руб. |
| 4 | 15750-88L10-000 | Трубка подачи - Pipe, Delivery (Pipe, delivery) | | под заказ | 12100 руб. |
| 5 | 07120-06357-000 | Болт - Bolt (Bolt) | | под заказ | 260 руб. |
| 6 | 09180-06198-000 | Проставка (6.2x12x16) - Spacer (62x12x16) (Spacer (6.2x12x16)) | | под заказ | 270 руб. |
| 7 | 15681-88L10-000 | Топливный шланг (separator To Dlvy) - Hose, Fuel (separator To Dlvy) (Hose, fuel (separator to dlvy)) | | под заказ | 3410 руб. |
| 8 | 09401-11425-000 | Зажим - Clip (Clip) | | под заказ | 370 руб. |
| 9 | 09408-00174-000 | Струбцина - Clamp (Clamp) | | под заказ | 360 руб. |
Время выполнения запроса 0.80008482933044 сек. |
|