| |
 |
|
 |
Вернуться к выбору узлов мотора
ДЕТАЛИРОВКА ДЛЯ МОДЕЛИ: SUZUKI DF40AST FROM 04004F-410001~ (E34)
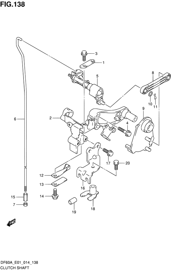
Сцепление Вал
Код модели двигателя: DF40ASTS/L
Год выпуска двигателя: 2014
Регион: Italy ,Код региона: P34
Цвет: Shadow Black Metallic
Номер на рисунке | Артикул | Наименование | QTY | Кол-во на складе | Цена |
| 1 | 21126-88L00-000 | Держатель вала сцепления - Holder, Clutch Shaft (Holder, clutch shaft) | | под заказ | 460 руб. |
| 2 | 21151-88L00-000 | Держатель рычага сцепления - Holder, Clutch Lever (Holder, clutch lever) | | под заказ | 6050 руб. |
| 3 | 01550-06167-000 | Болт - Bolt (Bolt) | | 9 шт | 210 руб. |
| 4 | 01550-06307-000 | Болт - Bolt (Bolt (chrome)) | | 8 шт | 250 руб. |
| 5 | 21210-88L00-000 | Сцепление Вал - Shaft, Clutch (Shaft, clutch) | | под заказ | 1660 руб. |
| 5 | 21210-88L01-000 | (актуальный код замены) Сцепление Вал - Shaft Comp, Clutch | | 3 шт | 1750 руб. |
| 6 | 23111-88L00-000 | Тяга сцепления (s) - Rod, Clutch (s) (W/TRANSOM (S) # ) (Rod, clutch (s)) | | под заказ | 1770 руб. |
| 6 | 23111-88L01-000 | (актуальный код замены) Тяга сцепления (s) - Rod, Clutch (s) | | 1 шт | 2450 руб. |
| 6 | 23111-88L10-000 | Тяга сцепления (l / x) - Rod, Clutch (l/x) (W/TRANSOM (L) # ) (Rod, clutch (l, x)) | | под заказ | 2000 руб. |
| 6 | 23111-88L11-000 | (актуальный код замены) Тяга сцепления (l / x) - Rod, Clutch (l/x) | | под заказ | 2000 руб. |
| 7 | 29141-93J00-000 | Гайка - Nut (Гайка) | | 18 шт | 480 руб. |
| 8 | 23115-88L00-000 | Тяга рычага сцепления - Link, Clutch Lever (Link, clutch lever) | | под заказ | 640 руб. |
| 9 | 23210-88L00-000 | Рычаг управления сцеплением - Lever, Clutch Control (Lever, clutch control) | | под заказ | 2160 руб. |
| 10 | 09160-06055-000 | Шайба (7x12x1) - Washer (7x12x1) (Washer (7x12x1.0) # ) (Шайба) | | 67 шт | 130 руб. |
| 11 | 09385-06012-000 | Зажим - Clip (Clip) | | 138 шт | 150 руб. |
| 12 | 23213-89J01-000 | Пружина пластины с пазом №1 - Spring, Notch Plate No1 (Spring, notch plate no.1) | | под заказ | 690 руб. |
| 13 | 23214-89J00-000 | Пружина пластины с пазом - Spring, Notch Plate (Пружина) | | под заказ | 260 руб. |
| 14 | 01550-06127-000 | Болт - Bolt (Bolt, rect # ) (Bolt) | | 10 шт | 180 руб. |
| 15 | 23311-95J00-000 | Коннектор тяги сцепления - Connector, Clutch Rod (Соединение штифта муфты) | | 8 шт | 840 руб. |
| 16 | 67341-88L01-000 | Держатель кабеля дистанционного управления - Holder, Remocon Cable (Holder, r/con cable) | | под заказ | 1430 руб. |
| 17 | 01550-06167-000 | Болт - Bolt (Bolt) | | 9 шт | 210 руб. |
| 18 | 67343-88L01-000 | Стопор кабеля дистанционного управления - Stopper, Remocon Cable (Stopper, r/con cable) | | под заказ | 3270 руб. |
| 19 | 09352-70103-600 | Шланг (7x10.2x600) - Hose (7x102x600) (Cushion, r/con cable stopper # L:600->14 # ) (Валик кабеля дистанционного управления) | | под заказ | 570 руб. |
| 19 | 09352-70104-600 | (актуальный код замены) Шланг (7x10.2x600) - Hose (7x10.2x600) | | 4 шт | 570 руб. |
| 20 | 01570-06167-000 | Болт - Bolt (Bolt) | | под заказ | 190 руб. |
Время выполнения запроса 0.95556020736694 сек. |
|