| |
 |
|
 |
Вернуться к выбору узлов мотора
ДЕТАЛИРОВКА ДЛЯ МОДЕЛИ: SUZUKI DF40TY(X/Y) Y
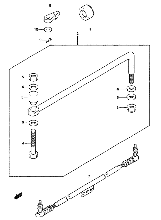
Переключающая тяга
Год выпуска двигателя: 2000
Номер на рисунке | Артикул | Наименование | QTY | Кол-во на складе | Цена |
| 1 | 41161-94400-000 | Сальник рулевого кабеля - Seal, Steering Cable (Seal, steering cable # ) (Уплотение кабеля) | | 16 шт | 1530 руб. |
| 2 | 67701-99E20-000 | Рулевая тяга в сборе - Link Assy, Drag | | под заказ | 8930 руб. |
| 2 | 67701-87J11-000 | (актуальный код замены) Рулевая тяга в сборе - Link Assy, Drag | | 3 шт | 8930 руб. |
| 2 | 67701-87J11-000 | Рулевая тяга в сборе - Link Assy, Drag (Link assy, drag # ) (Рулевая тяга) | | 3 шт | 8930 руб. |
| 3 | 67721-99E00-000 | Проставка - Spacer (Кольцо/шайба) | | под заказ | 1110 руб. |
| 4 | 67725-99E00-000 | Болт переключающей тяги - Bolt, Drag Link (Болт соединяющий) | | 4 шт | 850 руб. |
| 5 | 67726-99E00-000 | Блокирующая гайка - Nut, Lock (Гайка блокирующая) | | 4 шт | 800 руб. |
| 6 | 67728-99E00-000 | Шайба - Washer (Шайба) | | 4 шт | 260 руб. |
| 7 | 67600-95200-000 | Запчасть снята с производства - The Spare Part Is Laid Off (Opt model:99 # ) | | под заказ | 0 руб. |
| 8 | 67467-99E00-000 | Коннектор - Connector | | под заказ | 770 руб. |
| 8 | 67467-89J01-000 | (актуальный код замены) Коннектор - Connector | | 73 шт | 850 руб. |
| 8 | 67467-89J01-000 | Коннектор - Connector (Переходник) | | 73 шт | 850 руб. |
| 9 | 09385-06012-000 | Зажим - Clip (Clip) | | 138 шт | 150 руб. |
| 10 | 09160-06055-000 | Шайба (7x12x1) - Washer (7x12x1) (Washer (7x12x1.0) # Washer (7x12x1.0); # ) (Шайба) | | 67 шт | 130 руб. |
Время выполнения запроса 0.86839914321899 сек. |
|