Купить комплектующие на подвесной двигатель Сузуки DF40QHS/L; DF40TS/L - Cylinder head / Головка блока цилиндра
вконтакте

Контактный телефон: +7 (981) 121-46-93, +7 (800) 200-90-76 , Email: parts-katalog@yandex.ru, где купить

 
 

  Логин:

Пароль:

Регистрация

www.partskatalog.ru Все каталоги Запчасти Mercury Запчасти Suzuki Запчасти Tohatsu Запчасти Honda Контакты



УВАЖАЕМЫЕ КЛИЕНТЫ!
C 19 ДЕКАБРЯ 2025 ПО 02 МАРТА 2026 ГОДА ОТДЕЛ ЗАПЧАСТЕЙ И СЕРВИС РАБОТАТЬ НЕ БУДУТ
ПРОДАЖА ЛОДОЧНЫХ МОТОРОВ В ШТАТНОМ РЕЖИМЕ
ОБ ИЗМЕНЕНИЯХ В ГРАФИКЕ РАБОТЫ ЧИТАЙТЕ НА САЙТА



назад Раздел:   вперёд

Вернуться к выбору узлов мотора


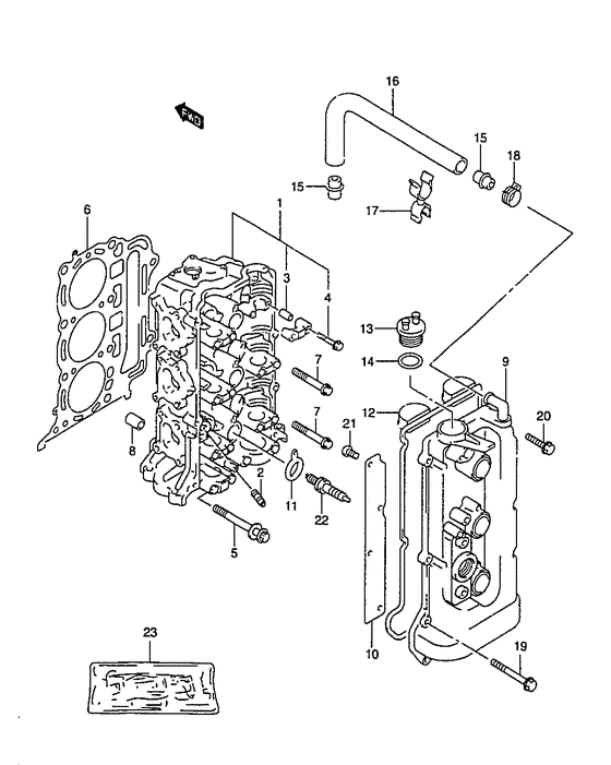
ДЕТАЛИРОВКА ДЛЯ МОДЕЛИ: SUZUKI DF400QHLY(X/Y) Y

Головка блока цилиндра


Код модели двигателя: DF40QHS/L; DF40TS/L

Год выпуска двигателя: 2000

Регион: General Export No.1 ,Код региона: P01

Цвет: Shadow Black Metallic

Номер на
рисунке
АртикулНаименованиеQTYКол-во
на складе
Цена
111100-87J01-019

(Head, cylinder (black); # )

под заказ0 руб.
101550-08207-000

Болт - Bolt (Bolt)

10 шт240 руб.
109128-06021-000

Болт (6x14) - Bolt (6x14) (Bolt (6x14))

под заказ200 руб.
109280-22019-000

Уплотнительное кольцо (d: 1.9, Id: 21.8) - O Ring (d:19, Id:218) (Кольцо уплотнительное)

16 шт210 руб.
1SK09280-22019

   (не оригинальный аналог) Кольцо уплотнительное головки блока цилиндров Skipper для Suzuki Модели техники: 4-stroke 8-350HP

0 шт64 руб.
111100-87J23-019

Головка блока цилиндра - Head Assy, Cylinder (Head assy, cylinder)

под заказ0 руб.
111261-93J00-000

Крышка защитного анода - Cover, Protection Anode (Крышка протектора)

под заказ1600 руб.
155321-87J00-000

Защитный анод - Anode, Protection (Протекторная защита)

1 шт750 руб.
155321-87J01-000

   (актуальный код замены) Защитный анод - Anode, Protection

под заказ850 руб.
1SMO-55321-87J01-000

   (не оригинальный аналог) Защитный анод SMO-55321-87J01-000 (оригинал)

под заказ590 руб.
1SMO-55321-87J01-000

  (аналог) Защитный анод SMO-55321-87J01-000 (оригинал) - код 55321-87J01-000

 под заказ шт585 руб.
211115-73G00-001

Направляющая клапана - Guide, Valve

под заказ2520 руб.
211115-73G01-001

   (актуальный код замены) Направляющая клапана - Guide, Valve

под заказ2750 руб.
211115-73G01-001

Направляющая клапана - Guide, Valve (Направляющая клапана)

под заказ2750 руб.
309206-08001-000

Штифт (6.2x8x11) - Pin (62x8x11) (Стопор)

9 шт130 руб.
411128-87J00-000

Болт распредвала Корпус 6x36 - Bolt, Camshaft Housing 6x36 (Bolt, camshaft hsg # Bolt, camshaft hsg; # ) (Болт распределительного вала)

под заказ0 руб.
511119-87J00-000

Болты головки цилиндра - Bolt, Cylinder Head (Bolt, cylinder head # ) (Болт головки цилиндров)

под заказ700 руб.
611141-87J00-000

Прокладка головки блока цилиндра - Gasket, Cyl Head

под заказ8600 руб.
611141-87J02-000

   (актуальный код замены) Прокладка головки блока цилиндра - Gasket, Cyl Head

19 шт9750 руб.
6SMO-11141-87J02-000

   (не оригинальный аналог) Прокладка SMO-11141-87J02-000 головки блока цилиндра (вскрыта упаковка) - оригинал Suzuki

под заказ6000 руб.
611141-87J02-000

Прокладка головки блока цилиндра - Gasket, Cyl Head (Прокладка головки цилиндров)

19 шт9750 руб.
711116-87J10-000

Запчасть снята с производства - The Spare Part Is Laid Off

под заказ0 руб.
804211-13189-000

Штифт - Pin (Pin, dowel; # ) (Pin)

под заказ200 руб.
911170-87J00-019

Крышка головки цилиндра - Cover, Cylinder Head (Cover, cylinder head (black) # Cover, cylinder head (black); # ) (Крышка цилиндра)

под заказ0 руб.
1011173-87J01-000

Пластина сапуна - Plate, Breather (Плата сапуна)

под заказ850 руб.
1111179-73G00-000

Прокладка отверстия свечи зажигания - Gasket, Spark Plug Hole (Gasket, spark plug hole # ) (Прокладка)

45 шт1260 руб.
1211189-87J00-000

Прокладка крышки головки блока цилиндра - Gasket, Cyl Head Cover (Gasket, cylinder head cover # ) (Прокладка цилиндра)

10 шт3710 руб.
1311382-99E00-000

Колпачок масляного фильтра - Cap, Oil Filler (Cap, oil filler; # ) (Крышка масляного бака)

10 шт1110 руб.
1409280-26006-000

Уплотнительное кольцо (d: 3.1, Id: 26.4) - O Ring (d:31, Id:264) (O ring (d:3.1 id:26.4); # ) (Кольцо уплотнительное)

2 шт220 руб.
1511176-87J00-000

Jet, Сапун шланга - Jet, Breather Hose (Jet, breather hose # ) (Жиклер)

под заказ600 руб.
1611174-87J00-000

Шланг Set, Сапун - Hose Set, Breather

под заказ3000 руб.
1611174-99800-000

   (актуальный код замены) Шланг Set, Сапун - Hose Set, Breather

под заказ3000 руб.
1611174-99800-000

Шланг Set, Сапун - Hose Set, Breather (Hose set, breather)

под заказ3000 руб.
1709408-00140-000

Струбцина - Clamp (Clamp # ) (Clip)

под заказ390 руб.
1809401-20404-000

Зажим - Clip

под заказ260 руб.
1809401-20406-000

   (актуальный код замены) Зажим - Clip

под заказ260 руб.
1809401-20406-000

Зажим - Clip (Clip)

под заказ260 руб.
1901547-06257-000

Болт - Bolt (Bolt (6x25))

под заказ160 руб.
2001547-06457-000

Болт - Bolt (Bolt (6x45))

под заказ180 руб.
2102142-06123-000

Винт - Screw

под заказ130 руб.
2102142-0612B-000

   (актуальный код замены) Винт - Screw

под заказ130 руб.
2102142-0612B-000

Винт - Screw (Винт)

под заказ130 руб.
2209482-00446-000

Свеча зажигания (ngk Dcpr6e) - Plug, Spark (ngk Dcpr6e) (Spark plug (ngk dcpr6e); # ) (Свеча зажигания)

101 шт1480 руб.
2311400-87800-000

Комплект прокладок - Gasket Set

под заказ15270 руб.
2311400-87805-000

   (актуальный код замены) Комплект прокладок - Gasket Set

6 шт18430 руб.
2311400-87804-000

Комплект прокладок - Gasket Set (Gasket set)

под заказ15270 руб.
2311400-87805-000

   (актуальный код замены) Комплект прокладок - Gasket Set

6 шт18430 руб.


Время выполнения запроса 2.0931239128113 сек.

 
 

данный сайт носит информационный характер и не является публичной офертой

склад запчастей для водомоторной техники