Подобрать оригинальные запчасти на лодочный мотор Сузуки модель 2003 года - Отделитель паров топлива / Fuel vapor separator
вконтакте

Контактный телефон: +7 (981) 121-46-93, +7 (800) 200-90-76 , Email: parts-katalog@yandex.ru, где купить

 
 

  Логин:

Пароль:

Регистрация

www.partskatalog.ru Все каталоги Запчасти Mercury Запчасти Suzuki Запчасти Tohatsu Запчасти Honda Контакты



УВАЖАЕМЫЕ КЛИЕНТЫ!
C 19 ДЕКАБРЯ 2025 ПО 02 МАРТА 2026 ГОДА ОТДЕЛ ЗАПЧАСТЕЙ И СЕРВИС РАБОТАТЬ НЕ БУДУТ
ПРОДАЖА ЛОДОЧНЫХ МОТОРОВ В ШТАТНОМ РЕЖИМЕ
ОБ ИЗМЕНЕНИЯХ В ГРАФИКЕ РАБОТЫ ЧИТАЙТЕ НА САЙТА



назад Раздел:   вперёд

Вернуться к выбору узлов мотора


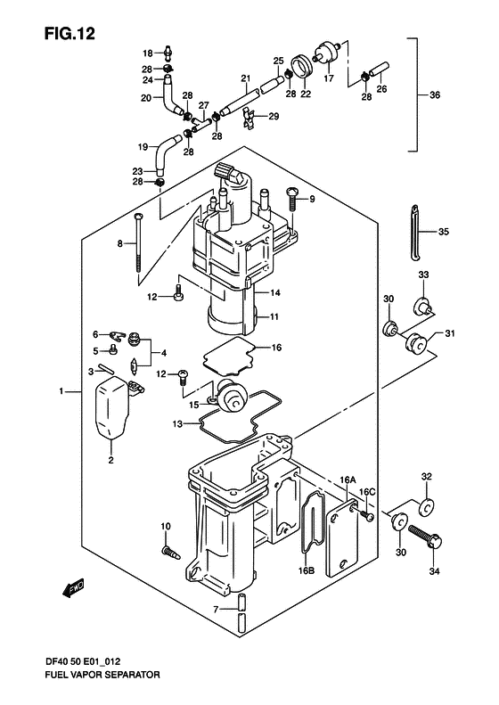
ДЕТАЛИРОВКА ДЛЯ МОДЕЛИ: SUZUKI DF40QHL K3

Отделитель паров топлива


Год выпуска двигателя: 2003

Номер на
рисунке
АртикулНаименованиеQTYКол-во
на складе
Цена
115600-87J01-000

Сепаратор-отделитель паров топлива, в сборе - Separator Assy, Fuel Vapor (MODEL:00 # )

под заказ118080 руб.
115600-87J13-000

   (актуальный код замены) Сепаратор-отделитель паров топлива, в сборе - Separator Assy, Fuel Vapor

под заказ118080 руб.
115600-87J12-000

Сепаратор-отделитель паров топлива, в сборе - Separator Assy, Fuel Vapor (Separator assy, fuel vapor)

под заказ118080 руб.
115600-87J13-000

   (актуальный код замены) Сепаратор-отделитель паров топлива, в сборе - Separator Assy, Fuel Vapor

под заказ118080 руб.
115600-87J11-000

Сепаратор-отделитель паров топлива, в сборе - Separator Assy, Fuel Vapor (MODEL:01~10 # )

под заказ118080 руб.
115600-87J13-000

   (актуальный код замены) Сепаратор-отделитель паров топлива, в сборе - Separator Assy, Fuel Vapor

под заказ118080 руб.
215650-99E00-000

Поплавок - Float (Поплавок)

под заказ6870 руб.
315654-99E00-000

Штифт - Pin (Pin)

под заказ240 руб.
413370-99E00-000

Игольчатый клапан, в сборе - Valve Assy, Needle (WITH VALVE SEAT # ) (Клапан)

3 шт6540 руб.
502112-0408A-000

Винт - Screw (Болт)

под заказ90 руб.
613373-39110-000

Пластина - Plate (Плата клапана)

под заказ520 руб.
715683-87J00-000

Шланг - Hose (Hose, drain # ) (Hose)

под заказ330 руб.
815627-99E00-000

Винт (l: 70) - Screw (l:70) (Screw (l:70))

под заказ660 руб.
915628-99E00-000

Винт (l: 15) - Screw (l:15) (Screw (l:15))

под заказ240 руб.
1015629-99E10-000

Винт дренажный - Screw, Drain (Винт дренажный)

под заказ550 руб.
1115641-99E00-000

Фильтр топливного насоса - Filter, Fuel Pump (Filter, fuel pump # ) (Фильтр топливный)

под заказ3580 руб.
1115641-99E01-000

   (актуальный код замены) Фильтр топливного насоса - Filter, Fuel Pump

1 шт3580 руб.
1202112-0510A-000

Винт - Screw (Болт)

под заказ120 руб.
1315626-99E00-000

Уплотнительное кольцо - O Ring (O ring # ) (Прокладка)

1 шт2110 руб.
1415200-87J10-000

Топливный насос, в сборе - Pump Assy, Fuel (Pump, fuel # <-15200-87J00 # ) (Насос)

3 шт63980 руб.
1515760-87J00-000

Регулятор - Regulator (Регулятор)

под заказ28560 руб.
1615642-87J00-000

Пластина - Plate (Plate)

под заказ1090 руб.
1615612-99E00-000

Крышка пароотделителя - Cover, Vapor Separator

под заказ1680 руб.
1615612-99E01-000

   (актуальный код замены) Крышка пароотделителя - Cover, Vapor Separator

под заказ1680 руб.
1615612-99E01-000

Крышка пароотделителя - Cover, Vapor Separator (Cover, vapor separator)

под заказ1680 руб.
1615613-99E00-000

Уплотнительное кольцо, Пароотделитель Крышка - O Ring, Vapor Separator Cover (O ring)

под заказ620 руб.
1615614-99E00-000

Винт - Screw

под заказ430 руб.
1615614-88L00-000

   (актуальный код замены) Винт - Screw

под заказ430 руб.
1615614-88L00-000

Винт - Screw (Болт)

под заказ430 руб.
1715410-98500-000

Топливный фильтр - Filter, Fuel (Filter assy, fuel # ) (Фильтр топливный)

40 шт1600 руб.
1715410-98500

   (не оригинальный аналог) Топливный фильтр Suzuki 15410-98500

под заказ590 руб.
1815661-87J01-000

Jet, Evaporation Шланг - Jet, Evaporation Hose (Jet, evaporation hose # ) (Жиклер)

под заказ720 руб.
1918498-87JC0-000

Защита шланга (9.5x11.5x450) - Protector, Hose (95x115x450) (Protector, evap hose (9.5x11.5x450) # L:450->110 # ) (Протектор)

1 шт650 руб.
1918498-87JC1-000

   (актуальный код замены) Защита шланга (9.5x11.5x450) - Protector, Hose (9.5x11.5x450)

под заказ650 руб.
2018498-87JC0-000

Защита шланга (9.5x11.5x450) - Protector, Hose (95x115x450) (Protector, evap hose (9.5x11.5x450) # L:450->200 # ) (Протектор)

1 шт650 руб.
2018498-87JC1-000

   (актуальный код замены) Защита шланга (9.5x11.5x450) - Protector, Hose (9.5x11.5x450)

под заказ650 руб.
2118498-87JC0-000

Защита шланга (9.5x11.5x450) - Protector, Hose (95x115x450) (Protector, evap hose (9.5x11.5x450) # ) (Протектор)

1 шт650 руб.
2118498-87JC1-000

   (актуальный код замены) Защита шланга (9.5x11.5x450) - Protector, Hose (9.5x11.5x450)

под заказ650 руб.
2209320-20008-000

Подушка - Cushion (Cushion filter # ) (Cushion)

под заказ290 руб.
2309352-50823-600

Шланг (5x8.2x600) - Hose (5x82x600) (Hose, evapotation (5.0x8.2x600) # L:600->160 # ) (Hose (5x8.2x600))

под заказ640 руб.
2309352-50005-600

   (актуальный код замены) Шланг (5x8.2x600) - Hose (5x8.2x600)

под заказ640 руб.
2409352-50823-600

Шланг (5x8.2x600) - Hose (5x82x600) (Hose, evapotation (5.0x8.2x600) # L:600->250 # ) (Hose (5x8.2x600))

под заказ640 руб.
2409352-50005-600

   (актуальный код замены) Шланг (5x8.2x600) - Hose (5x8.2x600)

под заказ640 руб.
2509352-50823-600

Шланг (5x8.2x600) - Hose (5x82x600) (Hose, evapotation (5.0x8.2x600) # L:600->510 # ) (Hose (5x8.2x600))

под заказ640 руб.
2509352-50005-600

   (актуальный код замены) Шланг (5x8.2x600) - Hose (5x8.2x600)

под заказ640 руб.
2609359-40701-600

Шланг (4x7x600) - Hose (4x7x600) (L:600->120 # ) (Шланг 4X7X600)

под заказ920 руб.
2609359-40703-600

   (актуальный код замены) Шланг (4x7x600) - Hose (4x7x600)

под заказ920 руб.
2709367-06002-000

Соединитель тройника - Joint, 3 Way (3 way # ) (Соединение 3-х стороннее)

под заказ220 руб.
2809401-08412-000

Зажим - Clip (Clip)

под заказ190 руб.
2909408-00189-000

Струбцина - Clamp (Clamp)

под заказ310 руб.
3009169-06067-000

Шайба - Washer (DF40:~422684 DF50:~424593 # ) (Шайба)

10 шт240 руб.
3109320-09039-000

Подушка - Cushion (Cushion, silencer cover # ) (Валик)

8 шт320 руб.
3109320-09059-000

   (актуальный код замены) Подушка (9x18x14) - Cushion (9x18x14)

под заказ320 руб.
3209160-06084-000

Шайба (6.5x18x1.6) - Washer (65x18x16) (DF40:422685~MODEL:05 DF50:424594~MODEL:05 # ) (Шайба 6.5X18X1)

7 шт130 руб.
3309169-06075-000

Шайба - Washer (DF40:422685~ DF50:424594~ # ) (Шайба)

под заказ240 руб.
3401550-06257-000

Болт - Bolt (Bolt)

под заказ180 руб.
3409116-06202-000

Болт (6x25) - Bolt (6x25) (Bolt (w/washer) # MODEL:06~10 # ) (Болт (шайба))

под заказ250 руб.
3509404-06435-000

Струбцина (l: 135) - Clamp (l:135) (Clamp (l:135))

под заказ230 руб.
3615660-87J00-000

Шланг Set, Evaporation - Hose Set, Evaporation (OPT REF.NO.17~29 # ) (Комплект шланга)

под заказ7200 руб.
3615660-87J01-000

   (актуальный код замены) Шланг Set, Evaporation - Hose Set, Evaporation

под заказ7200 руб.


Время выполнения запроса 1.6130809783936 сек.

 
 

данный сайт носит информационный характер и не является публичной офертой

склад запчастей для водомоторной техники