Подобрать оригинальные запчасти на мотор Suzuki модель 2008 года - Swivel bracket
вконтакте

Контактный телефон: +7 (981) 121-46-93, +7 (800) 200-90-76 , Email: parts-katalog@yandex.ru, где купить

 
 

  Логин:

Пароль:

Регистрация

www.partskatalog.ru Все каталоги Запчасти Mercury Запчасти Suzuki Запчасти Tohatsu Запчасти Honda Контакты



УВАЖАЕМЫЕ КЛИЕНТЫ!
C 19 ДЕКАБРЯ 2025 ПО 02 МАРТА 2026 ГОДА ОТДЕЛ ЗАПЧАСТЕЙ И СЕРВИС РАБОТАТЬ НЕ БУДУТ
ПРОДАЖА ЛОДОЧНЫХ МОТОРОВ В ШТАТНОМ РЕЖИМЕ
ОБ ИЗМЕНЕНИЯХ В ГРАФИКЕ РАБОТЫ ЧИТАЙТЕ НА САЙТА



назад Раздел:   вперёд

Вернуться к выбору узлов мотора


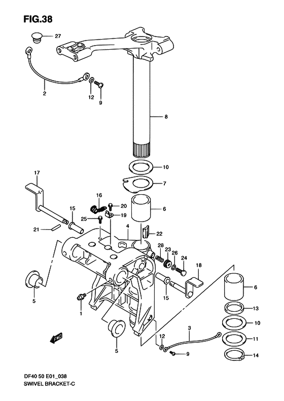
ДЕТАЛИРОВКА ДЛЯ МОДЕЛИ: SUZUKI DF40QHL K8

Поворотный кронштейн


Год выпуска двигателя: 2008

Номер на
рисунке
АртикулНаименованиеQTYКол-во
на складе
Цена
122511-99011-000

Ниппель смазки - Nipple, Grease (Ниппель)

9 шт400 руб.
236894-95201-000

Lead (l: 165) - Lead (l:165) (Провод)

под заказ1170 руб.
336895-87D10-000

Lead (l: 310) - Lead (l:310) (Lead (swivel to hsg) # ) (Провод)

2 шт1300 руб.
443111-89J25-0EP

Поворотный кронштейн - Bracket, Swivel (TYPE:L, X # ) (Кронштейн шарнирный)

под заказ63360 руб.
443111-89J34-0EP

Поворотный кронштейн - Bracket, Swivel (TYPE:S # ) (Кронштейн шарнирный)

под заказ60000 руб.
543211-87J00-000

Втулка поворотного кронштейна - Bush, Swivel Bracket (DF40:422640~ DF50:424410~ # ) (Втулка шарнирного соединения)

10 шт1020 руб.
543211-94401-000

Втулка поворотного кронштейна - Bush, Swivel Bracket

под заказ1450 руб.
543211-87JL0-000

   (актуальный код замены) Втулка поворотного кронштейна - Bush, Swivel Bracket

8 шт1770 руб.
543211-87JL0-000

Втулка поворотного кронштейна - Bush, Swivel Bracket (Bush, swivel bracket)

8 шт1770 руб.
5SK43211-87JL0

   (не оригинальный аналог) Втулка поворотного механизма Skipper для Suzuki DT9,9-15/ DF9,9-DF30a

0 шт148 руб.
643711-89J10-000

Втулка рулевой системы - Bush, Steering (<-43711-89J00 # ) (Втулка управления)

23 шт1430 руб.
743721-89J00-000

Пластина рулевого управления вышеr - Plate, Steering Upr (Плата верхняя)

под заказ700 руб.
843750-87J01-0EP

Кронштейн рулевого управления, L - Bracket, Steering, L (TYPE:L, X # )

под заказ0 руб.
843750-87J02-0EP

   (актуальный код замены) Запчасть снята с производства - The Spare Part Is Laid Off

под заказ0 руб.
843750-87J02-0EP

Кронштейн рулевого управления, L - Bracket, Steering, L (Bracket, steering, l)

под заказ0 руб.
843750-87J11-0EP

Кронштейн рулевого управления - Bracket, Steering (Bracket, steering (black) # TYPE:S # ) (Кронштейн управления)

под заказ0 руб.
843750-87J12-0EP

   (актуальный код замены) Запчасть снята с производства - The Spare Part Is Laid Off

под заказ0 руб.
843750-87J20-0EP

Кронштейн рулевого управления - Bracket, Steering (TYPE:L, X MODEL:05~10 # )

под заказ57120 руб.
843750-87J40-0EP

   (актуальный код замены) Кронштейн рулевого управления - Bracket, Steering

под заказ57120 руб.
843750-87J40-0EP

Кронштейн рулевого управления - Bracket, Steering (Bracket, steering (l) (black))

под заказ57120 руб.
843750-87J30-0EP

Кронштейн рулевого управления - Bracket, Steering (TYPE:S MODEL:05~10 # ) (Кронштейн управления (чёрный))

под заказ0 руб.
929125-93J10-000

Винт - Screw (Screw (5x8) # <-09125-05050 # ) (Болт)

под заказ150 руб.
909125-05050-000

   (актуальный код замены) Винт (5x8) - Screw (5x8)

под заказ150 руб.
1009160-39002-000

Шайба (39.5x58x1) - Washer (395x58x1) (Шайба)

27 шт390 руб.
1109160-39003-000

Шайба (39.5x58x0.3) - Washer (395x58x03) (Шайба)

8 шт390 руб.
1209161-05114-000

Шайба (5.2x11x1) - Washer (52x11x1) (Washer (5.2x11.0x1.0) # ~MODEL:01 # ) (Шайба)

под заказ290 руб.
1309282-39001-000

Сальник (39x51x5) - Seal, Oil (39x51x5) (Seal, oil # ) (Сальник 39X51X)

22 шт690 руб.
1409380-38003-000

Стопорное кольцо - Circlip (Circlip)

5 шт600 руб.
1541226-97E00-000

Втулка рычаша блокировки наклона - Bush, Tilt Lock Lever (Bush, tilt lock lever # ) (Втулка ручки блокировки)

2 шт490 руб.
1641230-97E10-000

Пружина фиксатора наклона - Spring, Tilt Lock (Spring, tilt lock # ) (Пружина)

под заказ2280 руб.
1741270-89J00-000

Набор рычагов, Tilt Lock - Lever Set, Tilt Lock (->41200-89800 # )

под заказ0 руб.
1741200-89802-000

   (актуальный код замены) Запчасть снята с производства - The Spare Part Is Laid Off

под заказ0 руб.
1741200-89802-000

Набор рычагов, Tilt Lock - Lever Set, Tilt Lock (Lever set, tilt lock)

под заказ0 руб.
1741270-89J01-000

Правый рычаг блокировки наклона - Lever, Tilt Lock Stbd (DF40:151239~ DF50:151546~ # )

под заказ4850 руб.
1741270-89J04-000

   (актуальный код замены) Правый рычаг блокировки наклона - Lever, Tilt Lock Stbd

под заказ4850 руб.
1741270-89J04-000

Правый рычаг блокировки наклона - Lever, Tilt Lock Stbd (Lever, tilt lock stbd)

под заказ4850 руб.
1741270-89J03-000

Правый рычаг блокировки наклона - Lever, Tilt Lock Stbd (MODEL:10 # )

под заказ4850 руб.
1741270-89J04-000

   (актуальный код замены) Правый рычаг блокировки наклона - Lever, Tilt Lock Stbd

под заказ4850 руб.
1741270-89J04-000

Правый рычаг блокировки наклона - Lever, Tilt Lock Stbd (Lever, tilt lock stbd)

под заказ4850 руб.
1841280-89J00-000

Запчасть снята с производства - The Spare Part Is Laid Off (->41200-89800 # )

под заказ0 руб.
1841280-89J01-000

Левый рычаг блокировки наклона - Lever, Tilt Lock Port (DF40:151239~ DF50:151546~ # )

под заказ3630 руб.
1841280-89J04-000

   (актуальный код замены) Левый рычаг блокировки наклона - Lever, Tilt Lock Port

под заказ3630 руб.
1841280-89J04-000

Левый рычаг блокировки наклона - Lever, Tilt Lock Port (Lever, tilt lock port)

под заказ3630 руб.
1841280-89J03-000

Левый рычаг блокировки наклона - Lever, Tilt Lock Port (MODEL:10 # )

под заказ3630 руб.
1841280-89J04-000

   (актуальный код замены) Левый рычаг блокировки наклона - Lever, Tilt Lock Port

под заказ3630 руб.
1841280-89J04-000

Левый рычаг блокировки наклона - Lever, Tilt Lock Port (Lever, tilt lock port)

под заказ3630 руб.
1945731-96311-000

Кронштейн, Пружина - Bracket, Spring

под заказ530 руб.
1945731-96312-000

   (актуальный код замены) Кронштейн, Пружина - Bracket, Spring

под заказ530 руб.
1945731-96312-000

Кронштейн, Пружина - Bracket, Spring (Bracket, spring)

под заказ530 руб.
1945731-96312-000

Кронштейн, Пружина - Bracket, Spring (MODEL:10 # ) (Bracket, spring)

под заказ530 руб.
2009116-06094-000

Болт (6x15) - Bolt (6x15) (Болт 6X15)

20 шт270 руб.
2109205-03012-000

Стопор пружины (3x16) - Pin, Spring (3x16) (Pin, gear # ) (Штифт L:16)

12 шт190 руб.
2243417-89J00-000

Регулировка рулевой системы - Adjuster, Steering (Регулятор управления)

под заказ1300 руб.
2343412-93900-000

Крышка регулировки рулевой системыer - Cover, Steering Adjuster (Cover, steering adjust # ) (Крышка регулятора)

под заказ340 руб.
2343412-93901-000

   (актуальный код замены) Крышка регулировки рулевой системыer - Cover, Steering Adjuster

под заказ340 руб.
2409100-08227-000

Болт (8x27) - Bolt (8x27) (Болт)

под заказ0 руб.
2509116-06127-000

Болт (6x12) - Bolt (6x12) (MODEL:01~04 # ) (Болт 6X12)

1 шт290 руб.
2609160-08091-000

Шайба (8.5x14x1.0) - Washer (85x14x10) (Washer (8.5x14x1.0) # ) (Шайба)

7 шт130 руб.
2709250-09001-000

Колпачок (od: 14) - Cap (od:14) (Plug # MODEL:01~04 # ) (Cap)

под заказ150 руб.
2709250-09008-000

   (актуальный код замены) Колпачок (od: 14) - Cap (od:14)

под заказ150 руб.
2829440-93J00-000

Пружина регулятора рулевой системы - Spring, Steering Adjuster (<-09440-11022 # ) (Пружина регулятора)

под заказ190 руб.


Время выполнения запроса 1.1295878887177 сек.

 
 

данный сайт носит информационный характер и не является публичной офертой

склад запчастей для водомоторной техники