| |
 |
|
 |
Вернуться к выбору узлов мотора
ДЕТАЛИРОВКА ДЛЯ МОДЕЛИ: SUZUKI DF40QHLK10(E1) K10
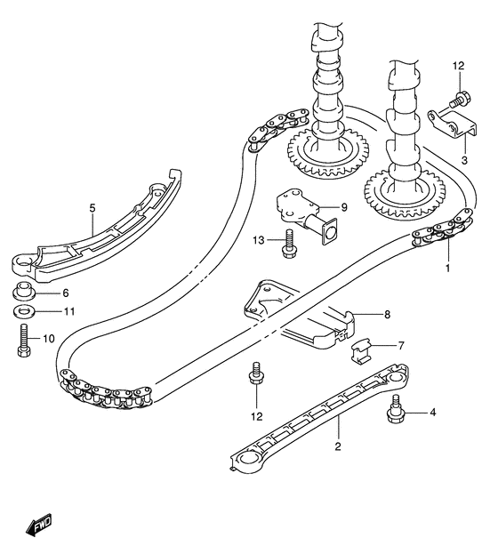
Распределяющая цепь
Код модели двигателя: DF40QHS/L; DF40TS/L
Год выпуска двигателя: 2010
Регион: General Export No.1 ,Код региона: P01
Цвет: Shadow Black Metallic
Номер на рисунке | Артикул | Наименование | QTY | Кол-во на складе | Цена |
| 1 | 12761-73G01-000 | Цепь ГРМ - Chain, Timing (Цепь распределяющая) | | 1 шт | 11760 руб. |
| 2 | 12771-87J00-000 | Направляющая распределяющей цепи №1 - Guide, Timing Chain No1 (Guide, timing chain # ) (Направляющая) | | 1 шт | 2220 руб. |
| 3 | 12772-73G01-000 | Направляющая распределяющей цепи, №2 - Guide, Timing Chain, No2 (Guide, timing chain no.2 # Model:99, 00 # ) (Направляющая) | | под заказ | 1780 руб. |
| 3 | 12772-73G02-000 | (актуальный код замены) Направляющая распределяющей цепи, №2 - Guide, Timing Chain, No.2 | | под заказ | 1780 руб. |
| 4 | 12776-85FA0-000 | Болт направляющей цепи ГРМ - Bolt, Timing Chain Guide (Bolt, timing chain guide # ) (Bolt) | | под заказ | 440 руб. |
| 5 | 12811-87J00-000 | Башмак натяжителя цепи - Tensioner, Timing Chain (Tensioner, timing chain # ) (Натяжитель) | | 1 шт | 9120 руб. |
| 6 | 12812-73G10-000 | Проставка натяжителя цепи распредвала - Spacer, Timing Chain Tensioner (Spacer, timing chain tensioner # ) (Кольцо/шайба) | | под заказ | 600 руб. |
| 7 | 12813-73G00-000 | Площадка натяжителя цепи ГРМ - Pad, Timing Chain Tensioner (Pad, timing chain tensioner # ) (Втулка) | | под заказ | 430 руб. |
| 8 | 12821-87J01-000 | Тяга натяжителя цепи ГРМ - Link, Timing Chain Tensioner (Натяжитель цепи) | | под заказ | 1110 руб. |
| 9 | 12831-90J00-000 | Регулятор натяжителя, в сборе - Adjuster Assy, Tensioner | | под заказ | 9650 руб. |
| 9 | 12831-90J02-000 | (актуальный код замены) Регулятор натяжителя, в сборе - Adjuster Assy, Tensioner | | 3 шт | 10500 руб. |
| 9 | 12831-90J02-000 | Регулятор натяжителя, в сборе - Adjuster Assy, Tensioner (Adjuster, tensioner # ) (Регулятор натяжения) | | 3 шт | 10500 руб. |
| 9 | 12831-90J01-000 | Регулятор натяжителя, в сборе - Adjuster Assy, Tensioner (Model:04, 05 # ) | | под заказ | 9650 руб. |
| 9 | 12831-90J02-000 | (актуальный код замены) Регулятор натяжителя, в сборе - Adjuster Assy, Tensioner | | 3 шт | 10500 руб. |
| 9 | 12831-90J02-000 | Регулятор натяжителя, в сборе - Adjuster Assy, Tensioner (Adjuster, tensioner # ) (Регулятор натяжения) | | 3 шт | 10500 руб. |
| 9 | 12831-90J02-000 | Регулятор натяжителя, в сборе - Adjuster Assy, Tensioner (Adjuster, tensioner # Df40:510230~, df50:510509~ # ) (Регулятор натяжения) | | 3 шт | 10500 руб. |
| 10 | 09100-08260-000 | Болт (8x30) - Bolt (8x30) (Bolt (8x30); # ) (Болт 8X30) | | под заказ | 150 руб. |
| 11 | 09160-08123-000 | Шайба (8.5x20x1.2) - Washer (85x20x12) (Washer # ) (Шайба) | | под заказ | 150 руб. |
| 12 | 01550-06123-000 | Болт - Bolt (Model:99, 00 # ) | | под заказ | 180 руб. |
| 12 | 01550-0612B-000 | (актуальный код замены) Болт - Bolt | | под заказ | 180 руб. |
| 12 | 01550-0612B-000 | Болт - Bolt (Bolt, clamp # ) (Bolt) | | под заказ | 180 руб. |
| 12 | 01550-0612A-000 | Болт - Bolt (Model:01~10 # ) (Bolt) | | под заказ | 150 руб. |
| 13 | 01550-0620A-000 | Болт - Bolt (Болт) | | под заказ | 150 руб. |
Время выполнения запроса 5.4263529777527 сек. |
|