| |
 |
|
 |
Вернуться к выбору узлов мотора
ДЕТАЛИРОВКА ДЛЯ МОДЕЛИ: SUZUKI DF40AQHL(E01) PRD
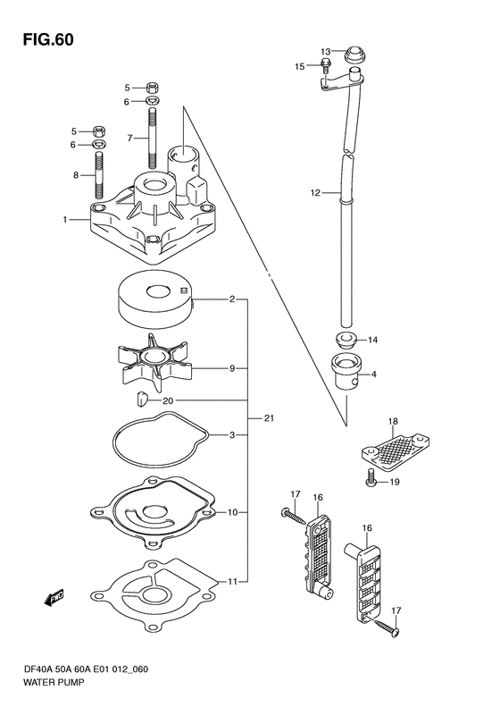
Водяной насос
Код модели двигателя: DF40AQHS/L; DF40ATS/L
Год выпуска двигателя: 2011
Регион: General Export No.1 ,Код региона: P01
Цвет: Shadow Black Metallic
Номер на рисунке | Артикул | Наименование | QTY | Кол-во на складе | Цена |
| 1 | 17410-88L00-000 | Корпус водяного насоса - Case, Water Pump (Case, waterpump) | | 3 шт | 8680 руб. |
| 2 | 17413-95J00-000 | Рукав корпуса водяной помпы - Sleeve, Water Pump Case (Sleeve, water pump case; # ) (Обойма помпы) | | 9 шт | 2510 руб. |
| 2 | SK17413-95J00 | (не оригинальный аналог) Стакан крыльчатки Skipper для Suzuki DF20 V-twin- DF60AV | | 0 шт | 643 руб. |
| 3 | 17416-95J00-000 | Сальник корпуса водяного насоса - Sealing, Water Pump Case (Sealing, water pump case; # ) (Уплотнение корпуса) | | 13 шт | 720 руб. |
| 3 | SK17416-95J00 | (не оригинальный аналог) Прокладка корпуса помпы Skipper для Suzuki Модели техники: DF20-25 (до 14 )/DF40A-60A | | 0 шт | 178 руб. |
| 4 | 17564-88L00-000 | Втулка корпуса водяной помпы - Bush, Water Pump Case (Bush, waterpump case) | | под заказ | 330 руб. |
| 4 | 17564-88L01-000 | (актуальный код замены) Втулка корпуса водяной помпы - Bush, Water Pump Case | | 24 шт | 370 руб. |
| 5 | 29141-93J00-000 | Гайка - Nut (Гайка) | | 18 шт | 480 руб. |
| 6 | 29162-93J00-000 | Шайба - Washer (Washer, lock; # ) (Пластина замка) | | 9 шт | 130 руб. |
| 7 | 09108-06143-000 | Болт под шпильку - Bolt, Stud (Stud bolt; # ) (Болт) | | 7 шт | 480 руб. |
| 8 | 09108-06144-000 | Болт под шпильку - Bolt, Stud (Stud bolt; # ) (Болт) | | под заказ | 440 руб. |
| 9 | 17461-96312-000 | Крыльчатка водяного насоса - Impeller, Water Pump (Крыльчатка водной помпы) | | 25 шт | 3490 руб. |
| 9 | SC-WT104 | (не оригинальный аналог) Крыльчатка помпы охлаждения двигателя Suzuki SC-WT104 | | 1 шт | 1060 руб. |
| 10 | 17471-95J01-000 | Панель в нижней части корпуса помпы - Panel, Pump Case Under (Panel, pump case under) | | 9 шт | 900 руб. |
| 11 | 17472-96303-000 | Прокладка снизу корпуса водяного насоса - Gasket, Pump Case Under (Gasket, pump case under; # ) (Gasket, pump case under) | | под заказ | 270 руб. |
| 11 | 17472-96304-000 | (актуальный код замены) Прокладка снизу корпуса водяного насоса - Gasket, Pump Case Under | | 26 шт | 360 руб. |
| 11 | SK17472-96303 | (не оригинальный аналог) Прокладка под пластину водяного насоса Skipper для Suzuki DT25-40, DF20-50, DF40A-60A | | 0 шт | 129 руб. |
| 12 | 17560-88L10-000 | Водяная трубка (l) - Tube, Water (l) (Tube, water (l); W/transom (l) # ) (Tube, water (l)) | | под заказ | 5280 руб. |
| 12 | 17560-88L20-000 | Водяная трубка (x) - Tube, Water (x) (Tube, water (x); W/transom (x) # ) (Tube, water (x)) | | под заказ | 7640 руб. |
| 13 | 17562-87L00-000 | Втулка, Водяная трубка, верхний - Bush, Water Tube, Upper (Grommet, water tube upper; # ) (Bush, water tube upper) | | под заказ | 820 руб. |
| 13 | 17562-87L01-000 | (актуальный код замены) Верхний пыльник водяной трубки - Grommet, Water Tube Upper | | 7 шт | 820 руб. |
| 14 | 17562-87L00-000 | Втулка, Водяная трубка, верхний - Bush, Water Tube, Upper (Grommet, water tube lower; W/transom (l), w/transom (x) # ) (Bush, water tube upper) | | под заказ | 820 руб. |
| 14 | 17562-87L01-000 | (актуальный код замены) Верхний пыльник водяной трубки - Grommet, Water Tube Upper | | 7 шт | 820 руб. |
| 15 | 09116-06094-000 | Болт (6x15) - Bolt (6x15) (Bolt (6x15); # ) (Болт 6X15) | | 20 шт | 270 руб. |
| 16 | 17631-96320-000 | Водяной фильтр - Filter, Water (Фильтр водный) | | 8 шт | 900 руб. |
| 17 | 03142-04309-000 | Винт - Screw (Болт) | | под заказ | 170 руб. |
| 18 | 17635-87E00-000 | Водяной фильтр Sub - Filter, Water Sub (Фильтр водный) | | 8 шт | 620 руб. |
| 18 | 17635-87E10-000 | Пластина редуктора - Plate, Gear Case (Plate, gear case # Plate, gear case; Opt # ) (Плата редуктора) | | под заказ | 10230 руб. |
| 19 | 09125-05046-000 | Винт (5x12) - Screw (5x12) (Screw (5x12) # Screw (5x12); # ) (Болт) | | под заказ | 150 руб. |
| 20 | 09420-04006-000 | Ключ - Key (Key, impeller # ) (Ключ) | | 18 шт | 430 руб. |
| 21 | 17400-88L00-000 | Ремкомплект водяного насоса - Kit, Water Pump Repair (Opt # ) (Kit, waterpump repair) | | под заказ | 6870 руб. |
| 21 | 17400-88L01-000 | (актуальный код замены) Ремкомплект водяного насоса - Kit, Water Pump Repair | | 12 шт | 7490 руб. |
| 21 | SK17400-88L00 | (не оригинальный аналог) Ремкомплект помпы охлаждения Skipper | | 0 шт | 1474 руб. |
Время выполнения запроса 1.0926489830017 сек. |
|