Оригинальные запчасти на двигатель SUZUKI DF40ASTS/L - Отделитель паров топлива
вконтакте

Контактный телефон: +7 (981) 121-46-93, +7 (800) 200-90-76 , Email: parts-katalog@yandex.ru, где купить

 
 

  Логин:

Пароль:

Регистрация

www.partskatalog.ru Все каталоги Запчасти Mercury Запчасти Suzuki Запчасти Tohatsu Запчасти Honda Контакты



УВАЖАЕМЫЕ КЛИЕНТЫ!
C 19 ДЕКАБРЯ 2025 ПО 02 МАРТА 2026 ГОДА ОТДЕЛ ЗАПЧАСТЕЙ И СЕРВИС РАБОТАТЬ НЕ БУДУТ
ПРОДАЖА ЛОДОЧНЫХ МОТОРОВ В ШТАТНОМ РЕЖИМЕ
ОБ ИЗМЕНЕНИЯХ В ГРАФИКЕ РАБОТЫ ЧИТАЙТЕ НА САЙТА



назад Раздел:   вперёд

Вернуться к выбору узлов мотора


ДЕТАЛИРОВКА ДЛЯ МОДЕЛИ: SUZUKI DF40AST(E01) PRD

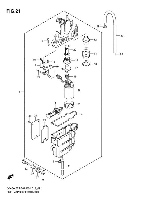
Отделитель паров топлива


Код модели двигателя: DF40ASTS/L

Год выпуска двигателя: 2011

Регион: General Export No.1 ,Код региона: P01

Цвет: Shadow Black Metallic

Номер на
рисунке
АртикулНаименованиеQTYКол-во
на складе
Цена
115600-88L01-000

Сепаратор-отделитель паров топлива, в сборе - Separator Assy, Fuel Vapor

под заказ95040 руб.
115600-88L14-000

   (актуальный код замены) Сепаратор-отделитель паров топлива, в сборе - Separator Assy, Fuel Vapor

под заказ95040 руб.
115600-88L02-000

Сепаратор-отделитель паров топлива, в сборе - Separator Assy, Fuel Vapor

под заказ95040 руб.
115600-88L14-000

   (актуальный код замены) Сепаратор-отделитель паров топлива, в сборе - Separator Assy, Fuel Vapor

под заказ95040 руб.
213370-88L00-000

Игольчатый клапан, в сборе - Valve Assy, Needle (Valve assy, needle)

под заказ4900 руб.
315200-88L00-000

Топливный насос, в сборе - Pump Assy, Fuel (Pump assy, fuel)

4 шт42000 руб.
415626-88L00-000

Сальник - Seal (Валик)

под заказ1280 руб.
415626-88L01-000

   (актуальный код замены) Сальник - Seal

1 шт1280 руб.
515628-99E00-000

Винт (l: 15) - Screw (l:15) (Screw (l:15); # ) (Screw (l:15))

под заказ240 руб.
615629-99E10-000

Винт дренажный - Screw, Drain (Винт дренажный)

под заказ550 руб.
715641-88L00-000

Проставка - Spacer (Кольцо/шайба)

под заказ2340 руб.
815642-88L00-000

Фильтр в сборе - Filter Assy (Filter assy)

19 шт2390 руб.
8SK-G-0070YT

   (не оригинальный аналог) Фильтр топливного сепаратора Skipper для Yamaha F150-F350

0 шт699 руб.
915650-99E00-000

Поплавок - Float (Поплавок)

под заказ6870 руб.
1015654-88L00-000

Штифт - Pin (Pin)

под заказ240 руб.
1115683-87J00-000

Шланг - Hose (Hose, drain # Hose, drain (l:120); # ) (Hose)

под заказ330 руб.
1215760-88L00-000

Регулятор в сборе - Regulator Assy (Regulator assy)

под заказ18000 руб.
1315644-88L00-000

Уплотнительное кольцо - O Ring (O ring)

под заказ430 руб.
1415645-88L00-000

Держатель регулятора - Holder, Regulator (Holder, regulator)

под заказ530 руб.
1502112-0408A-000

Винт - Screw (Болт)

под заказ90 руб.
1602142-0408B-000

Винт - Screw (Винт)

под заказ130 руб.
1715643-88L00-000

Соединитель - Joint (Joint)

под заказ520 руб.
1715643-88L10-000

   (актуальный код замены) Соединитель - Joint

под заказ520 руб.
1815641-88L20-000

Втулка - Bush

под заказ4710 руб.
1815641-88L31-000

   (актуальный код замены) Втулка - Bush

под заказ4710 руб.
1915641-88L40-000

Втулка - Bush

под заказ4710 руб.
1915641-88L51-000

   (актуальный код замены) Втулка - Bush

под заказ4710 руб.
2015642-88L10-000

Фильтр - Filter (Filter)

16 шт1900 руб.
2115612-99E01-000

Крышка пароотделителя - Cover, Vapor Separator (Cover, vapor separator)

под заказ1680 руб.
2215613-88L00-000

Уплотнительное кольцо - O Ring (O ring)

2 шт470 руб.
2315614-99E00-000

Винт - Screw

под заказ430 руб.
2315614-88L00-000

   (актуальный код замены) Винт - Screw

под заказ430 руб.
2315614-88L00-000

Винт - Screw (Болт)

под заказ430 руб.
2401550-06307-000

Болт - Bolt (Bolt (chrome))

8 шт250 руб.
2509169-06075-000

Шайба - Washer (Шайба)

под заказ240 руб.
2609160-06084-000

Шайба (6.5x18x1.6) - Washer (65x18x16) (Washer (6.5x18x1.6); # ) (Шайба 6.5X18X1)

7 шт130 руб.
2709320-09039-000

Подушка - Cushion (Cushion, silencer cover # ) (Валик)

8 шт320 руб.
2709320-09059-000

   (актуальный код замены) Подушка (9x18x14) - Cushion (9x18x14)

под заказ320 руб.
2809352-50823-600

Шланг (5x8.2x600) - Hose (5x82x600) (Hose, evapotation (5.0x8.2x600) # Hose (5x8.2x600); L:600->530 # ) (Hose (5x8.2x600))

под заказ640 руб.
2809352-50005-600

   (актуальный код замены) Шланг (5x8.2x600) - Hose (5x8.2x600)

под заказ640 руб.
2909401-08412-000

Зажим - Clip (Clip)

под заказ190 руб.
3018498-87JC0-000

Защита шланга (9.5x11.5x450) - Protector, Hose (95x115x450) (Protector, evap hose (9.5x11.5x450) # Protector, evap hose (l:450); # ) (Протектор)

1 шт650 руб.
3018498-87JC1-000

   (актуальный код замены) Защита шланга (9.5x11.5x450) - Protector, Hose (9.5x11.5x450)

под заказ650 руб.


Время выполнения запроса 1.578006029129 сек.

 
 

данный сайт носит информационный характер и не является публичной офертой

склад запчастей для водомоторной техники