| |
 |
|
 |
Вернуться к выбору узлов мотора
ДЕТАЛИРОВКА ДЛЯ МОДЕЛИ: SUZUKI DF50ATL/DF50ATHL FROM 05003F-310001~ (E01)
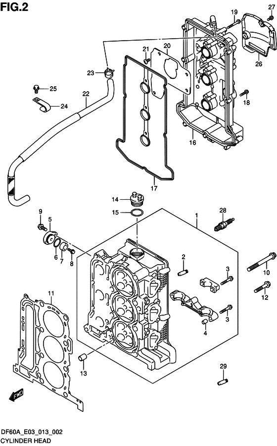
Головка блока цилиндра
Код модели двигателя: DF50AQHS/L; DF50AT(H)S/L
Год выпуска двигателя: 2013
Регион: General Export No.1 ,Код региона: P01
Цвет: Shadow Black Metallic
Номер на рисунке | Артикул | Наименование | QTY | Кол-во на складе | Цена |
| 1 | 11100-88L00-000 | Головка блока цилиндра - Head Assy, Cylinder (Head assy, cylinder) | | под заказ | нет сведений |
| 2 | 11115-73G01-001 | Направляющая клапана - Guide, Valve (Направляющая клапана) | | под заказ | 2750 руб. |
| 3 | 09103-06266-000 | Болт (6x40) - Bolt (6x40) (Bolt, 6x40 # ) (Bolt) | | под заказ | 170 руб. |
| 4 | 09206-08001-000 | Штифт (6.2x8x11) - Pin (62x8x11) (Стопор) | | 9 шт | 130 руб. |
| 5 | 11261-93J00-000 | Крышка защитного анода - Cover, Protection Anode (Крышка протектора) | | под заказ | 1600 руб. |
| 6 | 09280-22019-000 | Уплотнительное кольцо (d: 1.9, Id: 21.8) - O Ring (d:19, Id:218) (Кольцо уплотнительное) | | 16 шт | 210 руб. |
| 6 | SK09280-22019 | (не оригинальный аналог) Кольцо уплотнительное головки блока цилиндров Skipper для Suzuki Модели техники: 4-stroke 8-350HP | | 0 шт | 64 руб. |
| 7 | 55321-87J00-000 | Защитный анод - Anode, Protection (Протекторная защита) | | 1 шт | 750 руб. |
| 7 | 55321-87J01-000 | (актуальный код замены) Защитный анод - Anode, Protection | | под заказ | 850 руб. |
| 7 | SMO-55321-87J01-000 | (не оригинальный аналог) Защитный анод SMO-55321-87J01-000 (оригинал) | | под заказ | 590 руб. |
| 7 | SMO-55321-87J01-000 | (аналог) Защитный анод SMO-55321-87J01-000 (оригинал) - код 55321-87J01-000 | | под заказ шт | 585 руб. |
| 7 | 55321-87J10-000 | Анод, Magnesium - Anode, Magnesium (OPT # ) (Анод) | | под заказ | 1490 руб. |
| 7 | 55321-87J11-000 | (актуальный код замены) Анод (магниевый) - Anode (magnesium) | | 27 шт | 1490 руб. |
| 8 | 09103-06281-000 | Болт (6x14) - Bolt (6x14) (Bolt, protection anode # ) (Bolt) | | 6 шт | 270 руб. |
| 9 | 01550-08207-000 | Болт - Bolt (Bolt) | | 10 шт | 240 руб. |
| 10 | 11119-87J00-000 | Болты головки цилиндра - Bolt, Cylinder Head (Bolt, cylinder head # ) (Болт головки цилиндров) | | под заказ | 700 руб. |
| 11 | 11141-88L00-000 | Прокладка головки блока цилиндра - Gasket, Cyl Head (Gasket, cylinder head) | | 3 шт | 7000 руб. |
| 12 | 01550-08457-000 | Болт - Bolt (Bolt, cyl head no.5 # ) (Bolt) | | под заказ | 260 руб. |
| 13 | 04211-13189-000 | Штифт - Pin (Pin) | | под заказ | 200 руб. |
| 14 | 11382-99E00-000 | Колпачок масляного фильтра - Cap, Oil Filler (Крышка масляного бака) | | 10 шт | 1110 руб. |
| 15 | 09280-26006-000 | Уплотнительное кольцо (d: 3.1, Id: 26.4) - O Ring (d:31, Id:264) (Кольцо уплотнительное) | | 2 шт | 220 руб. |
| 16 | 11170-88L10-000 | Крышка головки цилиндра - Cover, Cylinder Head (Cover, cylinder head) | | под заказ | 28320 руб. |
| 17 | 11189-88L00-000 | Прокладка крышки головки блока цилиндра - Gasket, Cyl Head Cover (Gasket, cylinder head cover) | | 13 шт | 2690 руб. |
| 18 | 01547-06257-000 | Болт - Bolt (Bolt (6x25)) | | под заказ | 160 руб. |
| 19 | 01547-06457-000 | Болт - Bolt (Bolt (6x45)) | | под заказ | 180 руб. |
| 20 | 11173-88L00-000 | Пластина сапуна - Plate, Breather (Plate, breather) | | под заказ | 830 руб. |
| 21 | 02142-0612A-000 | Винт - Screw (Винт) | | под заказ | 110 руб. |
| 22 | 11174-88L00-000 | Шланг сапуна - Hose, Breather (Hose, breather) | | под заказ | 2450 руб. |
| 22 | 11174-88L01-000 | (актуальный код замены) Шланг сапуна - Hose, Breather | | под заказ | 2450 руб. |
| 23 | 09401-15414-000 | Зажим - Clip (Зажим шланга) | | под заказ | 170 руб. |
| 24 | 09403-17303-000 | Струбцина - Clamp (Clamp) | | под заказ | 340 руб. |
| 24 | 09403-17312-000 | (актуальный код замены) Струбцина, Сапун шланга - Clamp, Breather Hose | | под заказ | 340 руб. |
| 25 | 01550-06127-000 | Болт - Bolt (Bolt, rect # ) (Bolt) | | 10 шт | 180 руб. |
| 26 | 11194-88L10-000 | Направляющая топливного шланга - Guard, Fuel Hose (Guard, fuel hose) | | 2 шт | 1900 руб. |
| 27 | 01550-06167-000 | Болт - Bolt (Bolt) | | 9 шт | 210 руб. |
| 28 | 09482-00446-000 | Свеча зажигания (ngk Dcpr6e) - Plug, Spark (ngk Dcpr6e) (Свеча зажигания) | | 101 шт | 1480 руб. |
| 29 | 11115-73G01-001 | Направляющая клапана - Guide, Valve (OPT # ) (Направляющая клапана) | | под заказ | 2750 руб. |
Время выполнения запроса 0.95418500900269 сек. |
|