Купить комплектующие на подвесной лодочный двигатель SUZUKI DF50AQHS/L; DF50AT(H)S/L модель 2013 года - Цилиндр трима / Trim cylinder
вконтакте

Контактный телефон: +7 (981) 121-46-93, +7 (800) 200-90-76 , Email: parts-katalog@yandex.ru, где купить

 
 

  Логин:

Пароль:

Регистрация

www.partskatalog.ru Все каталоги Запчасти Mercury Запчасти Suzuki Запчасти Tohatsu Запчасти Honda Контакты



УВАЖАЕМЫЕ КЛИЕНТЫ!
C 31 ОКТЯБРЯ 2025 ПО 10 НОЯБРЯ 2025 ГОДА РАБОТАТЬ НЕ БУДЕМ



назад Раздел:   вперёд

Вернуться к выбору узлов мотора


ДЕТАЛИРОВКА ДЛЯ МОДЕЛИ: SUZUKI DF50AT FROM 05003F-310001~ (E03)

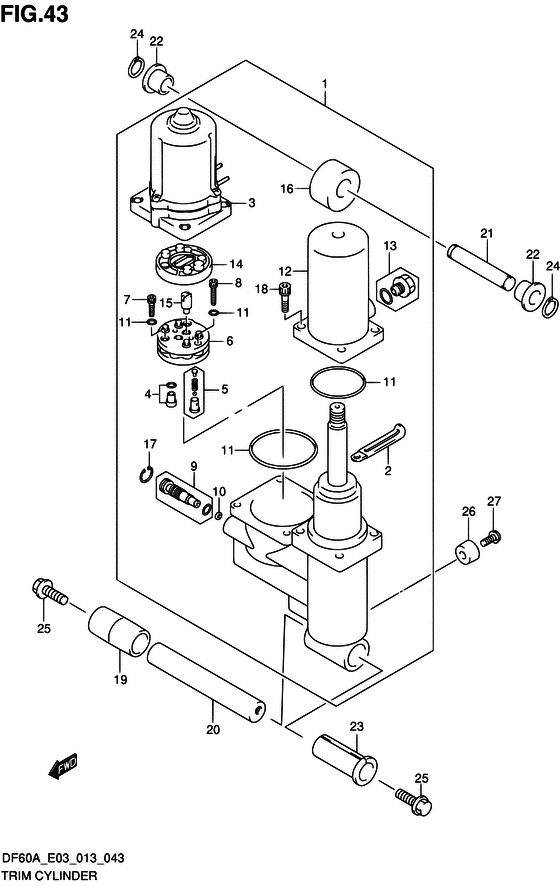
Цилиндр трима


Код модели двигателя: DF50AQHS/L; DF50AT(H)S/L

Год выпуска двигателя: 2013

Регион: USA ,Код региона: P03

Цвет: Shadow Black Metallic

Номер на
рисунке
АртикулНаименованиеQTYКол-во
на складе
Цена
148000-88L15-000

Трим в сборе, система наклона двигателя - Trim Assy, Power With Tilt (Trim assy, power with tilt)

под заказ225600 руб.
148000-88L30-000

   (актуальный код замены) Трим в сборе, система наклона двигателя - Trim Assy, Power With Tilt

под заказ225600 руб.
229404-93J10-000

Струбцина - Clamp (Струбцина переключателя)

под заказ190 руб.
229404-93J11-000

   (актуальный код замены) Струбцина - Clamp

под заказ190 руб.
338100-88L11-000

Двигатель гидроподъёма лодочного мотора - Motor Assy, Ptt (Motor assy, ptt)

под заказ73920 руб.
338100-88L12-000

   (актуальный код замены) Двигатель гидроподъёма лодочного мотора - Motor Assy, Ptt

под заказ73920 руб.
448320-87J10-000

Клапан, вышеr Pressure - Valve, Upr Pressure (Клапан прессуры)

под заказ3360 руб.
548330-87J10-000

Клапан нижнего давления - Valve, Down Pressure (Клапан прессуры)

под заказ2720 руб.
648510-97E00-000

Насос шестерни - Pump Assy, Gear (Насос)

под заказ11480 руб.
748541-87J10-000

Болт - Bolt (Bolt)

под заказ1280 руб.
848541-87J20-000

Болт - Bolt (Bolt)

под заказ1350 руб.
948551-88L00-000

Ручной клапан - Valve, Manual (Valve, manual)

под заказ8840 руб.
1048553-97E00-000

Сальник, Шайба - Seal, Washer (Уплотнение)

1 шт790 руб.
1148557-87J10-000

Набор уплотнительных колец - O Ring Set (O ring set)

5 шт1410 руб.
1248571-88L00-000

Бак резервуара - Tank, Reservoir (Tank, reservoir)

под заказ17910 руб.
1248571-88L01-000

   (актуальный код замены) Бак резервуара - Tank, Reservoir

под заказ17910 руб.
1348572-87J10-000

Заглушка - Plug (Plug)

2 шт2030 руб.
1448582-97E01-000

Фильтр - Filter (Filter, pump # ) (Filter)

под заказ1860 руб.
1548583-87J10-000

Соединение привода - Joint, Drive (Соединение)

2 шт2020 руб.
1648611-88L00-000

Металлический соединитель - Joint, Metal (Joint, metal)

под заказ18530 руб.
1748681-87J10-000

Стопорное кольцо - Circlip

под заказ860 руб.
1748681-87J11-000

   (актуальный код замены) Стопорное кольцо - Circlip

под заказ860 руб.
1748681-87J11-000

Стопорное кольцо - Circlip (Circlip)

под заказ860 руб.
1848862-87J20-000

Болт резервуара - Bolt, Reservoir (Bolt, reservoir)

2 шт1350 руб.
1947225-88L00-000

Воротник, Tilt Cyl нижний - Collar, Tilt Cyl Lower (Collar, tilt cyl lower)

1 шт400 руб.
2048121-88L00-000

Вал наклона Цилиндр Lwr - Shaft, Tilt Cylinder Lwr (Shaft, tilt cyl lower)

под заказ8930 руб.
2148321-89J11-000

Вал наклона Цилиндр вышеr - Shaft, Tilt Cylinder Upr (Shaft, tilt cylinder upper)

под заказ1700 руб.
2248325-89J00-000

Втулка верхнего цилиндра наклона - Bush, Tilt Cyl Upper (Bush, tilt cyl upper # ) (Втулка верхнего цилиндра)

6 шт330 руб.
2348326-87J00-000

Втулка снизу цилиндра наклона - Bush, Tilt Cylinder Lower (Втулка нижнего цилиндра)

6 шт870 руб.
2409380-12002-000

Пружинное кольцо - Ring, Snap (Circlip # ) (Snap ring)

12 шт150 руб.
2509116-10174-000

Болт (10x35) - Bolt (10x35)

под заказ1000 руб.
2509116-10179-000

   (актуальный код замены) Болт (10x35) - Bolt (10x35)

под заказ1000 руб.
2509116-10179-000

Болт (10x35) - Bolt (10x35) (Bolt (10x35))

под заказ1000 руб.
2655321-87J00-000

Защитный анод - Anode, Protection (Протекторная защита)

1 шт750 руб.
2655321-87J01-000

   (актуальный код замены) Защитный анод - Anode, Protection

под заказ850 руб.
26SMO-55321-87J01-000

   (не оригинальный аналог) Защитный анод SMO-55321-87J01-000 (оригинал)

под заказ590 руб.
26SMO-55321-87J01-000

  (аналог) Защитный анод SMO-55321-87J01-000 (оригинал) - код 55321-87J01-000

 под заказ шт585 руб.
2709103-06281-000

Болт (6x14) - Bolt (6x14) (Bolt, protection anode # ) (Bolt)

6 шт270 руб.


Время выполнения запроса 0.85515689849854 сек.

 
 

данный сайт носит информационный характер и не является публичной офертой

склад запчастей для водомоторной техники