| |
 |
|
 |
Вернуться к выбору узлов мотора
ДЕТАЛИРОВКА ДЛЯ МОДЕЛИ: SUZUKI DF50AVT/DF50AVTH FROM 05004F-410001~ (E01)
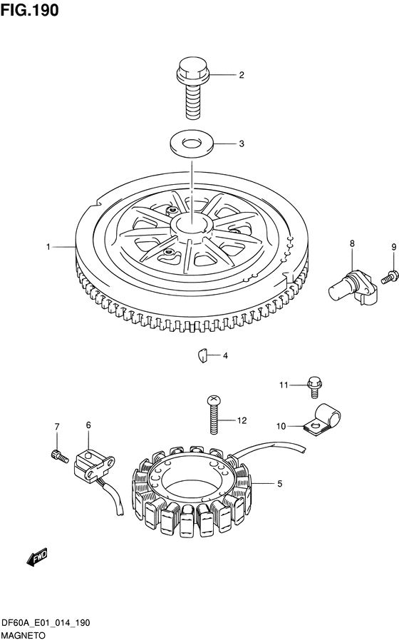
Магнето
Код модели двигателя: DF50AVT(H)L/XL
Год выпуска двигателя: 2014
Регион: General Export No.1 ,Код региона: P01
Цвет: Shadow Black Metallic
Номер на рисунке | Артикул | Наименование | QTY | Кол-во на складе | Цена |
| 1 | 32102-88L00-000 | Маховик - Flywheel (Маховик) | | под заказ | 67200 руб. |
| 1 | 32102-88L01-000 | (актуальный код замены) Маховик магнето - Flywheel, Magneto | | под заказ | 67200 руб. |
| 2 | 09103-14024-000 | Болт (14x50) - Bolt (14x50) (Болт маховика (14X50)) | | под заказ | 640 руб. |
| 3 | 09160-14065-000 | Шайба (14.5x36x4.5) - Washer (145x36x45) (Шайба) | | под заказ | 400 руб. |
| 4 | 09420-04008-000 | Ключ - Key (Ключ) | | 18 шт | 370 руб. |
| 5 | 32120-88L00-000 | Катушка заряда аккумулятора - Coil, Battery Charging (Coil, battery charging) | | под заказ | 38400 руб. |
| 6 | 32160-88L00-000 | Катушка зажигания - Coil, Ign Timing (Coil, ign timing) | | под заказ | 11760 руб. |
| 6 | 32160-88L01-000 | (актуальный код замены) Катушка зажигания - Coil, Ign Timing | | под заказ | 11760 руб. |
| 7 | 09106-05030-000 | Болт (5x10) - Bolt (5x10) (Screw, cover rr # ) (Bolt) | | под заказ | 190 руб. |
| 8 | 33220-50M10-000 | Датчик в сборе, Position - Sensor Assy, Position (Sensor assy, posn) | | под заказ | 10320 руб. |
| 8 | 33220-64L10-000 | (актуальный код замены) Датчик положения - Sensor Assy, Posn | | под заказ | 10320 руб. |
| 9 | 01547-06167-000 | Болт - Bolt (Bolt, fastener bracket # ) (Bolt) | | 26 шт | 120 руб. |
| 10 | 09403-13408-000 | Струбцина - Clamp (Clamp) | | под заказ | 490 руб. |
| 10 | 09403-13413-000 | (актуальный код замены) Струбцина - Clamp | | под заказ | 490 руб. |
| 11 | 01550-06127-000 | Болт - Bolt (Bolt, rect # ) (Bolt) | | 10 шт | 180 руб. |
| 12 | 02112-06307-000 | Винт - Screw (Болт) | | под заказ | 150 руб. |
Время выполнения запроса 7.4524278640747 сек. |
|