Найти запчасти на подвесной мотор Сузуки DF50QHS/L; DF50TS/L модель 1999 года - Fuel injector
вконтакте

Контактный телефон: +7 (981) 121-46-93, +7 (800) 200-90-76 , Email: parts-katalog@yandex.ru, где купить

 
 

  Логин:

Пароль:

Регистрация

www.partskatalog.ru Все каталоги Запчасти Mercury Запчасти Suzuki Запчасти Tohatsu Запчасти Honda Контакты



УВАЖАЕМЫЕ КЛИЕНТЫ!
C 19 ДЕКАБРЯ 2025 ПО 02 МАРТА 2026 ГОДА ОТДЕЛ ЗАПЧАСТЕЙ И СЕРВИС РАБОТАТЬ НЕ БУДУТ
ПРОДАЖА ЛОДОЧНЫХ МОТОРОВ В ШТАТНОМ РЕЖИМЕ
ОБ ИЗМЕНЕНИЯХ В ГРАФИКЕ РАБОТЫ ЧИТАЙТЕ НА САЙТА



назад Раздел:   вперёд

Вернуться к выбору узлов мотора


ДЕТАЛИРОВКА ДЛЯ МОДЕЛИ: SUZUKI DF50TX(X/Y) X

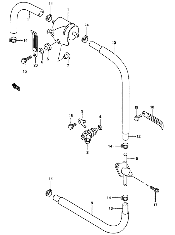
Топливный инжектор


Код модели двигателя: DF50QHS/L; DF50TS/L

Год выпуска двигателя: 1999

Регион: General Export No.1 ,Код региона: P01

Цвет: Shadow Black Metallic

Номер на
рисунке
АртикулНаименованиеQTYКол-во
на складе
Цена
115410-87J00-000

Топливный фильтр в сборе - Filter Assy, Fuel (Фильтр топливный)

33 шт6660 руб.
215710-87J00-000

Топливный инжектор, в сборе - Injector Assy, Fuel (Injector, fuel # ) (Форсунка)

1 шт45120 руб.
315741-87J00-000

Стопор, Топливный инжектор - Stopper, Fuel Injector (Stopper, fuel injector # ) (Стопор топливного впрыска)

под заказ400 руб.
415751-94900-000

Изолятор топливного инжектора - Insulator, Fuel Injection (Cushion, fuel injector # ) (Insulator, fuel)

10 шт370 руб.
515830-87J10-000

Основной топливный соединитель - Joint, Fuel Main (Соединение шланга)

под заказ3680 руб.
609160-06084-000

Шайба (6.5x18x1.6) - Washer (65x18x16) (Шайба 6.5X18X1)

7 шт130 руб.
709169-06062-000

Шайба - Washer (Washer # Washer; # ) (Кольцо/шайба)

под заказ190 руб.
809320-08501-000

Подушка - Cushion (Cushion)

под заказ240 руб.
918498-87J40-000

Защита топливного шланга (l: 450) - Protector, Fuel Hose (l:450) (Plotector, fuel hose (l:190); # )

под заказ1200 руб.
918498-99E21-000

   (актуальный код замены) Защита топливного шланга (l: 450) - Protector, Fuel Hose (l:450)

под заказ1200 руб.
918498-99E20-000

Защита топливного шланга (l: 450) - Protector, Fuel Hose (l:450) (Протектор топливного шланга (L:450))

под заказ1200 руб.
918498-99E21-000

   (актуальный код замены) Защита топливного шланга (l: 450) - Protector, Fuel Hose (l:450)

под заказ1200 руб.
1018498-87J60-000

Защита топливного шланга (l: 450) - Protector, Fuel Hose (l:450) (Plotector, fuel hose (l:140); # )

под заказ1200 руб.
1018498-99E21-000

   (актуальный код замены) Защита топливного шланга (l: 450) - Protector, Fuel Hose (l:450)

под заказ1200 руб.
1018498-99E20-000

Защита топливного шланга (l: 450) - Protector, Fuel Hose (l:450) (Протектор топливного шланга (L:450))

под заказ1200 руб.
1018498-99E21-000

   (актуальный код замены) Защита топливного шланга (l: 450) - Protector, Fuel Hose (l:450)

под заказ1200 руб.
1115681-87J00-000

Топливный шланг (tank To Фильтр) - Hose, Fuel (tank To Filter) (Hose, fuel (tank to ff) # Hose, fuel (tank to ff); # ) (Шланг топливный)

2 шт1730 руб.
1209356-75137-600

Шланг (7.5x13.5x600) - Hose (75x135x600) (Hose (separator to filter) # Hose (3 way to separator); L:600->220 # ) (Шланг топливный)

6 шт12580 руб.
1309356-75137-600

Шланг (7.5x13.5x600) - Hose (75x135x600) (Hose (separator to filter) # Hose (joint to separator); L:600->270 # ) (Шланг топливный)

6 шт12580 руб.
1409401-11414-000

Зажим (id: 11.5) - Clip (id:115) (Clip)

под заказ290 руб.
1501500-06257-000

Болт - Bolt (Bolt)

под заказ150 руб.
1601550-06127-000

Болт - Bolt (Bolt, rect # ) (Bolt)

10 шт180 руб.
1707120-06167-000

Болт - Bolt (Bolt)

под заказ230 руб.
1809404-06434-000

Струбцина (l: 80 T: 1.0) - Clamp (l:80 T:10) (Clamp (l:95); # ) (Clamp)

под заказ170 руб.
1809404-06036-000

   (актуальный код замены) Струбцина (l: 80) - Clamp (l:80)

под заказ170 руб.
1901550-06127-000

Болт - Bolt (Bolt, rect # ) (Bolt)

10 шт180 руб.
2009404-06432-000

Струбцина (l: 65) - Clamp (l:65) (Clamp (l:80) # Clamp (l:80); # ) (Clamp (l:80))

8 шт170 руб.
2009404-06039-000

   (актуальный код замены) Струбцина (l: 65) - Clamp (l:65)

под заказ170 руб.


Время выполнения запроса 0.92851495742798 сек.

 
 

данный сайт носит информационный характер и не является публичной офертой

склад запчастей для водомоторной техники