Оригинальные запчасти на подвесной двигатель Suzuki DF50QHS/L; DF50TS/L - Водяной насос
вконтакте

Контактный телефон: +7 (981) 121-46-93, +7 (800) 200-90-76 , Email: parts-katalog@yandex.ru, где купить

 
 

  Логин:

Пароль:

Регистрация

www.partskatalog.ru Все каталоги Запчасти Mercury Запчасти Suzuki Запчасти Tohatsu Запчасти Honda Контакты



УВАЖАЕМЫЕ КЛИЕНТЫ!
C 19 ДЕКАБРЯ 2025 ПО 02 МАРТА 2026 ГОДА ОТДЕЛ ЗАПЧАСТЕЙ И СЕРВИС РАБОТАТЬ НЕ БУДУТ
ПРОДАЖА ЛОДОЧНЫХ МОТОРОВ В ШТАТНОМ РЕЖИМЕ
ОБ ИЗМЕНЕНИЯХ В ГРАФИКЕ РАБОТЫ ЧИТАЙТЕ НА САЙТА



назад Раздел:   вперёд

Вернуться к выбору узлов мотора


ДЕТАЛИРОВКА ДЛЯ МОДЕЛИ: SUZUKI DF50TX(X/Y) X

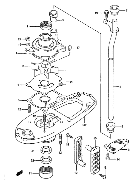
Водяной насос


Код модели двигателя: DF50QHS/L; DF50TS/L

Год выпуска двигателя: 1999

Регион: General Export No.1 ,Код региона: P01

Цвет: Shadow Black Metallic

Номер на
рисунке
АртикулНаименованиеQTYКол-во
на складе
Цена
117410-95D11-000

Корпус водяного насоса - Case, Water Pump (Корпус водной помпы)

2 шт15080 руб.
209282-17007-000

Сальник (17x28x6) - Seal, Oil (17x28x6) (Seal, water pump case # Seal, water pump case; # ) (Валик)

37 шт1470 руб.
2SK09282-17007

   (не оригинальный аналог) Сальник ведущего вала Skipper для Suzuki Модели техники: DT30HP, DF40-50HP

0 шт170 руб.
317461-96310-000

Крыльчатка водяного насоса - Impeller, Water Pump

под заказ3170 руб.
317461-96312-000

   (актуальный код замены) Крыльчатка водяного насоса - Impeller, Water Pump

25 шт3490 руб.
3SC-WT104

   (не оригинальный аналог) Крыльчатка помпы охлаждения двигателя Suzuki SC-WT104

1 шт1060 руб.
317461-96312-000

Крыльчатка водяного насоса - Impeller, Water Pump (Крыльчатка водной помпы)

25 шт3490 руб.
417471-94401-000

Панель в нижней части корпуса помпы - Panel, Pump Case Under (Пластина помпы, верхняя)

6 шт1290 руб.
517472-96301-000

Прокладка снизу корпуса водяного насоса - Gasket, Pump Case Under

под заказ270 руб.
517472-96304-000

   (актуальный код замены) Прокладка снизу корпуса водяного насоса - Gasket, Pump Case Under

26 шт360 руб.
517472-96303-000

Прокладка снизу корпуса водяного насоса - Gasket, Pump Case Under (Gasket, pump case under)

под заказ270 руб.
517472-96304-000

   (актуальный код замены) Прокладка снизу корпуса водяного насоса - Gasket, Pump Case Under

26 шт360 руб.
5SK17472-96303

   (не оригинальный аналог) Прокладка под пластину водяного насоса Skipper для Suzuki DT25-40, DF20-50, DF40A-60A

0 шт129 руб.
617560-87J10-000

Водяная трубка (s) - Tube, Water (s) (Tube, water (s); # )

под заказ5040 руб.
617560-87J11-000

   (актуальный код замены) Водяная трубка (s) - Tube, Water (s)

под заказ5040 руб.
617560-87J11-000

Водяная трубка (s) - Tube, Water (s) (Tube, water (s))

под заказ5040 руб.
617560-87J00-000

Водяная трубка (l) - Tube, Water (l) (Tube, water (l); # )

под заказ5480 руб.
617560-87J01-000

   (актуальный код замены) Водяная трубка (l) - Tube, Water (l)

под заказ5480 руб.
617560-87J01-000

Водяная трубка (l) - Tube, Water (l) (Tube, water (l))

под заказ5480 руб.
717563-94400-000

Верхний пыльник водяной трубки - Grommet, Water Tube Upr (Втулка водной трубы, верхняя)

5 шт450 руб.
817565-94400-000

Пыльник водяной трубки Middle - Grommet, Water Tube Middle (Втулка водной трубы, средняя)

13 шт550 руб.
917566-94400-000

Пыльник водяной трубки Lwr - Grommet, Water Tube Lwr (Втулка водной трубы, нижняя)

под заказ340 руб.
917566-94401-000

   (актуальный код замены) Пыльник водяной трубки Lwr - Grommet, Water Tube Lwr

19 шт370 руб.
1017631-96320-000

Водяной фильтр - Filter, Water (Фильтр водный)

8 шт900 руб.
1117635-87E00-000

Водяной фильтр Sub - Filter, Water Sub (Фильтр водный)

8 шт620 руб.
1209108-06060-000

Болт под шпильку - Bolt, Stud (Stud bolt # Bolt, stud (6x18); # ) (Болт заклепка)

3 шт230 руб.
1309108-06061-000

Болт под шпильку - Bolt, Stud (Bolt, stud (6x35) # Bolt, stud (6x35); # ) (Болт)

3 шт440 руб.
1409125-05046-000

Винт (5x12) - Screw (5x12) (Screw (5x12) # Screw (5x12); # ) (Болт)

под заказ150 руб.
1509140-06020-000

Гайка - Nut (Гайка)

9 шт150 руб.
1609162-06006-000

Шайба с блокировкой - Washer, Lock (Lock washer # ) (Шайба)

под заказ160 руб.
1709420-04006-000

Ключ - Key (Key, impeller # ) (Ключ)

18 шт430 руб.
1803142-04303-000

Винт - Screw

под заказ170 руб.
1803142-04309-000

   (актуальный код замены) Винт - Screw

под заказ170 руб.
1803142-04309-000

Винт - Screw (Болт)

под заказ170 руб.
1909116-06094-000

Болт (6x15) - Bolt (6x15) (Bolt (6x15); # ) (Болт 6X15)

20 шт270 руб.
2056130-94411-0EP

Корпус подшипника приводного вала - Housing, Drive Shaft Brg (Housing, drive sft brg (black); # )

под заказ22130 руб.
2056130-94431-0EP

   (актуальный код замены) Корпус подшипника приводного вала - Housing, Drive Shaft Brg

1 шт26480 руб.
2056130-94430-0EP

Корпус подшипника приводного вала - Housing, Drive Shaft Brg (Housing, drive shaft brg)

под заказ22130 руб.
2056130-94431-0EP

   (актуальный код замены) Корпус подшипника приводного вала - Housing, Drive Shaft Brg

1 шт26480 руб.
2109263-25025-000

Подшипник (25x33x15) - Bearing (25x33x15) (Bearing, driveshaft # ) (Подшипник 25X33X15)

24 шт3080 руб.
21SK09263-25025

   (не оригинальный аналог) Подшипник игольчатый помпы охлаждения Skipper для Suzuki DT40-85, DF40-50

0 шт1125 руб.
21HMK2515NTN

   (подбор по маркировке) Подшипник NTN HMK 2515(25*33*15 мм)

под заказ0
2209282-17005-000

Сальник (17x32x6) - Seal, Oil (17x32x6) (Seal, oil; # ) (Сальник)

302 шт690 руб.
22SK09282-17005

   (не оригинальный аналог) Сальник ведущего вала Skipper для Suzuki Модели техники: DT40, DF40-50, DF40A-60A

0 шт124 руб.
22SC-OL098

   (не оригинальный аналог) Сальник редуктора Suzuki SC-OL098

2 шт240 руб.
2317400-96350-000

Ремкомплект водяного насоса - Kit, Water Pump Repair (Water pump repair kit; Opt # )

под заказ3940 руб.
2317400-96354-000

   (актуальный код замены) Ремкомплект водяного насоса - Kit, Water Pump Repair

26 шт4650 руб.
2317400-96353-000

Ремкомплект водяного насоса - Kit, Water Pump Repair (Kit, water pump repair)

под заказ5670 руб.
2317400-96354-000

   (актуальный код замены) Ремкомплект водяного насоса - Kit, Water Pump Repair

26 шт4650 руб.


Время выполнения запроса 2.2210690975189 сек.

 
 

данный сайт носит информационный характер и не является публичной офертой

склад запчастей для водомоторной техники