| |
 |
|
 |
Вернуться к выбору узлов мотора
ДЕТАЛИРОВКА ДЛЯ МОДЕЛИ: SUZUKI DF50QHLX(E1) X
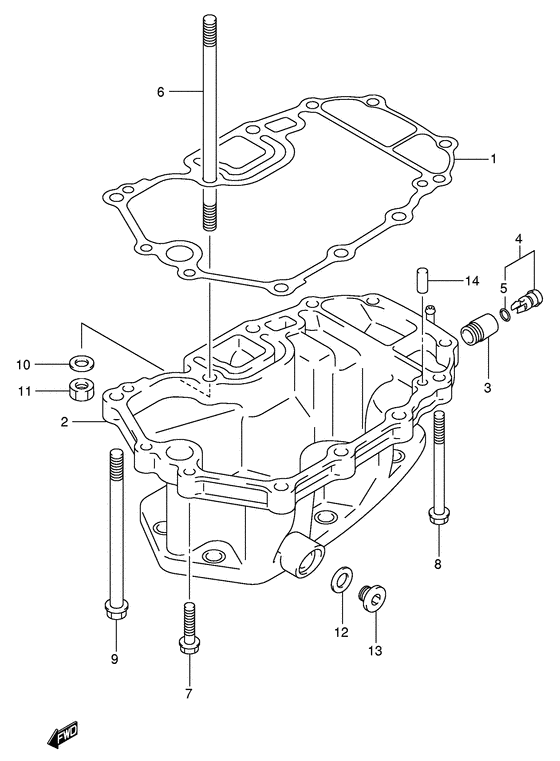
Масляный поддон
Код модели двигателя: DF50QHS/L; DF50TS/L
Год выпуска двигателя: 1999
Регион: General Export No.1 ,Код региона: P01
Цвет: Shadow Black Metallic
Номер на рисунке | Артикул | Наименование | QTY | Кол-во на складе | Цена |
| 1 | 11489-87J00-000 | Прокладка масляного поддона - Gasket, Oil Pan (Прокладка масляного поддона) | | 8 шт | 4560 руб. |
| 2 | 11500-87J04-019 | Маслянный поддон (чёрный) - Pan, Oil (black) (Pan, oil (black); # ) (Поддон маслянный) | | под заказ | 108960 руб. |
| 3 | 61155-99E01-000 | Трубка индикатора воды - Tube, Water Indicator (Трубка водного индикатора) | | 66 шт | 690 руб. |
| 3 | SMO-61155-99E01-000 | (не оригинальный аналог) Трубка индикатора воды SMO-61155-99E01-000 | | под заказ | 460 руб. |
| 3 | SMO-61155-99E01-000 | (аналог) Трубка индикатора воды SMO-61155-99E01-000 - код 61155-99E01-000 | | под заказ шт | 460 руб. |
| 4 | 61150-99E00-000 | Крышка индикатора воды Трубка - Cover, Water Indicator Tube (Cover, water indicator # Cover, water indicator tube; # ) (Крышка индикатора) | | 160 шт | 900 руб. |
| 4 | 61150-99E01-000 | (актуальный код замены) Крышка индикаторной струи - Cover Assy, Water Indicator | | 53 шт | 900 руб. |
| 5 | 09280-09005-000 | Уплотнительное кольцо (d: 1.9, Id: 8.6) - O Ring (d:19, Id:86) (O ring (d:1.9, id:8.6); # ) (Кольцо коленвала) | | 9 шт | 390 руб. |
| 6 | 09108-10127-000 | Болт под шпильку - Bolt, Stud (Bolt, stud # ) (Шпилька 10X14) | | под заказ | 2050 руб. |
| 7 | 29116-93J10-000 | Болт - Bolt (Bolt (8x35) # Bolt (8x35); # ) (Bolt) | | 14 шт | 270 руб. |
| 8 | 09116-08115-000 | Болт (8x95) - Bolt (8x95) (Bolt (8x95); # ) (Болт 8X95) | | под заказ | 720 руб. |
| 9 | 09116-10124-000 | Болт (10x150) - Bolt (10x150) (Bolt (10x150); # ) (Болт 10X150) | | под заказ | 1370 руб. |
| 10 | 29160-93J00-000 | Шайба (10.5x19x2) - Washer (105x19x2) (Washer (10.5x19x2.0); # ) | | под заказ | 120 руб. |
| 10 | 09160-10082-000 | (актуальный код замены) Шайба (10.5x19x2) - Washer (10.5x19x2) | | 19 шт | 120 руб. |
| 10 | 09160-10082-000 | Шайба (10.5x19x2) - Washer (105x19x2) (Washer # ) (Gasket (10.5x19x2)) | | 19 шт | 120 руб. |
| 11 | 29141-93J20-000 | Гайка - Nut (Nut, trim cyl ram (m10) # ) (Гайка) | | под заказ | 160 руб. |
| 11 | 09140-10031-000 | (актуальный код замены) Гайка - Nut | | 10 шт | 160 руб. |
| 12 | 09168-12012-000 | Прокладка (12.5x20x2.5) - Gasket (125x20x25) (Gasket (12.5x20x2.5); # ) (Прокладка 12.5X20X) | | 108 шт | 180 руб. |
| 13 | 09248-12007-000 | Заглушка (12x9) - Plug (12x9) (Plug, oil drain; # ) (Заглушка) | | 4 шт | 720 руб. |
| 13 | 09248-12009-000 | Заглушка (12x18.65) - Plug (12x1865) (Plug, oil drain; Model:04~10 # ) (Заглушка масляного дренажа) | | 21 шт | 580 руб. |
| 14 | 04221-08149-000 | Штифт - Pin (Pin; # ) (Стопор) | | под заказ | 150 руб. |
Время выполнения запроса 0.63885903358459 сек. |
|