Оригинальные запчасти на подвесной лодочный мотор Сузуки - Oil pan
вконтакте

Контактный телефон: +7 (981) 121-46-93, +7 (800) 200-90-76 , Email: parts-katalog@yandex.ru, где купить

 
 

  Логин:

Пароль:

Регистрация

www.partskatalog.ru Все каталоги Запчасти Mercury Запчасти Suzuki Запчасти Tohatsu Запчасти Honda Контакты



УВАЖАЕМЫЕ КЛИЕНТЫ!
C 19 ДЕКАБРЯ 2025 ПО 02 МАРТА 2026 ГОДА ОТДЕЛ ЗАПЧАСТЕЙ И СЕРВИС РАБОТАТЬ НЕ БУДУТ
ПРОДАЖА ЛОДОЧНЫХ МОТОРОВ В ШТАТНОМ РЕЖИМЕ
ОБ ИЗМЕНЕНИЯХ В ГРАФИКЕ РАБОТЫ ЧИТАЙТЕ НА САЙТА



назад Раздел:   вперёд

Вернуться к выбору узлов мотора


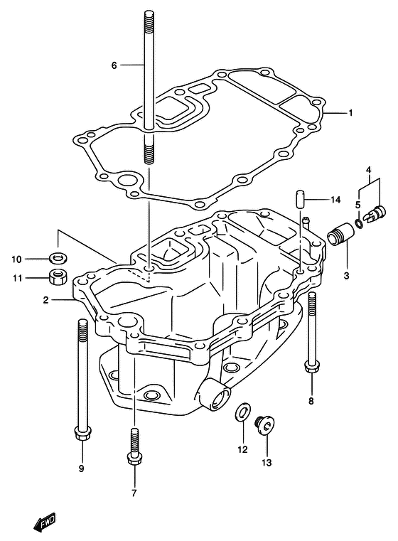
ДЕТАЛИРОВКА ДЛЯ МОДЕЛИ: SUZUKI DF50TL X

Масляный поддон


Год выпуска двигателя: 1999

Номер на
рисунке
АртикулНаименованиеQTYКол-во
на складе
Цена
111489-87J00-000

Прокладка масляного поддона - Gasket, Oil Pan (Прокладка масляного поддона)

7 шт4560 руб.
211500-87J04-019

Маслянный поддон (чёрный) - Pan, Oil (black) (Поддон маслянный)

под заказ108960 руб.
361155-99E01-000

Трубка индикатора воды - Tube, Water Indicator (<-61155-99E00 # ) (Трубка водного индикатора)

66 шт690 руб.
3SMO-61155-99E01-000

   (не оригинальный аналог) Трубка индикатора воды SMO-61155-99E01-000

под заказ460 руб.
3SMO-61155-99E01-000

  (аналог) Трубка индикатора воды SMO-61155-99E01-000 - код 61155-99E01-000

 под заказ шт460 руб.
461150-99E00-000

Крышка индикатора воды Трубка - Cover, Water Indicator Tube (Cover, water indicator # ) (Крышка индикатора)

159 шт900 руб.
461150-99E01-000

   (актуальный код замены) Крышка индикаторной струи - Cover Assy, Water Indicator

53 шт900 руб.
509280-09005-000

Уплотнительное кольцо (d: 1.9, Id: 8.6) - O Ring (d:19, Id:86) (Кольцо коленвала)

9 шт390 руб.
609108-10127-000

Болт под шпильку - Bolt, Stud (Bolt, stud # ) (Шпилька 10X14)

под заказ2050 руб.
729116-93J10-000

Болт - Bolt (Bolt (8x35) # <-09116-08114 # ) (Bolt)

14 шт270 руб.
809116-08115-000

Болт (8x95) - Bolt (8x95) (Болт 8X95)

под заказ720 руб.
909116-10124-000

Болт (10x150) - Bolt (10x150) (Болт 10X150)

под заказ1370 руб.
1029160-93J00-000

Шайба (10.5x19x2) - Washer (105x19x2)

под заказ120 руб.
1009160-10082-000

   (актуальный код замены) Шайба (10.5x19x2) - Washer (10.5x19x2)

19 шт120 руб.
1009160-10082-000

Шайба (10.5x19x2) - Washer (105x19x2) (Washer # ) (Gasket (10.5x19x2))

19 шт120 руб.
1129141-93J20-000

Гайка - Nut (Nut, trim cyl ram (m10) # <-09140-10031 # ) (Гайка)

под заказ160 руб.
1109140-10031-000

   (актуальный код замены) Гайка - Nut

10 шт160 руб.
1209168-12012-000

Прокладка (12.5x20x2.5) - Gasket (125x20x25) (Прокладка 12.5X20X)

98 шт180 руб.
1309248-12007-000

Заглушка (12x9) - Plug (12x9) (Заглушка)

4 шт720 руб.
1309248-12009-000

Заглушка (12x18.65) - Plug (12x1865) (MODEL:04~10 # ) (Заглушка масляного дренажа)

21 шт580 руб.
1404221-08149-000

Штифт - Pin (Стопор)

под заказ150 руб.


Время выполнения запроса 0.9674220085144 сек.

 
 

данный сайт носит информационный характер и не является публичной офертой

склад запчастей для водомоторной техники