Найти запчасти на подвесной двигатель Сузуки модель 2000 года - Механизированный дифферент наклона
вконтакте

Контактный телефон: +7 (981) 121-46-93, +7 (800) 200-90-76 , Email: parts-katalog@yandex.ru, где купить

 
 

  Логин:

Пароль:

Регистрация

www.partskatalog.ru Все каталоги Запчасти Mercury Запчасти Suzuki Запчасти Tohatsu Запчасти Honda Контакты

назад Раздел:   вперёд

Вернуться к выбору узлов мотора


ДЕТАЛИРОВКА ДЛЯ МОДЕЛИ: SUZUKI DF50QHL Y

Механизированный дифферент наклона


Год выпуска двигателя: 2000

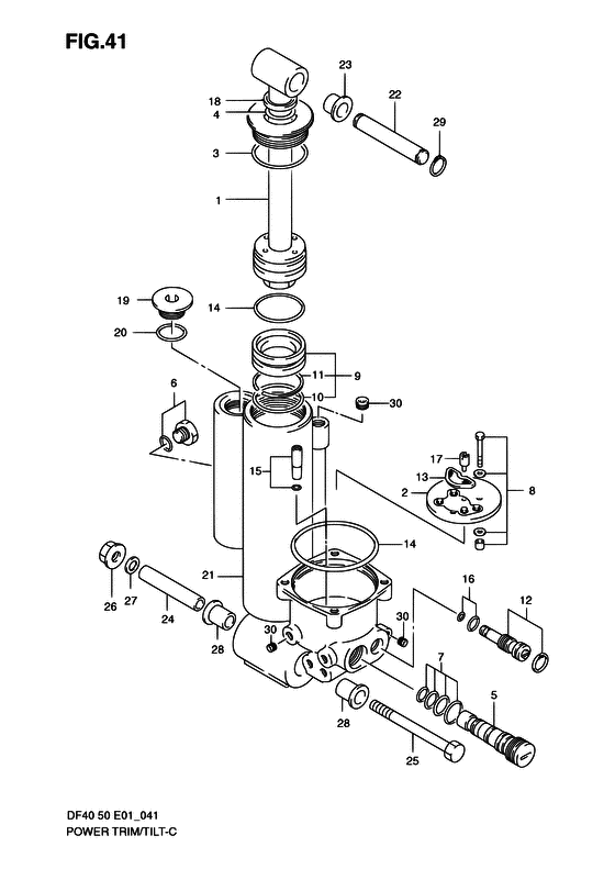
Номер на
рисунке
АртикулНаименованиеQTYКол-во
на складе
Цена
148601-97E01-000

Поршень Тяга - Piston Rod (Палец поршня)

под заказ48960 руб.
248510-97E00-000

Насос шестерни - Pump Assy, Gear (Насос)

под заказ11480 руб.
348633-97E00-000

Уплотнительное кольцо, Головка блока цилиндра - O Ring, Cylinder Head (Кольцо крышки цилиндра)

1 шт0 руб.
448634-97E00-000

Уплотнительное кольцо, Головка блока цилиндра - O Ring, Cylinder Head (Кольцо головки цилиндров)

1 шт0 руб.
548530-87J00-000

Клапан, Main Check - Valve, Main Check (Valve, main check # ) (Клапан)

под заказ13920 руб.
648572-97E00-000

Заглушка Set, Резервуар - Plug Set, Reservoir (Plug set, reservoir # ) (Комплект заглушек резервуара)

под заказ0 руб.
748536-97E01-000

Набор уплотнительных колец, Main Check - O Ring Set, Main Check (O ring, main check # ) (Комплект колец)

под заказ0 руб.
848541-97E01-000

Болт Set - Bolt Set (Набор болтов)

под заказ1560 руб.
948650-97E00-000

Поршень Free Set - Piston Free Set (Комплект поршеня)

под заказ7970 руб.
1048405-87D00-000

Набор уплотнительных колец - O Ring Set (O ring # ) (Комплект колец)

12 шт780 руб.
1148615-97E00-000

Поршневые кольца - Ring Set, Piston (Ring set, piston # ) (Кольца поршневые)

7 шт1170 руб.
1248550-87J00-000

Ручной клапан - Valve, Manual (Клапан)

1 шт8510 руб.
1348582-97E01-000

Фильтр - Filter (Filter, pump # ) (Filter)

под заказ1860 руб.
1448505-87D10-000

Набор уплотнительных колец, Коллектор - O Ring Set, Manifold (Комплект колец)

1 шт1960 руб.
1548830-97E01-000

Клапан нижнего давления - Valve, Down Pressure (Valve, down pressure # ) (Клапан прессуры)

под заказ2810 руб.
1648557-97E00-000

Набор уплотнительных колец, ручной, Клапан - O Ring Set, Manual, Valve (O ring set, manual valve # ) (Кольцо)

под заказ410 руб.
1748583-87J00-000

Drive, Соединитель - Drive, Joint (Соединение)

под заказ0 руб.
1848632-97E00-000

Сальник Cyl Head - Seal, Oil Cyl Head (Сальник головки цилиндров)

под заказ0 руб.
1948575-97E01-000

Заглушка, Резервуар - Plug, Reservoir (Заглушка резервуар)

под заказ0 руб.
2048576-97E01-000

Уплотнительное кольцо, Резервуар Заглушка - O Ring, Reservoir Plug (O ring # ) (Кольцо резервуара)

под заказ410 руб.
2148641-97E01-0EP

Коллектор гидроподъема (чёрный) - Manifold, Ptt (black) (Коллектор предохранителя (чёрный))

под заказ84960 руб.
2248321-97E01-000

Вал наклона Цилиндр вышеr - Shaft, Tilt Cylinder Upr (Shaft, tilt cylinder upper # <-48321-97E00 # ) (Вал гидроподъемника)

1 шт1640 руб.
2348325-97E00-000

Втулка, Цилиндр наклона вышеr - Bush, Tilt Cylinder Upr (Втулка цилиндра)

под заказ360 руб.
2448121-97E00-000

Вал наклона Цилиндр Lwr - Shaft, Tilt Cylinder Lwr (Shaft, tilt cylinder lower # ) (Вал гидроподъемника)

под заказ0 руб.
2509100-10190-000

Болт (10x145) - Bolt (10x145)

под заказ4230 руб.
2509100-10190-XC0

   (актуальный код замены) Болт (10x145) - Bolt (10x145)

под заказ4230 руб.
2509100-10190-XC0

Болт (10x145) - Bolt (10x145) (Bolt, 10x145)

под заказ4230 руб.
2609159-10050-000

Гайка - Nut (Гайка)

8 шт250 руб.
2709160-10082-000

Шайба (10.5x19x2) - Washer (105x19x2) (Washer # ) (Gasket (10.5x19x2))

19 шт120 руб.
2809307-18002-000

Втулка - Bush (Втулка)

под заказ840 руб.
2909380-12002-000

Пружинное кольцо - Ring, Snap (Circlip # ) (Snap ring)

12 шт150 руб.
3048690-97E00-000

Заглушка Set, Коллектор - Plug Set, Manifold (Plug set, manifold # ) (Комплект заглушек коллектора)

под заказ0 руб.


Время выполнения запроса 7.0892469882965 сек.

 
 

данный сайт носит информационный характер и не является публичной офертой

склад запчастей для водомоторной техники