Купить комплектующие на подвесной мотор Suzuki модель 2005 года - Цилиндр газа
вконтакте

Контактный телефон: +7 (981) 121-46-93, +7 (800) 200-90-76 , Email: parts-katalog@yandex.ru, где купить

 
 

  Логин:

Пароль:

Регистрация

www.partskatalog.ru Все каталоги Запчасти Mercury Запчасти Suzuki Запчасти Tohatsu Запчасти Honda Контакты



УВАЖАЕМЫЕ КЛИЕНТЫ!
C 19 ДЕКАБРЯ 2025 ПО 02 МАРТА 2026 ГОДА ОТДЕЛ ЗАПЧАСТЕЙ И СЕРВИС РАБОТАТЬ НЕ БУДУТ
ПРОДАЖА ЛОДОЧНЫХ МОТОРОВ В ШТАТНОМ РЕЖИМЕ
ОБ ИЗМЕНЕНИЯХ В ГРАФИКЕ РАБОТЫ ЧИТАЙТЕ НА САЙТА



назад Раздел:   вперёд

Вернуться к выбору узлов мотора


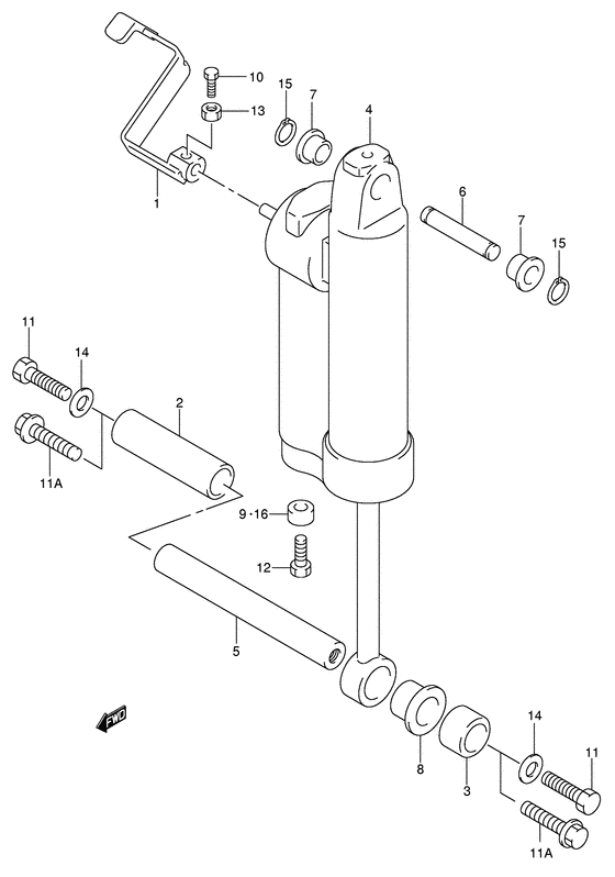
ДЕТАЛИРОВКА ДЛЯ МОДЕЛИ: SUZUKI DF50THLK5(E1) K5

Цилиндр газа


Год выпуска двигателя: 2005

Номер на
рисунке
АртикулНаименованиеQTYКол-во
на складе
Цена
145260-89J00-000

Освобождающий рычаг - Lever, Release (Рукоятка заднего хода)

под заказ4590 руб.
145260-89J01-000

   (актуальный код замены) Освобождающий рычаг - Lever, Release

под заказ4590 руб.
247225-89J00-000

Воротник, Tilt Cyl нижний Stbd - Collar, Tilt Cyl Lower Stbd (Хомут рукоятки)

под заказ1400 руб.
347226-89J00-000

Воротник нижнего цилиндра наклона - Collar, Tilt Cylinder Lower (Collar, tilt cyl lower port; # ) (Хомут рукоятки)

под заказ690 руб.
447400-87J32-000

Цилиндр в сборе, Gas - Cylinder Assy, Gas (Cylinder assy, gas)

под заказ121920 руб.
548121-89J10-000

Вал наклона Цилиндр Lwr - Shaft, Tilt Cylinder Lwr (Shaft, tilt cyl lower # Shaft, tilt cylinder lower; # ) (Вал гидроподъемника)

под заказ6680 руб.
648321-89J10-000

Вал наклона Цилиндр вышеr - Shaft, Tilt Cylinder Upr (Shaft, tilt cylinder upper; # )

под заказ1700 руб.
648321-89J11-000

   (актуальный код замены) Вал наклона Цилиндр вышеr - Shaft, Tilt Cylinder Upr

под заказ1700 руб.
648321-89J11-000

Вал наклона Цилиндр вышеr - Shaft, Tilt Cylinder Upr (Shaft, tilt cylinder upper)

под заказ1700 руб.
648321-89J11-000

Вал наклона Цилиндр вышеr - Shaft, Tilt Cylinder Upr (Shaft, tilt cylinder upper; Model:10 # ) (Shaft, tilt cylinder upper)

под заказ1700 руб.
748325-89J00-000

Втулка верхнего цилиндра наклона - Bush, Tilt Cyl Upper (Bush, tilt cyl upper # Bush, tilt cylinder upper; # ) (Втулка верхнего цилиндра)

4 шт330 руб.
848326-89J00-000

Втулка снизу цилиндра наклона - Bush, Tilt Cyl Lower (Bush, tilt cyl lower # Bush, tilt cylinder lower; # ) (Втулка нижнего цилиндра)

5 шт590 руб.
955321-87J00-000

Защитный анод - Anode, Protection (Протекторная защита)

1 шт750 руб.
955321-87J01-000

   (актуальный код замены) Защитный анод - Anode, Protection

под заказ850 руб.
9SMO-55321-87J01-000

   (не оригинальный аналог) Защитный анод SMO-55321-87J01-000 (оригинал)

под заказ590 руб.
9SMO-55321-87J01-000

  (аналог) Защитный анод SMO-55321-87J01-000 (оригинал) - код 55321-87J01-000

 под заказ шт585 руб.
1009100-06113-000

Болт (6x16) - Bolt (6x16) (Bolt (6x16); # ) (Болт)

под заказ140 руб.
1109100-10220-000

Болт (10x35) - Bolt (10x35) (Bolt (10x35) # Bolt (10x35); Model:01~03 # ) (Bolt)

под заказ1040 руб.
1109116-10131-000

Болт (10x35) - Bolt (10x35) (Bolt (10x35); Model:04~10 # )

под заказ1000 руб.
1109116-10179-000

   (актуальный код замены) Болт (10x35) - Bolt (10x35)

под заказ1000 руб.
1109116-10179-000

Болт (10x35) - Bolt (10x35) (Bolt (10x35))

под заказ1000 руб.
1109116-10179-000

Болт (10x35) - Bolt (10x35) (Bolt (10x35))

под заказ1000 руб.
1209128-06021-000

Болт (6x14) - Bolt (6x14) (Bolt (6x14); # ) (Bolt (6x14))

под заказ200 руб.
1209103-06281-000

Болт (6x14) - Bolt (6x14) (Bolt, protection anode # Model:06~10 # ) (Bolt)

6 шт270 руб.
1309140-06020-000

Гайка - Nut (Гайка)

9 шт150 руб.
1409160-10081-000

Шайба (10x20x3) - Washer (10x20x3) (Washer (10x20x3.0) # Washer (10x20x3.0); Model:01~03 # ) (Шайба)

под заказ240 руб.
1509380-12002-000

Пружинное кольцо - Ring, Snap (Circlip # E ring; # ) (Snap ring)

12 шт150 руб.
1655321-87J10-000

Анод, Magnesium - Anode, Magnesium (Anode (magnesium); Opt # ) (Анод)

под заказ1490 руб.
1655321-87J11-000

   (актуальный код замены) Анод (магниевый) - Anode (magnesium)

27 шт1490 руб.


Время выполнения запроса 0.7890841960907 сек.

 
 

данный сайт носит информационный характер и не является публичной офертой

склад запчастей для водомоторной техники