Купить оригинальные запчасти на подвесной двигатель Suzuki модель 2005 года - Механизированный дифферент наклона
вконтакте

Контактный телефон: +7 (981) 121-46-93, +7 (800) 200-90-76 , Email: parts-katalog@yandex.ru, где купить

 
 

  Логин:

Пароль:

Регистрация

www.partskatalog.ru Все каталоги Запчасти Mercury Запчасти Suzuki Запчасти Tohatsu Запчасти Honda Контакты



УВАЖАЕМЫЕ КЛИЕНТЫ!
C 19 ДЕКАБРЯ 2025 ПО 02 МАРТА 2026 ГОДА ОТДЕЛ ЗАПЧАСТЕЙ И СЕРВИС РАБОТАТЬ НЕ БУДУТ
ПРОДАЖА ЛОДОЧНЫХ МОТОРОВ В ШТАТНОМ РЕЖИМЕ
ОБ ИЗМЕНЕНИЯХ В ГРАФИКЕ РАБОТЫ ЧИТАЙТЕ НА САЙТА



назад Раздел:   вперёд

Вернуться к выбору узлов мотора


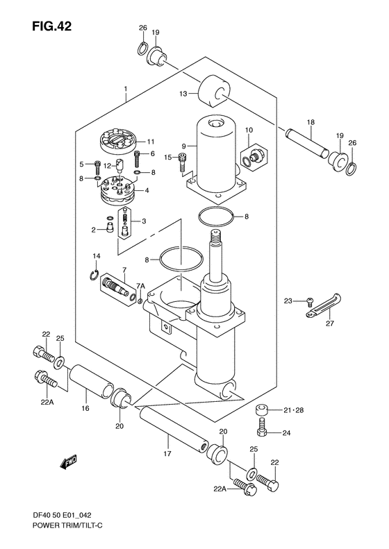
ДЕТАЛИРОВКА ДЛЯ МОДЕЛИ: SUZUKI DF50THLK5(E1) K5

Механизированный дифферент наклона


Год выпуска двигателя: 2005

Номер на
рисунке
АртикулНаименованиеQTYКол-во
на складе
Цена
148000-87J14-000

Трим в сборе, система наклона двигателя - Trim Assy, Power With Tilt

под заказ313920 руб.
148000-87J25-000

   (актуальный код замены) Трим в сборе, система наклона двигателя - Trim Assy, Power With Tilt

под заказ313920 руб.
148000-87J23-000

Трим в сборе, система наклона двигателя - Trim Assy, Power With Tilt (Trim assy, power with tilt)

под заказ313920 руб.
148000-87J25-000

   (актуальный код замены) Трим в сборе, система наклона двигателя - Trim Assy, Power With Tilt

под заказ313920 руб.
148000-87J21-000

Трим в сборе, система наклона двигателя - Trim Assy, Power With Tilt (Model:04 # )

под заказ313920 руб.
148000-87J25-000

   (актуальный код замены) Трим в сборе, система наклона двигателя - Trim Assy, Power With Tilt

под заказ313920 руб.
148000-87J30-000

Трим в сборе, система наклона двигателя - Trim Assy, Power With Tilt (Model:05~10 # )

под заказ298080 руб.
148000-87J44-000

   (актуальный код замены) Трим в сборе, система наклона двигателя - Trim Assy, Power With Tilt

под заказ298080 руб.
148000-87J42-000

Трим в сборе, система наклона двигателя - Trim Assy, Power With Tilt (Trim assy, power with tilt)

под заказ298080 руб.
148000-87J44-000

   (актуальный код замены) Трим в сборе, система наклона двигателя - Trim Assy, Power With Tilt

под заказ298080 руб.
148000-87J40-000

Трим в сборе, система наклона двигателя - Trim Assy, Power With Tilt (Df40:010456~, df50:010979~ # )

под заказ298080 руб.
148000-87J44-000

   (актуальный код замены) Трим в сборе, система наклона двигателя - Trim Assy, Power With Tilt

под заказ298080 руб.
248320-87J10-000

Клапан, вышеr Pressure - Valve, Upr Pressure (Клапан прессуры)

под заказ3360 руб.
348330-87J10-000

Клапан нижнего давления - Valve, Down Pressure (Клапан прессуры)

под заказ2720 руб.
448510-97E00-000

Насос шестерни - Pump Assy, Gear (Насос)

под заказ11480 руб.
548541-87J10-000

Болт - Bolt (Bolt)

под заказ1280 руб.
648541-87J20-000

Болт - Bolt (Bolt)

под заказ1350 руб.
748551-87J10-000

Ручной клапан - Valve, Manual

под заказ5140 руб.
748551-87J40-000

   (актуальный код замены) Ручной клапан - Valve, Manual

под заказ5140 руб.
748551-87J40-000

Ручной клапан - Valve, Manual (Valve, manual)

под заказ5140 руб.
748551-87J40-000

Ручной клапан - Valve, Manual (Df40:010456~, df50:010979~ # ) (Valve, manual)

под заказ5140 руб.
748553-88L00-000

Сальник, Шайба - Seal, Washer (Уплотнение)

под заказ1260 руб.
848557-87J10-000

Набор уплотнительных колец - O Ring Set (O ring set)

5 шт1410 руб.
948571-87J11-000

Бак резервуара - Tank, Reservoir

под заказ23720 руб.
948571-87J21-000

   (актуальный код замены) Бак резервуара - Tank, Reservoir

под заказ23720 руб.
948571-87J20-000

Бак резервуара - Tank, Reservoir (Tank)

1 шт23720 руб.
948571-87J21-000

   (актуальный код замены) Бак резервуара - Tank, Reservoir

под заказ23720 руб.
1048572-87J10-000

Заглушка - Plug (Plug)

2 шт2030 руб.
1148582-97E01-000

Фильтр - Filter (Filter, pump # ) (Filter)

под заказ1860 руб.
1248583-87J10-000

Соединение привода - Joint, Drive (Соединение)

2 шт2020 руб.
1348611-87J10-000

Соединитель - Joint (Joint)

под заказ0 руб.
1448681-87J10-000

Стопорное кольцо - Circlip

под заказ860 руб.
1448681-87J11-000

   (актуальный код замены) Стопорное кольцо - Circlip

под заказ860 руб.
1448681-87J11-000

Стопорное кольцо - Circlip (Circlip)

под заказ860 руб.
1548862-87J10-000

Болт резервуара - Bolt, Reservoir (Bolt, tank; # )

под заказ1350 руб.
1548862-87J20-000

   (актуальный код замены) Болт резервуара - Bolt, Reservoir

2 шт1350 руб.
1548862-87J20-000

Болт резервуара - Bolt, Reservoir (Bolt, reservoir)

2 шт1350 руб.
1647225-87J00-000

Воротник нижнего цилиндра наклона - Collar, Tilt Cylinder Lower (Хомут рукоятки)

под заказ1050 руб.
1748121-89J10-000

Вал наклона Цилиндр Lwr - Shaft, Tilt Cylinder Lwr (Shaft, tilt cyl lower # Shaft, tilt cylinder lower; # ) (Вал гидроподъемника)

под заказ6680 руб.
1848321-89J10-000

Вал наклона Цилиндр вышеr - Shaft, Tilt Cylinder Upr (Shaft, tilt cylinder upper; # )

под заказ1700 руб.
1848321-89J11-000

   (актуальный код замены) Вал наклона Цилиндр вышеr - Shaft, Tilt Cylinder Upr

под заказ1700 руб.
1848321-89J11-000

Вал наклона Цилиндр вышеr - Shaft, Tilt Cylinder Upr (Shaft, tilt cylinder upper)

под заказ1700 руб.
1848321-89J11-000

Вал наклона Цилиндр вышеr - Shaft, Tilt Cylinder Upr (Shaft, tilt cylinder upper; Model:10 # ) (Shaft, tilt cylinder upper)

под заказ1700 руб.
1948325-89J00-000

Втулка верхнего цилиндра наклона - Bush, Tilt Cyl Upper (Bush, tilt cyl upper # Bush, tilt cylinder upper; # ) (Втулка верхнего цилиндра)

4 шт330 руб.
2048326-87J00-000

Втулка снизу цилиндра наклона - Bush, Tilt Cylinder Lower (Bush, tilt cylinder lower; # ) (Втулка нижнего цилиндра)

5 шт870 руб.
2155321-87J00-000

Защитный анод - Anode, Protection (Протекторная защита)

1 шт750 руб.
2155321-87J01-000

   (актуальный код замены) Защитный анод - Anode, Protection

под заказ850 руб.
21SMO-55321-87J01-000

   (не оригинальный аналог) Защитный анод SMO-55321-87J01-000 (оригинал)

под заказ590 руб.
21SMO-55321-87J01-000

  (аналог) Защитный анод SMO-55321-87J01-000 (оригинал) - код 55321-87J01-000

 под заказ шт585 руб.
2209100-10220-000

Болт (10x35) - Bolt (10x35) (Bolt (10x35) # Bolt (10x35); Model:01~03 # ) (Bolt)

под заказ1040 руб.
2209116-10131-000

Болт (10x35) - Bolt (10x35) (Bolt (10x35); Model:04~10 # )

под заказ1000 руб.
2209116-10179-000

   (актуальный код замены) Болт (10x35) - Bolt (10x35)

под заказ1000 руб.
2209116-10179-000

Болт (10x35) - Bolt (10x35) (Bolt (10x35))

под заказ1000 руб.
2209116-10179-000

Болт (10x35) - Bolt (10x35) (Bolt (10x35))

под заказ1000 руб.
2309125-06063-000

Винт (6x10) - Screw (6x10) (Screw (6x10); # ) (Винт 6X10 (SUS))

6 шт190 руб.
2409128-06021-000

Болт (6x14) - Bolt (6x14) (Bolt (6x14); # ) (Bolt (6x14))

под заказ200 руб.
2409103-06281-000

Болт (6x14) - Bolt (6x14) (Bolt, protection anode # Model:06~10 # ) (Bolt)

6 шт270 руб.
2509160-10081-000

Шайба (10x20x3) - Washer (10x20x3) (Washer (10x20x3.0) # Washer (10x20x3.0); Model:01~03 # ) (Шайба)

под заказ240 руб.
2609380-12002-000

Пружинное кольцо - Ring, Snap (Circlip # E ring; # ) (Snap ring)

12 шт150 руб.
2729404-93J10-000

Струбцина - Clamp (Струбцина переключателя)

под заказ190 руб.
2729404-93J11-000

   (актуальный код замены) Струбцина - Clamp

под заказ190 руб.
2855321-87J10-000

Анод, Magnesium - Anode, Magnesium (Anode (magnesium); Opt # ) (Анод)

под заказ1490 руб.
2855321-87J11-000

   (актуальный код замены) Анод (магниевый) - Anode (magnesium)

27 шт1490 руб.


Время выполнения запроса 1.2741801738739 сек.

 
 

данный сайт носит информационный характер и не является публичной офертой

склад запчастей для водомоторной техники