| |
 |
|
 |
Вернуться к выбору узлов мотора
ДЕТАЛИРОВКА ДЛЯ МОДЕЛИ: SUZUKI DF50WQHLK5(E1) K5
Двигатель гидроподъёма
Код модели двигателя: DF50(W)QHS/L; DF50(W)TS/L
Год выпуска двигателя: 2005
Регион: General Export No.1 ,Код региона: P01
Цвет: Shadow Black Metallic
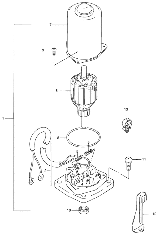
Номер на рисунке | Артикул | Наименование | QTY | Кол-во на складе | Цена |
| 1 | 38100-87J00-0EP | Двигатель гидроподъёма лодочного мотора (чёрный) - Motor Assy, Ptt (black) (Motor assy, ptt (black) # Motor assy, ptt (black); # ) (Мотор) | | под заказ | 0 руб. |
| 2 | 31173-87J00-000 | Держатель, Щётка - Holder, Brush (Brush holder # ) (Держатель, щетка) | | под заказ | 43440 руб. |
| 3 | 31133-97E00-000 | Щётка - Brush (Brush) | | 4 шт | 0 руб. |
| 4 | 31136-87J00-000 | Размыкатель - Breaker (Вакуумник карбюратора) | | 1 шт | 7920 руб. |
| 5 | 31135-97E00-000 | Пружина - Spring (Пружина) | | 2 шт | 580 руб. |
| 6 | 31311-87J00-000 | Якорь - Armature (Отсутствующе) | | под заказ | 0 руб. |
| 7 | 31110-97E00-0EP | Yoke в сборе (чёрный) - Yoke Assy (black) (Yoke assy (black); # ) (Хомут) | | под заказ | 0 руб. |
| 8 | 31123-97E00-000 | Уплотнительное кольцо - O Ring | | под заказ | 1250 руб. |
| 8 | 31123-97E10-000 | (актуальный код замены) Уплотнительное кольцо - O Ring | | 3 шт | 1400 руб. |
| 8 | 31123-97E10-000 | Уплотнительное кольцо - O Ring (O ring) | | 3 шт | 1400 руб. |
| 9 | 09136-05041-000 | Винт (5x20) - Screw (5x20) (Screw, rod adjuster # ) (Болт) | | 4 шт | 150 руб. |
| 10 | 33799-97E00-000 | Сальник - Seal, Oil (Oil seal # Seal, oil; # ) (Сальник) | | 6 шт | 2550 руб. |
| 11 | 48862-97E00-000 | Винт, Motor - Screw, Motor (Винт) | | под заказ | 0 руб. |
| 12 | 38111-97E00-000 | Держатель, Ptt Кабели - Holder, Ptt Cable (Holder, ptt cable # ) (Держатель протектора) | | под заказ | 0 руб. |
| 13 | 09403-14315-000 | Струбцина - Clamp (Clamp, harness # ) (Clamp) | | под заказ | 240 руб. |
Время выполнения запроса 0.58464694023132 сек. |
|