Купить оригинальные запчасти на лодочный мотор Suzuki модель 2006 года - Переключающая тяга - Drag link
вконтакте

Контактный телефон: +7 (981) 121-46-93, +7 (800) 200-90-76 , Email: parts-katalog@yandex.ru, где купить

 
 

  Логин:

Пароль:

Регистрация

www.partskatalog.ru Все каталоги Запчасти Mercury Запчасти Suzuki Запчасти Tohatsu Запчасти Honda Контакты

назад Раздел:   вперёд

Вернуться к выбору узлов мотора


ДЕТАЛИРОВКА ДЛЯ МОДЕЛИ: SUZUKI DF50TL K6

Переключающая тяга


Год выпуска двигателя: 2006

Номер на
рисунке
АртикулНаименованиеQTYКол-во
на складе
Цена
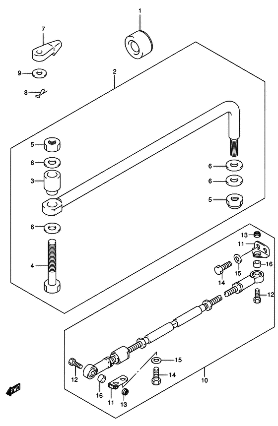
141161-94400-000

Сальник рулевого кабеля - Seal, Steering Cable (Seal, steering cable # ) (Уплотение кабеля)

15 шт1530 руб.
267701-87J11-000

Рулевая тяга в сборе - Link Assy, Drag (Link assy, drag # <-67701-87J00 # ) (Рулевая тяга)

3 шт8930 руб.
367721-87J00-000

Проставка - Spacer (Кольцо/шайба)

под заказ1110 руб.
467725-99E00-000

Болт переключающей тяги - Bolt, Drag Link (Болт соединяющий)

3 шт850 руб.
567726-99E00-000

Блокирующая гайка - Nut, Lock (Гайка блокирующая)

3 шт800 руб.
667728-99E00-000

Шайба - Washer (Шайба)

2 шт260 руб.
767467-89J01-000

Коннектор - Connector (<-67467-99E00 # ) (Переходник)

72 шт850 руб.
809385-06012-000

Зажим - Clip (Clip)

134 шт150 руб.
909160-06055-000

Шайба (7x12x1) - Washer (7x12x1) (Washer (7x12x1.0) # ) (Шайба)

67 шт130 руб.
1067600-90J00-000

Рулевая тяга, комплект - Kit, Tie Rod (OPT # ) (Комплект рулевой тяги)

под заказ175680 руб.
1167631-90J00-000

Кронштейн рулевой тяги - Bracket, Tie Rod (OPT # ) (Кронштейн связки)

под заказ18870 руб.
1267725-99E10-000

Болт - Bolt (OPT # ) (Bolt)

под заказ1200 руб.
1267725-99E20-000

   (актуальный код замены) Болт переключающей тяги - Bolt, Drag Link

под заказ1200 руб.
1367726-99E00-000

Блокирующая гайка - Nut, Lock (OPT # ) (Гайка блокирующая)

3 шт800 руб.
1409100-12081-000

Болт (12x25) - Bolt (12x25) (OPT, REFER TO NO.18 # ) (Bolt)

под заказ1630 руб.
1509160-12066-000

Шайба (12.5x22x2.5) - Washer (125x22x25) (Washer (12.5x22x2.5) # OPT # ) (Шайба)

17 шт150 руб.
1609180-09022-000

Проставка (9.6x18x12) - Spacer (96x18x12) (OPT, REFER TO NO.20 # ) (Кольцо/шайба)

под заказ3410 руб.
1767620-99E00-000

Рулевая тяга, комплект Adapter - Kit, Tie Rod Adapter (OPT, FOR DF40/50 NOT SHOWN # ) (Комплект рулевой тяги)

под заказ0 руб.
1809111-10064-000

Болт (10x25) - Bolt (10x25) (OPT, FOR DF40/50 # ) (Bolt)

под заказ0 руб.
1909160-12066-000

Шайба (12.5x22x2.5) - Washer (125x22x25) (Washer (12.5x22x2.5) # OPT, FOR DF40/50 # ) (Шайба)

17 шт150 руб.
2009180-09023-000

Проставка (9.6x18x6) - Spacer (96x18x6) (OPT, FOR DF40/50 # ) (Кольцо/шайба)

под заказ0 руб.


Время выполнения запроса 0.70204615592957 сек.

 
 

данный сайт носит информационный характер и не является публичной офертой

склад запчастей для водомоторной техники