Подобрать оригинальные запчасти на подвесной двигатель Suzuki модель 2009 года - Впускной коллектор - Inlet manifold
вконтакте

Контактный телефон: +7 (981) 121-46-93, +7 (800) 200-90-76 , Email: parts-katalog@yandex.ru, где купить

 
 

  Логин:

Пароль:

Регистрация

www.partskatalog.ru Все каталоги Запчасти Mercury Запчасти Suzuki Запчасти Tohatsu Запчасти Honda Контакты



УВАЖАЕМЫЕ КЛИЕНТЫ!
C 19 ДЕКАБРЯ 2025 ПО 02 МАРТА 2026 ГОДА ОТДЕЛ ЗАПЧАСТЕЙ И СЕРВИС РАБОТАТЬ НЕ БУДУТ
ПРОДАЖА ЛОДОЧНЫХ МОТОРОВ В ШТАТНОМ РЕЖИМЕ
ОБ ИЗМЕНЕНИЯХ В ГРАФИКЕ РАБОТЫ ЧИТАЙТЕ НА САЙТА



назад Раздел:   вперёд

Вернуться к выбору узлов мотора


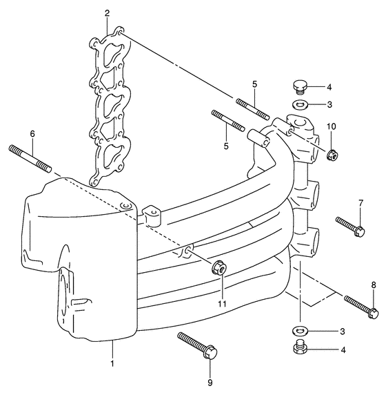
ДЕТАЛИРОВКА ДЛЯ МОДЕЛИ: SUZUKI DF50WTLK9(E1) K9

Впускной коллектор


Год выпуска двигателя: 2009

Номер на
рисунке
АртикулНаименованиеQTYКол-во
на складе
Цена
113111-87J00-000

под заказнет сведений
101550-08167-000

Болт - Bolt (Bolt (8x16) # ) (Bolt)

8 шт210 руб.
109403-18406-000

Струбцина - Clamp (Clamp)

под заказ480 руб.
109403-18413-000

   (актуальный код замены) Струбцина (id: 21) - Clamp (id:21)

под заказ480 руб.
109404-08205-000

Струбцина (l: 45 T: 0.6) - Clamp (l:45 T:06) (Clamp (l:62) # ) (Clamp (l:62))

под заказ170 руб.
109404-08211-000

   (актуальный код замены) Струбцина (l: 45 T: 0.6) - Clamp (l:45 T:0.6)

под заказ170 руб.
113111-87J03-000

Впускной коллектор - Manifold, Intake (Коллектор впускной)

под заказ61920 руб.
113111-87J01-000

Впускной коллектор - Manifold, Intake (Df40:151244~, df50:151629~ # )

под заказ61920 руб.
113111-87J03-000

   (актуальный код замены) Впускной коллектор - Manifold, Intake

под заказ61920 руб.
113111-87J03-000

Впускной коллектор - Manifold, Intake (Коллектор впускной)

под заказ61920 руб.
113111-87J02-000

Впускной коллектор - Manifold, Intake (Model:05, 06 # )

под заказ61920 руб.
113111-87J03-000

   (актуальный код замены) Впускной коллектор - Manifold, Intake

под заказ61920 руб.
113111-87J03-000

Впускной коллектор - Manifold, Intake (Коллектор впускной)

под заказ61920 руб.
113111-87J03-000

Впускной коллектор - Manifold, Intake (Df40:681314~, df50:682257~ # ) (Коллектор впускной)

под заказ61920 руб.
213129-87J00-000

Изолятор впускного коллектора - Insulator, Intake Manifold (Insulator, intake manifold # ) (Insulator, intak)

1 шт5570 руб.
309168-12013-000

Прокладка (11.8x22x1.2) - Gasket (118x22x12) (Gasket, union # ) (Прокладка)

10 шт260 руб.
409247-12104-000

Заглушка (12x9) - Plug (12x9) (Заглушка T D C)

под заказ210 руб.
501421-06407-000

Болт под шпильку - Bolt, Stud (Bolt, stud # ) (Болт)

под заказ240 руб.
601421-08457-000

Болт под шпильку - Bolt, Stud (Болт заклепка)

под заказ360 руб.
701550-06407-000

Болт - Bolt (Bolt (chrome))

4 шт210 руб.
801550-06507-000

Болт - Bolt (Bolt (chrome))

под заказ210 руб.
901550-08557-000

Болт - Bolt (Bolt)

под заказ260 руб.
1008316-10067-000

Гайка - Nut (Гайка)

под заказ170 руб.
1108316-10087-000

Гайка - Nut (Nut (chrome))

14 шт170 руб.


Время выполнения запроса 0.76182508468628 сек.

 
 

данный сайт носит информационный характер и не является публичной офертой

склад запчастей для водомоторной техники