Купить комплектующие на лодочный мотор Suzuki модель 2009 года - Двигатель гидроподъёма
вконтакте

Контактный телефон: +7 (981) 121-46-93, +7 (800) 200-90-76 , Email: parts-katalog@yandex.ru, где купить

 
 

  Логин:

Пароль:

Регистрация

www.partskatalog.ru Все каталоги Запчасти Mercury Запчасти Suzuki Запчасти Tohatsu Запчасти Honda Контакты



УВАЖАЕМЫЕ КЛИЕНТЫ!
C 19 ДЕКАБРЯ 2025 ПО 02 МАРТА 2026 ГОДА ОТДЕЛ ЗАПЧАСТЕЙ И СЕРВИС РАБОТАТЬ НЕ БУДУТ
ПРОДАЖА ЛОДОЧНЫХ МОТОРОВ В ШТАТНОМ РЕЖИМЕ
ОБ ИЗМЕНЕНИЯХ В ГРАФИКЕ РАБОТЫ ЧИТАЙТЕ НА САЙТА



назад Раздел:   вперёд

Вернуться к выбору узлов мотора


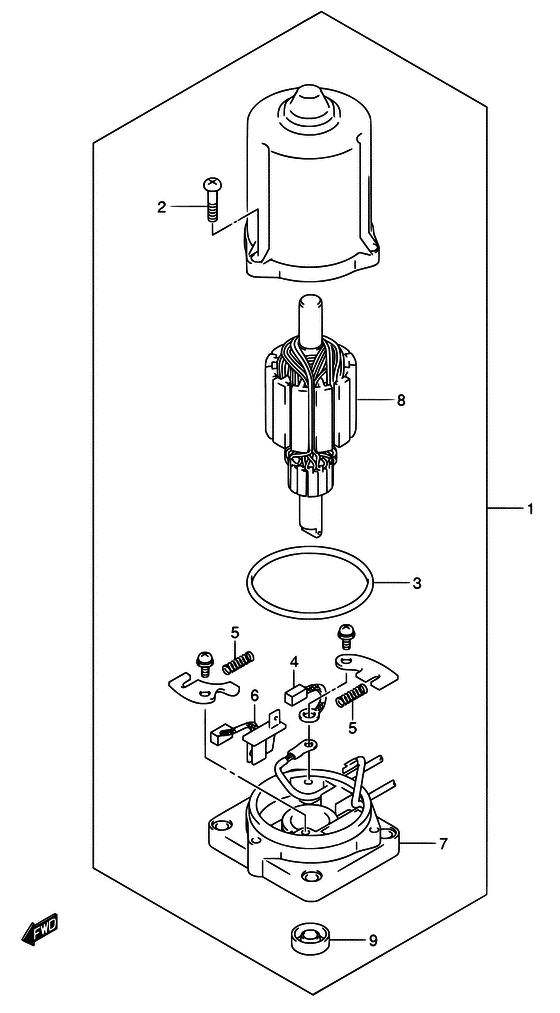
ДЕТАЛИРОВКА ДЛЯ МОДЕЛИ: SUZUKI DF50THL K9

Двигатель гидроподъёма


Год выпуска двигателя: 2009

Номер на
рисунке
АртикулНаименованиеQTYКол-во
на складе
Цена
138100-87J11-000

Двигатель гидроподъёма лодочного мотора - Motor Assy, Ptt (Мотор)

под заказ75360 руб.
138100-87J12-000

   (актуальный код замены) Двигатель гидроподъёма лодочного мотора - Motor Assy, Ptt

под заказ75360 руб.
138100-87J20-000

Двигатель гидроподъёма лодочного мотора - Motor Assy, Ptt (MODEL:05~10 # ) (Мотор)

под заказ73920 руб.
138100-87J21-000

   (актуальный код замены) Двигатель гидроподъёма лодочного мотора - Motor Assy, Ptt

под заказ73920 руб.
231111-87J10-000

Винт - Screw (Болт)

под заказ630 руб.
331123-97E00-000

Уплотнительное кольцо - O Ring

под заказ1250 руб.
331123-97E10-000

   (актуальный код замены) Уплотнительное кольцо - O Ring

3 шт1400 руб.
331123-97E10-000

Уплотнительное кольцо - O Ring (O ring)

3 шт1400 руб.
431133-94900-000

Щётка (+) - Brush (+) (Brush, plus # ) (Brush)

под заказ1440 руб.
431133-94910-000

   (актуальный код замены) Щётка (+) - Brush (+)

6 шт1590 руб.
531135-94900-000

Пружина - Spring (Пружина)

10 шт560 руб.
631136-87J10-000

Размыкатель - Breaker (Вакуумник карбюратора)

под заказ7010 руб.
631136-87J11-000

   (актуальный код замены) Размыкатель - Breaker

4 шт7650 руб.
731173-87J10-000

Держатель щетки - Holder Assy, Brush (Кронштейн, передний)

под заказ0 руб.
731173-87J11-000

   (актуальный код замены) Запчасть снята с производства - The Spare Part Is Laid Off

под заказ0 руб.
731173-87J20-000

Держатель щетки - Holder Assy, Brush (MODEL:05~10 # ) (Кронштейн, передний)

под заказ51360 руб.
731173-87J21-000

   (актуальный код замены) Держатель щетки - Holder Assy, Brush

под заказ51360 руб.
831311-87J10-000

Якорь - Armature (Отсутствующе)

под заказ47520 руб.
933799-97E00-000

Сальник - Seal, Oil (Oil seal # ) (Сальник)

6 шт2550 руб.


Время выполнения запроса 3.5277438163757 сек.

 
 

данный сайт носит информационный характер и не является публичной офертой

склад запчастей для водомоторной техники