| |
 |
|
 |
Вернуться к выбору узлов мотора
ДЕТАЛИРОВКА ДЛЯ МОДЕЛИ: SUZUKI DF50QHLK10(E1) K10
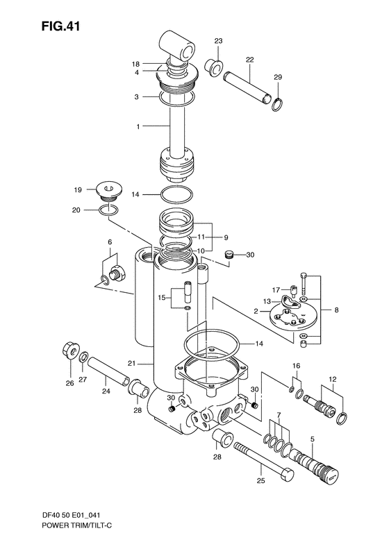
Механизированный дифферент наклона
Год выпуска двигателя: 2010
Номер на рисунке | Артикул | Наименование | QTY | Кол-во на складе | Цена |
| 1 | 48601-97E01-000 | Поршень Тяга - Piston Rod (Палец поршня) | | под заказ | 48960 руб. |
| 2 | 48510-97E00-000 | Насос шестерни - Pump Assy, Gear (Насос) | | под заказ | 11480 руб. |
| 3 | 48633-97E00-000 | Уплотнительное кольцо, Головка блока цилиндра - O Ring, Cylinder Head (O ring, cylinder head; # ) (Кольцо крышки цилиндра) | | 1 шт | 0 руб. |
| 4 | 48634-97E00-000 | Уплотнительное кольцо, Головка блока цилиндра - O Ring, Cylinder Head (O ring, cylinder head; # ) (Кольцо головки цилиндров) | | 1 шт | 0 руб. |
| 5 | 48530-87J00-000 | Клапан, Main Check - Valve, Main Check (Valve, main check # ) (Клапан) | | под заказ | 13920 руб. |
| 6 | 48572-97E00-000 | Заглушка Set, Резервуар - Plug Set, Reservoir (Plug set, reservoir # ) (Комплект заглушек резервуара) | | под заказ | 0 руб. |
| 7 | 48536-97E01-000 | Набор уплотнительных колец, Main Check - O Ring Set, Main Check (O ring, main check # ) (Комплект колец) | | под заказ | 0 руб. |
| 8 | 48541-97E01-000 | Болт Set - Bolt Set (Набор болтов) | | под заказ | 1560 руб. |
| 9 | 48650-97E00-000 | Поршень Free Set - Piston Free Set (Комплект поршеня) | | под заказ | 7970 руб. |
| 10 | 48405-87D00-000 | Набор уплотнительных колец - O Ring Set (O ring # ) (Комплект колец) | | 11 шт | 780 руб. |
| 11 | 48615-97E00-000 | Поршневые кольца - Ring Set, Piston (Ring set, piston # ) (Кольца поршневые) | | 7 шт | 1170 руб. |
| 12 | 48550-87J00-000 | Ручной клапан - Valve, Manual (Клапан) | | 1 шт | 8510 руб. |
| 13 | 48582-97E01-000 | Фильтр - Filter (Filter, pump # Filter, pump; # ) (Filter) | | под заказ | 1860 руб. |
| 14 | 48505-87D10-000 | Набор уплотнительных колец, Коллектор - O Ring Set, Manifold (O ring set; # ) (Комплект колец) | | 1 шт | 1960 руб. |
| 15 | 48830-97E01-000 | Клапан нижнего давления - Valve, Down Pressure (Valve, down pressure # ) (Клапан прессуры) | | под заказ | 2810 руб. |
| 16 | 48557-97E00-000 | Набор уплотнительных колец, ручной, Клапан - O Ring Set, Manual, Valve (O ring set, manual valve # ) (Кольцо) | | под заказ | 410 руб. |
| 17 | 48583-87J00-000 | Drive, Соединитель - Drive, Joint (Соединение) | | под заказ | 0 руб. |
| 18 | 48632-97E00-000 | Сальник Cyl Head - Seal, Oil Cyl Head (Сальник головки цилиндров) | | под заказ | 0 руб. |
| 19 | 48575-97E01-000 | Заглушка, Резервуар - Plug, Reservoir (Заглушка резервуар) | | под заказ | 0 руб. |
| 20 | 48576-97E01-000 | Уплотнительное кольцо, Резервуар Заглушка - O Ring, Reservoir Plug (O ring # ) (Кольцо резервуара) | | под заказ | 410 руб. |
| 21 | 48641-97E01-0EP | Коллектор гидроподъема (чёрный) - Manifold, Ptt (black) (Коллектор предохранителя (чёрный)) | | под заказ | 84960 руб. |
| 22 | 48321-97E01-000 | Вал наклона Цилиндр вышеr - Shaft, Tilt Cylinder Upr (Shaft, tilt cylinder upper # Shaft, tilt cylinder upper; # ) (Вал гидроподъемника) | | 1 шт | 1640 руб. |
| 23 | 48325-97E00-000 | Втулка, Цилиндр наклона вышеr - Bush, Tilt Cylinder Upr (Bush, tilt cylinder upper; # ) (Втулка цилиндра) | | под заказ | 360 руб. |
| 24 | 48121-97E00-000 | Вал наклона Цилиндр Lwr - Shaft, Tilt Cylinder Lwr (Shaft, tilt cylinder lower # Shaft, tilt cylinder lower; # ) (Вал гидроподъемника) | | под заказ | 0 руб. |
| 25 | 09100-10190-000 | Болт (10x145) - Bolt (10x145) (Bolt (10x145); # ) | | под заказ | 4230 руб. |
| 25 | 09100-10190-XC0 | (актуальный код замены) Болт (10x145) - Bolt (10x145) | | под заказ | 4230 руб. |
| 25 | 09100-10190-XC0 | Болт (10x145) - Bolt (10x145) (Bolt, 10x145) | | под заказ | 4230 руб. |
| 26 | 09159-10050-000 | Гайка - Nut (Гайка) | | 8 шт | 250 руб. |
| 27 | 09160-10082-000 | Шайба (10.5x19x2) - Washer (105x19x2) (Washer # Washer (10.5x19x2.0); # ) (Gasket (10.5x19x2)) | | 19 шт | 120 руб. |
| 28 | 09307-18002-000 | Втулка - Bush (Втулка) | | под заказ | 840 руб. |
| 29 | 09380-12002-000 | Пружинное кольцо - Ring, Snap (Circlip # Ring, snap; # ) (Snap ring) | | 12 шт | 150 руб. |
| 30 | 48690-97E00-000 | Заглушка Set, Коллектор - Plug Set, Manifold (Plug set, manifold # ) (Комплект заглушек коллектора) | | под заказ | 0 руб. |
Время выполнения запроса 0.86152791976929 сек. |
|