Подобрать запчасти на лодочный мотор SUZUKI DF50(W)QHS/L; DF50(W)TS/L - Cylinder block - Блок цилиндра
вконтакте

Контактный телефон: +7 (981) 121-46-93, +7 (800) 200-90-76 , Email: parts-katalog@yandex.ru, где купить

 
 

  Логин:

Пароль:

Регистрация

www.partskatalog.ru Все каталоги Запчасти Mercury Запчасти Suzuki Запчасти Tohatsu Запчасти Honda Контакты



УВАЖАЕМЫЕ КЛИЕНТЫ!
C 19 ДЕКАБРЯ 2025 ПО 02 МАРТА 2026 ГОДА ОТДЕЛ ЗАПЧАСТЕЙ И СЕРВИС РАБОТАТЬ НЕ БУДУТ
ПРОДАЖА ЛОДОЧНЫХ МОТОРОВ В ШТАТНОМ РЕЖИМЕ
ОБ ИЗМЕНЕНИЯХ В ГРАФИКЕ РАБОТЫ ЧИТАЙТЕ НА САЙТА



назад Раздел:   вперёд

Вернуться к выбору узлов мотора


ДЕТАЛИРОВКА ДЛЯ МОДЕЛИ: SUZUKI DF50THLK10(E1) K10

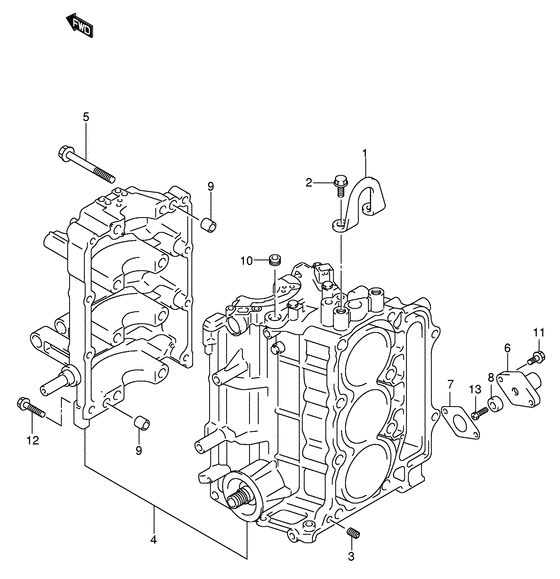
Блок цилиндра


Код модели двигателя: DF50(W)QHS/L; DF50(W)TS/L

Год выпуска двигателя: 2010

Регион: General Export No.1 ,Код региона: P01

Цвет: Shadow Black Metallic

Номер на
рисунке
АртикулНаименованиеQTYКол-во
на складе
Цена
111291-87J00-019

Крюк двигателя (чёрный) - Hook, Engine (black) (Hook, engine (black) # Hook, engine (black); # ) (Скоба двигателя)

под заказ0 руб.
111291-87J00-000

Крюк двигателя - Hook, Engine (Model:05~10 # ) (Крюк двигателя)

под заказ1200 руб.
201550-08207-000

Болт - Bolt (Bolt)

10 шт240 руб.
311112-73010-000

Заглушка масляной трубки Вентури - Plug, Oil Venturi (Заглушка)

под заказ300 руб.
411300-87J01-019

Блок цилиндра в сборе - Block Assy, Cylinder (Block, cylinder (black) # Block, cylinder (black); # ) (Блок цилиндров)

под заказ0 руб.
411300-87J10-019

Блок цилиндра - Block Set, Cylinder (Block, cylinder (black); Model:03 # )

под заказ0 руб.
411301-87J10-000

   (актуальный код замены) Запчасть снята с производства - The Spare Part Is Laid Off

под заказ0 руб.
411301-87J10-000

Блок цилиндра - Block Set, Cylinder (Блок цилиндров)

под заказ0 руб.
411301-87J10-000

Блок цилиндра - Block Set, Cylinder (Model:03, inc.no.3, 5~13 # ) (Блок цилиндров)

под заказ0 руб.
411301-87J20-000

Блок цилиндра - Block Set, Cylinder (Model:04, inc.no.3, 5~13 # ) (Блок цилиндров)

под заказ0 руб.
411301-87J30-000

Блок цилиндра - Block Set, Cylinder (Model:05~09, inc.no.3, 5~13 # )

под заказ313920 руб.
411301-87J40-000

   (актуальный код замены) Блок цилиндра - Block Set, Cylinder

под заказ313920 руб.
411301-87J40-000

Блок цилиндра - Block Set, Cylinder (Block set, cylinder)

под заказ313920 руб.
411301-87J40-000

Блок цилиндра - Block Set, Cylinder (Model:10, inc.no.3, 5~13 # ) (Block set, cylinder)

под заказ313920 руб.
511117-87J01-000

Внутренний болт картера двигателя - Bolt, Crankcase Inside

под заказ590 руб.
511117-89J20-000

   (актуальный код замены) Внутренний болт картера двигателя - Bolt, Crankcase Inside

под заказ590 руб.
511117-89J20-000

Внутренний болт картера двигателя - Bolt, Crankcase Inside (Bolt, crankcase inside)

под заказ590 руб.
509116-10127-000

Внутренний болт картера двигателя - Bolt, Crankcase Inside (Bolt (10x98); Df40:151299~, df50:151768~ # )

под заказ590 руб.
511117-89J20-000

   (актуальный код замены) Внутренний болт картера двигателя - Bolt, Crankcase Inside

под заказ590 руб.
511117-89J20-000

Внутренний болт картера двигателя - Bolt, Crankcase Inside (Bolt, crankcase inside)

под заказ590 руб.
511117-89J20-000

Внутренний болт картера двигателя - Bolt, Crankcase Inside (Bolt, crankcase inside)

под заказ590 руб.
511117-89J10-000

Внутренний болт картера двигателя - Bolt, Crankcase Inside (Bolt (10x98); Model:04~09 # )

под заказ590 руб.
511117-89J20-000

   (актуальный код замены) Внутренний болт картера двигателя - Bolt, Crankcase Inside

под заказ590 руб.
511117-89J20-000

Внутренний болт картера двигателя - Bolt, Crankcase Inside (Bolt, crankcase inside)

под заказ590 руб.
511117-89J20-000

Внутренний болт картера двигателя - Bolt, Crankcase Inside (Bolt (10x98); Model:10 # ) (Bolt, crankcase inside)

под заказ590 руб.
611261-87E10-0EP

Крышка защитного анода - Cover, Protection Anode (Cover, protection anode (black) # Cover, protection (black); # ) (Крышка протектора (чёрная))

под заказ2640 руб.
611261-87E10-000

Крышка защитного анода - Cover, Protection Anode (Cover, protection anode # Model:04~10 # ) (Крышка протектора)

под заказ1510 руб.
711265-87E10-000

Прокладка защитной крышки - Gasket, Protection Cover (Gasket, protection anode; # ) (Прокладка крышки)

4 шт390 руб.
855321-87J00-000

Защитный анод - Anode, Protection (Zinc, protection; # ) (Протекторная защита)

1 шт750 руб.
855321-87J01-000

   (актуальный код замены) Защитный анод - Anode, Protection

под заказ850 руб.
8SMO-55321-87J01-000

   (не оригинальный аналог) Защитный анод SMO-55321-87J01-000 (оригинал)

под заказ590 руб.
8SMO-55321-87J01-000

  (аналог) Защитный анод SMO-55321-87J01-000 (оригинал) - код 55321-87J01-000

 под заказ шт585 руб.
909206-13019-000

Штифт (10.4x13x16) - Pin (104x13x16) (Pin, knock; # ) (Стопор)

под заказ180 руб.
1009246-08004-000

Заглушка, 3 / 8pt H: 4 - Plug, 3/8pt H:4 (Plug)

под заказ260 руб.
1101550-06207-000

Болт - Bolt (Bolt (chrome))

17 шт220 руб.
1201550-08407-000

Болт - Bolt (Болт 8 X 40)

под заказ260 руб.
1209116-08124-000

Болт - Bolt (Bolt (w/washer); Model:04~10 # )

под заказ260 руб.
1201550-08407-000

   (актуальный код замены) Болт - Bolt

под заказ260 руб.
1201550-08407-000

Болт - Bolt (Болт 8 X 40)

под заказ260 руб.
1309128-06021-000

Болт (6x14) - Bolt (6x14) (Bolt (6x14))

под заказ200 руб.
1309103-06281-000

Болт (6x14) - Bolt (6x14) (Bolt, protection anode # Model:06~10 # ) (Bolt)

6 шт270 руб.


Время выполнения запроса 2.3310608863831 сек.

 
 

данный сайт носит информационный характер и не является публичной офертой

склад запчастей для водомоторной техники