|   | 
   
     
     | 
    | 
     | 
  
 Вернуться к выбору узлов мотора 
 ДЕТАЛИРОВКА ДЛЯ МОДЕЛИ: SUZUKI DF60AT FROM 06002F-410001~ (E03) 
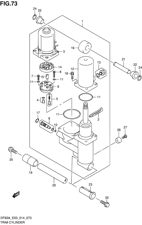
Цилиндр трима  
Код модели двигателя: DF60AT(H)S/L/X; DF60AQHS/L/X; DF60AWT(H)S/L/X; DF60AWQHL/X  
Год выпуска двигателя: 2014  
Регион: USA  ,Код региона:  P03  
Цвет: Shadow Black Metallic 
 
 
Номер на   рисунке | Артикул | Наименование | QTY | Кол-во   на складе | Цена |  
| 1 | 48000-88L15-000 | Трим в сборе, система наклона двигателя - Trim Assy, Power With Tilt (Trim assy, power with tilt)  |  | под заказ | 225600 руб. |  
| 1 | 48000-88L30-000 |    (актуальный код замены) Трим в сборе, система наклона двигателя - Trim Assy, Power With Tilt  |  | под заказ | 225600 руб. |  
| 2 | 29404-93J10-000 | Струбцина - Clamp (Струбцина переключателя)  |  | под заказ | 190 руб. |  
| 2 | 29404-93J11-000 |    (актуальный код замены) Струбцина - Clamp  |  | под заказ | 190 руб. |  
| 3 | 38100-88L11-000 | Двигатель гидроподъёма лодочного мотора - Motor Assy, Ptt (Motor assy, ptt)  |  | под заказ | 73920 руб. |  
| 3 | 38100-88L12-000 |    (актуальный код замены) Двигатель гидроподъёма лодочного мотора - Motor Assy, Ptt  |  | под заказ | 73920 руб. |  
| 4 | 48320-87J10-000 | Клапан, вышеr Pressure - Valve, Upr Pressure (Клапан прессуры)  |  | под заказ | 3360 руб. |  
| 5 | 48330-87J10-000 | Клапан нижнего давления - Valve, Down Pressure (Клапан прессуры)  |  | под заказ | 2720 руб. |  
| 6 | 48510-97E00-000 | Насос шестерни - Pump Assy, Gear (Насос)  |  | под заказ | 11480 руб. |  
| 7 | 48541-87J10-000 | Болт - Bolt (Bolt)  |  | под заказ | 1280 руб. |  
| 8 | 48541-87J20-000 | Болт - Bolt (Bolt)  |  | под заказ | 1350 руб. |  
| 9 | 48551-88L00-000 | Ручной клапан - Valve, Manual (Valve, manual)  |  | под заказ | 8840 руб. |  
| 10 | 48553-88L00-000 | Сальник, Шайба - Seal, Washer (Уплотнение)  |  | под заказ | 1260 руб. |  
| 11 | 48557-87J10-000 | Набор уплотнительных колец - O Ring Set (O ring set)  |  | 5 шт | 1410 руб. |  
| 12 | 48571-88L00-000 | Бак резервуара - Tank, Reservoir (Tank, reservoir)  |  | под заказ | 17910 руб. |  
| 12 | 48571-88L01-000 |    (актуальный код замены) Бак резервуара - Tank, Reservoir  |  | под заказ | 17910 руб. |  
| 13 | 48572-87L00-000 | Заглушка - Plug (Plug)  |  | под заказ | 1880 руб. |  
| 14 | 48582-97E01-000 | Фильтр - Filter (Filter, pump # ) (Filter)  |  | под заказ | 1860 руб. |  
| 15 | 48583-87J10-000 |    Соединение привода - Joint, Drive (Соединение)  |  | 2 шт | 2020 руб. |  
| 16 | 48611-88L00-000 | Металлический соединитель - Joint, Metal (Joint, metal)  |  | под заказ | 18530 руб. |  
| 17 | 48681-87J11-000 | Стопорное кольцо - Circlip (Circlip)  |  | под заказ | 860 руб. |  
| 18 | 48862-87J20-000 | Болт резервуара - Bolt, Reservoir (Bolt, reservoir)  |  | 2 шт | 1350 руб. |  
| 19 | 47225-88L00-000 | Воротник, Tilt Cyl нижний - Collar, Tilt Cyl Lower (Collar, tilt cyl lower)  |  | 1 шт | 400 руб. |  
| 20 | 48121-88L00-000 | Вал наклона Цилиндр Lwr - Shaft, Tilt Cylinder Lwr (Shaft, tilt cyl lower)  |  | под заказ | 8930 руб. |  
| 21 | 48321-89J11-000 | Вал наклона Цилиндр вышеr - Shaft, Tilt Cylinder Upr (Shaft, tilt cylinder upper)  |  | под заказ | 1700 руб. |  
| 22 | 48325-89J00-000 | Втулка верхнего цилиндра наклона - Bush, Tilt Cyl Upper (Bush, tilt cyl upper # ) (Втулка верхнего цилиндра)  |  | 6 шт | 330 руб. |  
| 23 | 48326-87J00-000 | Втулка снизу цилиндра наклона - Bush, Tilt Cylinder Lower (Втулка нижнего цилиндра)  |  | 6 шт | 870 руб. |  
| 24 | 09380-12002-000 |    Пружинное кольцо - Ring, Snap (Circlip # ) (Snap ring)  |  | 12 шт | 150 руб. |  
| 25 | 09116-10179-000 | Болт (10x35) - Bolt (10x35) (Bolt (10x35))  |  | под заказ | 1000 руб. |  
| 26 | 55321-87J00-000 | Защитный анод - Anode, Protection (Протекторная защита)  |  | 1 шт | 750 руб. |  
| 26 | 55321-87J01-000 |    (актуальный код замены) Защитный анод - Anode, Protection  |  | под заказ | 850 руб. |  
| 26 | SMO-55321-87J01-000 |    (не оригинальный аналог) Защитный анод SMO-55321-87J01-000 (оригинал)  |  | под заказ | 590 руб. |  
| 26 | SMO-55321-87J01-000 |   (аналог)  Защитный анод SMO-55321-87J01-000 (оригинал) - код 55321-87J01-000   |   | под заказ шт | 585 руб. |  
| 27 | 09103-06281-000 | Болт (6x14) - Bolt (6x14) (Bolt, protection anode # ) (Bolt)  |  | 6 шт | 270 руб. |  
 
 
 Время выполнения запроса 0.94404101371765 сек.     | 
     |