Оригинальные запчасти на лодочный мотор Suzuki DF60TL/X - Transmission / Трансмиссия
вконтакте

Контактный телефон: +7 (981) 121-46-93, +7 (800) 200-90-76 , Email: parts-katalog@yandex.ru, где купить

 
 

  Логин:

Пароль:

Регистрация

www.partskatalog.ru Все каталоги Запчасти Mercury Запчасти Suzuki Запчасти Tohatsu Запчасти Honda Контакты



УВАЖАЕМЫЕ КЛИЕНТЫ!
C 19 ДЕКАБРЯ 2025 ПО 02 МАРТА 2026 ГОДА ОТДЕЛ ЗАПЧАСТЕЙ И СЕРВИС РАБОТАТЬ НЕ БУДУТ
ПРОДАЖА ЛОДОЧНЫХ МОТОРОВ В ШТАТНОМ РЕЖИМЕ
ОБ ИЗМЕНЕНИЯХ В ГРАФИКЕ РАБОТЫ ЧИТАЙТЕ НА САЙТА



назад Раздел:   вперёд

Вернуться к выбору узлов мотора


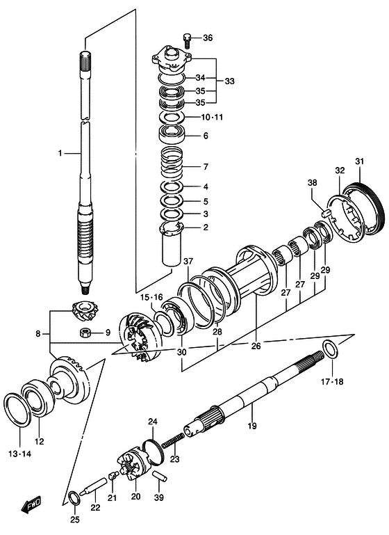
ДЕТАЛИРОВКА ДЛЯ МОДЕЛИ: SUZUKI DF60TL K2

Трансмиссия


Код модели двигателя: DF60TL/X

Год выпуска двигателя: 2002

Цвет: Shadow Black Metallic

Номер на
рисунке
АртикулНаименованиеQTYКол-во
на складе
Цена
157110-99E00-000

Запчасть снята с производства - The Spare Part Is Laid Off

под заказ0 руб.
157110-99E10-000

Вал привода (l) - Shaft, Drive (l) (Shaft assy, drive (l) # DF60:861256~ DF70:861336~ # ) (Торсионный вал (L))

под заказ91200 руб.
157110-99E20-000

Запчасть снята с производства - The Spare Part Is Laid Off

под заказ0 руб.
257133-87E00-000

Воротник приводного вала - Collar, Drive Shaft (Coller, drive shaft # ) (Хомут торсионного вала)

под заказ0 руб.
357134-87E10-000

Защита, Drive Sft Воротник - Protector, Drive Sft Collar (Protector, dr sft collar # ) (Протектор)

1 шт0 руб.
409160-31005-000

Шайба (31x39x2) - Washer (31x39x2) (Washer (31x39x2.0) # ) (Шайба, 31X39X2)

под заказ0 руб.
509169-33001-000

Шайба - Washer (Washer (33x40x2.0) # ) (Шайба)

9 шт0 руб.
609265-25040-000

Подшипник (25x52x19.25) - Bearing (25x52x1925) (<-9265-25023 # )

под заказ7200 руб.
609265-25046-000

   (актуальный код замены) Подшипник (25x52x19.25) - Bearing (25x52x19.25)

10 шт7810 руб.
632205XRKOYO

   (подбор по маркировке) Подшипник KOYO 32205XR(25*52*18 мм)

под заказ725 руб.
609265-25046-000

Подшипник (25x52x19.25) - Bearing (25x52x1925) (Bearing (25x52x19.25))

10 шт7810 руб.
632205XRKOYO

   (подбор по маркировке) Подшипник KOYO 32205XR(25*52*18 мм)

под заказ725 руб.
709440-38006-000

Пружина - Spring (Пружина)

под заказ580 руб.
857300-99800-000

Шестерня & Gr & Корпус вала передачи Set - Pinion & Gr & Drive Shaft Set (->7300-99830 CONTENTS SHAFT, DRIVE NUT, PINION PINION/GEAR SET (57300-99810) # )

под заказ0 руб.
857300-99830-000

   (актуальный код замены) Запчасть снята с производства - The Spare Part Is Laid Off

под заказ0 руб.
857300-99830-000

Шестерня & Gr & Корпус вала передачи Set - Pinion & Gr & Drive Shaft Set (Pinion / gr / drive shaft set)

под заказ0 руб.
857300-99810-000

Комплект шестерёнок - Pinion & Gear Set (DF60:861256~ DF70:861336~ # ) (Набор шестерен)

под заказ0 руб.
909140-12034-000

Гайка - Nut (DF60:861256~ DF70:861336~ # ) (Гайка)

10 шт270 руб.
909140-14036-000

Гайка - Nut (Гайка)

под заказ0 руб.
1057500-87872-000

Комплект регулировочных шайб приводного вала - Shim Set, Drive Shaft

под заказ5140 руб.
1057500-87873-000

   (актуальный код замены) Комплект регулировочных шайб приводного вала - Shim Set, Drive Shaft

8 шт6280 руб.
1057500-87873-000

Комплект регулировочных шайб приводного вала - Shim Set, Drive Shaft (Набор шайб)

8 шт6280 руб.
1109181-40190-000

Регулировочная шайба (40x52x0.8) - Shim (40x52x08) (Shim (t:0.80) # ) (Шайба T:0.8)

4 шт280 руб.
1109181-40195-000

Регулировочная шайба (40x52x1) - Shim (40x52x1) (Shim (t:1.00) # ) (Шайба T:1.0)

11 шт420 руб.
1109181-41003-000

Регулировочная шайба (41x52x0.6) - Shim (41x52x06) (Shim (t:0.60) # ) (Шайба 41X52X0.6)

2 шт470 руб.
1109181-41004-000

Регулировочная шайба (41x52x0.65) - Shim (41x52x065) (Shim (t:0.65) # ) (Шайба 41X52X0.65)

17 шт470 руб.
1109181-41005-000

Регулировочная шайба (41x52x0.7) - Shim (41x52x07) (Shim (t:0.70) # ) (Шайба 41X52X0.7)

7 шт470 руб.
1109181-41006-000

Регулировочная шайба (41x52x0.75) - Shim (41x52x075) (Shim (t:0.75) # ) (Шайба 41X52X0.75)

9 шт470 руб.
1109181-41008-000

Регулировочная шайба (41x52x0.85) - Shim (41x52x085) (Shim (t:0.85) # ) (Шайба 41X52X0.85)

под заказ470 руб.
1109181-41009-000

Регулировочная шайба (41x52x0.9) - Shim (41x52x09) (Shim (t:0.90) # ) (Шайба 41X52X0.9)

под заказ470 руб.
1109181-41010-000

Регулировочная шайба (41x52x0.95) - Shim (41x52x095) (Shim (t:0.95) # ) (Шайба 41X52X0.95)

под заказ470 руб.
1109181-41012-000

Регулировочная шайба (41x52x1.05) - Shim (41x52x105) (Shim (t:1.05) # ) (Шайба 41X52X1.05)

под заказ470 руб.
1109181-41013-000

Регулировочная шайба (41x52x1.1) - Shim (41x52x11) (Shim (t:1.10) # ) (Шайба 41X52X1.1)

под заказ470 руб.
1109181-41014-000

Регулировочная шайба (41x52x1.15) - Shim (41x52x115) (Shim (t:1.15) # ) (Шайба 41X52X1.15)

под заказ470 руб.
1209265-40003-000

Подшипник (40x75x26) - Bearing (40x75x26) (Bearing # ) (Подшипник 40X75X26)

4 шт13000 руб.
1233108JE1KOYO

   (подбор по маркировке) Подшипник KOYO 33108JE-1(40*75*26 мм)

под заказ2052 руб.
1357500-87882-000

Комплект регулировочных шайб шестерни переднего хода - Shim Set, Forward Gear (Shim set, forward gear # ) (Набор шайб)

2 шт7560 руб.
1409181-64002-000

Регулировочная шайба (64x75x0.55) - Shim (64x75x055) (Shim (t:0.55) # ) (Шайба 64X75X0.55)

9 шт660 руб.
1409181-64003-000

Регулировочная шайба (64x75x0.6) - Shim (64x75x06) (Shim (t:0.60) # ) (Шайба 64X75X0.6)

9 шт660 руб.
1409181-64004-000

Регулировочная шайба (64x75x0.65) - Shim (64x75x065) (Shim (t:0.65) # ) (Шайба 64X75X0.65)

10 шт660 руб.
1409181-64005-000

Регулировочная шайба (64x75x0.7) - Shim (64x75x07) (Shim (t:0.70) # ) (Шайба 64X75X0.7)

10 шт660 руб.
1409181-64006-000

Регулировочная шайба (64x75x0.75) - Shim (64x75x075) (Shim (t:0.75) # ) (Шайба 64X75X0.75)

10 шт660 руб.
1409181-64007-000

Регулировочная шайба (64x75x0.8) - Shim (64x75x08) (Shim (t:0.80) # ) (Шайба 64X75X0.8)

10 шт660 руб.
1409181-64008-000

Регулировочная шайба (64x75x0.85) - Shim (64x75x085) (Shim (t:0.85) # ) (Шайба 64X75X0.85)

под заказ660 руб.
1409181-64009-000

Регулировочная шайба (64x75x0.9) - Shim (64x75x09) (Shim (t:0.90) # ) (Шайба 64X75X0.9)

9 шт660 руб.
1409181-64010-000

Регулировочная шайба (64x75x0.95) - Shim (64x75x095) (Shim (t:0.95) # ) (Шайба 64X75X0.9)

под заказ660 руб.
1409181-64011-000

Регулировочная шайба (64x75x1) - Shim (64x75x1) (Shim (t:1.00) # ) (Шайба 64X75X1.0)

9 шт790 руб.
1557500-87892-000

Комплект регулировочных шайб шестерни обратного хода - Shim Set, Reverse Gear (Shim set, reverse gear # ) (Набор шайб)

под заказ0 руб.
1609181-40033-000

Запчасть снята с производства - The Spare Part Is Laid Off

под заказ0 руб.
1609181-40034-000

Запчасть снята с производства - The Spare Part Is Laid Off

под заказ0 руб.
1609181-40035-000

Запчасть снята с производства - The Spare Part Is Laid Off

под заказ0 руб.
1609181-40036-000

Запчасть снята с производства - The Spare Part Is Laid Off

под заказ0 руб.
1609181-40176-000

Регулировочная шайба (40x50x1.2) - Shim (40x50x12) (Shim (t:1.2) # ) (Шайба (1.2))

под заказ470 руб.
1609181-40181-000

Запчасть снята с производства - The Spare Part Is Laid Off

под заказ0 руб.
1609181-40182-000

Регулировочная шайба (40x50x1.4) - Shim (40x50x14) (Shim (t:1.4) # ) (Шайба (1.4))

под заказ470 руб.
1609181-40195-000

Регулировочная шайба (40x52x1) - Shim (40x52x1) (Shim (t:1.00) # ) (Шайба T:1.0)

11 шт420 руб.
1609181-40212-000

Регулировочная шайба (40x50x1.5) - Shim (40x50x15) (Шайба T:1.5)

под заказ470 руб.
1609181-41013-000

Регулировочная шайба (41x52x1.1) - Shim (41x52x11) (Shim (t:1.10) # ) (Шайба 41X52X1.1)

под заказ470 руб.
1757510-87811-000

Упорная шайба Set - Thrust Washer Set (Thrust washer set # ) (Шайба)

под заказ0 руб.
1808211-28363-000

Шайба - Washer (Washer (t:2.0) # ) (Шайба)

под заказ300 руб.
1808211-28364-000

Шайба - Washer (Washer (t:2.2) # ) (Шайба)

под заказ300 руб.
1808211-28365-000

Шайба - Washer (Washer (t:2.5) # ) (Thrust washer 2)

под заказ300 руб.
1809160-28023-000

Запчасть снята с производства - The Spare Part Is Laid Off

под заказ0 руб.
1809160-28024-000

Запчасть снята с производства - The Spare Part Is Laid Off

под заказ0 руб.
1809160-28025-000

Запчасть снята с производства - The Spare Part Is Laid Off

под заказ0 руб.
1809160-28026-000

Запчасть снята с производства - The Spare Part Is Laid Off

под заказ0 руб.
1809160-28027-000

Шайба (28x36x2.1) - Washer (28x36x21) (Washer (t:2.1) # ) (Шайба, 28X36X2.)

под заказ0 руб.
1809160-28028-000

Запчасть снята с производства - The Spare Part Is Laid Off

под заказ0 руб.
1809160-28029-000

Запчасть снята с производства - The Spare Part Is Laid Off

под заказ0 руб.
1809160-28030-000

Шайба (28x36x2.6) - Washer (28x36x26) (Washer (t:2.6) # ) (Шайба, 28X36X2.)

под заказ0 руб.
1809160-28031-000

Запчасть снята с производства - The Spare Part Is Laid Off

под заказ0 руб.
1809160-28032-000

Шайба (28x36x2.8) - Washer (28x36x28) (Washer (t:2.8) # ) (Шайба, 28X36X2.)

под заказ0 руб.
1809160-28033-000

Запчасть снята с производства - The Spare Part Is Laid Off

под заказ0 руб.
1809181-28184-000

Регулировочная шайба (28x36x1.5) - Shim (28x36x15) (Shim (t:1.5) # ) (Шайба упорная (1)

под заказ0 руб.
1957610-99E00-000

Вал гребного винта - Shaft, Propeller (Shaft assy, propeller # ) (Гребной вал)

под заказ0 руб.
2057621-99E01-000

Переключатель собачки сцепления - Shifter, Clutch Dog (Shifter, clutch dog # ) (Переключатель)

под заказ13880 руб.
2109209-12007-000

Штифт - Pin (Pin)

15 шт460 руб.
2257631-95542-000

Тяга толкателя - Rod, Push (<-7631-95541 # ) (Штанга)

под заказ2910 руб.
2309440-11020-000

Пружина - Spring (Пружина)

под заказ220 руб.
2409440-46006-000

Пружина - Spring (Пружина)

8 шт0 руб.
2509160-24020-000

Шайба (24x33x2.5) - Washer (24x33x25) (Washer (24x33x2.5) # ) (Шайба)

3 шт580 руб.
2656120-87E00-000

Корпус подшипника вала гребного винта - Housing, Propeller Sft Brg (Housing, prop sft brg # ) (Копрус)

под заказ0 руб.
2709263-28013-000

Подшипник (28x37x30) - Bearing (28x37x30) (Bearing # ) (Подшипник 28X37X20)

4 шт3820 руб.
27HMK2820NTN

   (подбор по маркировке) Подшипник NSK HMK 2820(28*37*30 мм)

под заказ0
2809280-86001-000

Уплотнительное кольцо, D: 3.5, Id: 84.5 - O Ring, D:35, Id:845 (O ring (d:3.5 id:84.5) # ) (Кольцо D:3.5 ID)

2 шт0 руб.
2909282-28003-000

Сальник (28x42x6) - Seal, Oil (28x42x6) (Oil seal # ) (Сальник 28X42)

15 шт1110 руб.
3008113-60087-000

Подшипник - Bearing (Bearing, reverse gear # ) (Подшипник B1 40X80X18)

8 шт3620 руб.
30SK08113-60087

   (не оригинальный аналог) Подшипник шестерни заднего хода Skipper для Suzuki DT50/90/100, DF60-70, DF70A-90A

0 шт1091 руб.
3156122-87E00-000

Стопор корпуса подшипника вала гребного винта Корпус - Stopper, Prop Shaft Brg Housing (Стопор пропеллера)

под заказ6480 руб.
3256123-87E00-000

Шайба корпуса подшипника вала гребного винта Корпус - Washer, Prop Shaft Brg Housing (Шайба вала)

под заказ0 руб.
3356130-87E00-000

Корпус вала передачи Сальник - Housing, Drive Shaft Oil Seal (Housing # ) (Корпус)

под заказ8840 руб.
3409280-46004-000

Уплотнительное кольцо (d: 3.5, Id: 45.7) - O Ring (d:35, Id:457) (Кольцо D:3.5 ID)

4 шт300 руб.
34SK09280-46004

   (не оригинальный аналог) Кольцо уплотнительное ведущего вала Skipper для Suzuki Модель техники: DF60-70, DF90-140, DF40A-DF140A

0 шт64 руб.
3509282-22007-000

Сальник (22x36x6) - Seal, Oil (22x36x6) (Seal, oil # <-9282-22004 # ) (Сальник)

76 шт1180 руб.
3609117-08057-000

Болт (8x25) - Bolt (8x25)

под заказ400 руб.
3609117-08110-000

   (актуальный код замены) Болт (8x25) - Bolt (8x25)

под заказ400 руб.
3609117-08110-000

Болт (8x25) - Bolt (8x25) (Bolt (8x25))

под заказ400 руб.
3709160-86001-000

Проставка (86x92x1.5) - Spacer (86x92x15) (Spacer (86x92x1.5) # ) (Прокладка 86X92X1.)

2 шт1760 руб.
3809421-04008-000

Ключ - Key (Ключ)

под заказ550 руб.
3909202-07003-000

Штифт - Pin (Pin)

22 шт480 руб.


Время выполнения запроса 4.1695528030396 сек.

 
 

данный сайт носит информационный характер и не является публичной офертой

склад запчастей для водомоторной техники