| |
 |
|
 |
Вернуться к выбору узлов мотора
ДЕТАЛИРОВКА ДЛЯ МОДЕЛИ: SUZUKI DF60TL K3
Двигатель гидроподъёма
Код модели двигателя: DF60TL/X
Год выпуска двигателя: 2003
Цвет: Shadow Black Metallic
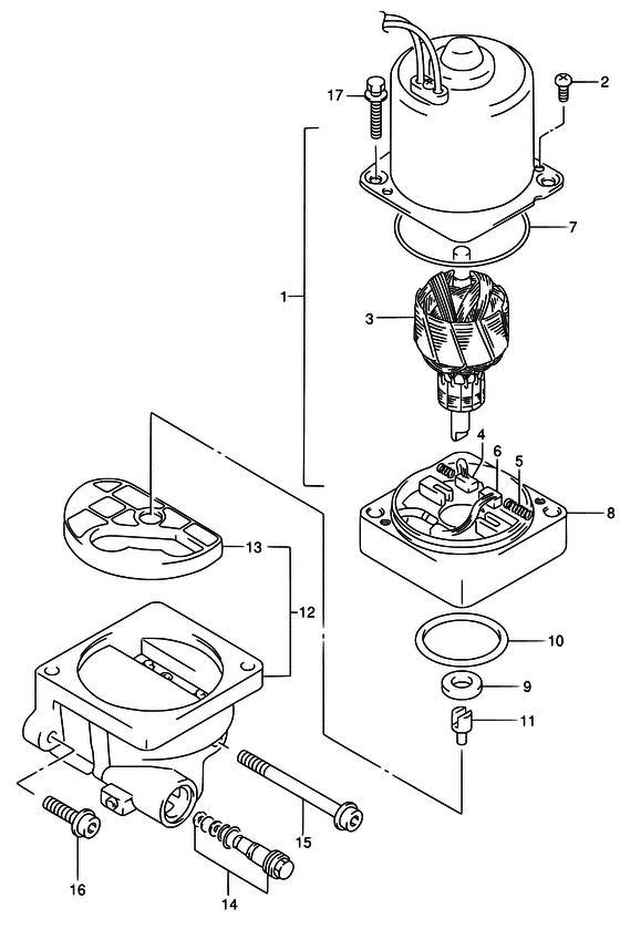
Номер на рисунке | Артикул | Наименование | QTY | Кол-во на складе | Цена |
| 1 | 38100-99E01-0EP | Двигатель гидроподъёма лодочного мотора (чёрный) - Motor Assy, Ptt (black) (Motor assy, ptt (black) # <-8100-99E00-0EP # ) (Мотор (чёрный)) | | под заказ | 0 руб. |
| 2 | 31111-94900-000 | Винт - Screw (Винт) | | под заказ | 430 руб. |
| 3 | 31311-94900-000 | Якорь - Armature (Отсутствующе) | | под заказ | 50400 руб. |
| 4 | 31133-94900-000 | Щётка (+) - Brush (+) (Brush, plus # ) (Brush) | | под заказ | 1440 руб. |
| 4 | 31133-94910-000 | (актуальный код замены) Щётка (+) - Brush (+) | | 6 шт | 1590 руб. |
| 5 | 31135-94900-000 | Пружина - Spring (Пружина) | | 10 шт | 560 руб. |
| 6 | 31136-94900-000 | Размыкатель - Breaker (Breaker assy # <-1136-95E00 # ) (Вакуумник карбюратора) | | под заказ | 8160 руб. |
| 6 | 31136-94910-000 | (актуальный код замены) Размыкатель - Breaker | | под заказ | 8160 руб. |
| 7 | 31123-87D60-000 | Уплотнительное кольцо - O Ring (O ring) | | 20 шт | 1690 руб. |
| 8 | 31173-94900-000 | Держатель щетки - Holder Assy, Brush | | под заказ | 40080 руб. |
| 8 | 31173-94920-000 | (актуальный код замены) Держатель щетки - Holder Assy, Brush | | под заказ | 40080 руб. |
| 8 | 31173-94910-000 | Держатель щетки - Holder Assy, Brush (Holder assy, brush) | | под заказ | 40080 руб. |
| 8 | 31173-94920-000 | (актуальный код замены) Держатель щетки - Holder Assy, Brush | | под заказ | 40080 руб. |
| 9 | 33799-97E00-000 | Сальник - Seal, Oil (Oil seal # ) (Сальник) | | 6 шт | 2550 руб. |
| 10 | 48585-95E00-000 | Уплотнительное кольцо - O Ring (Кольцо протектора) | | 6 шт | 430 руб. |
| 11 | 48583-95E00-000 | Соединение привода - Joint, Drive (Соединение) | | под заказ | 1080 руб. |
| 12 | 48502-94901-000 | Помпа гидроподъема, в сборе - Pump Assy, Ptt (Насос) | | под заказ | 0 руб. |
| 13 | 48582-95E00-000 | Фильтр - Filter | | под заказ | 3890 руб. |
| 13 | 48582-95E01-000 | (актуальный код замены) Фильтр - Filter | | под заказ | 3890 руб. |
| 13 | 48582-95E01-000 | Фильтр - Filter (Filter) | | под заказ | 3890 руб. |
| 14 | 48864-94911-000 | Седло ручного клапана - Valve Set, Manual (Valve set, manual # ) (Комплект клапана) | | под заказ | 0 руб. |
| 15 | 48862-95E00-000 | Болт - Bolt (Bolt) | | под заказ | 1360 руб. |
| 16 | 48862-95E10-000 | Болт - Bolt (Bolt) | | под заказ | 1360 руб. |
| 17 | 31281-95E00-000 | Сквозной болт - Bolt, Through (Болт) | | под заказ | 0 руб. |
Время выполнения запроса 0.74829196929932 сек. |
|