Купить комплектующие на подвесной двигатель Suzuki DF60TL/X - Водяной насос - Water pump
вконтакте

Контактный телефон: +7 (981) 121-46-93, +7 (800) 200-90-76 , Email: parts-katalog@yandex.ru, где купить

 
 

  Логин:

Пароль:

Регистрация

www.partskatalog.ru Все каталоги Запчасти Mercury Запчасти Suzuki Запчасти Tohatsu Запчасти Honda Контакты



УВАЖАЕМЫЕ КЛИЕНТЫ!
C 19 ДЕКАБРЯ 2025 ПО 02 МАРТА 2026 ГОДА ОТДЕЛ ЗАПЧАСТЕЙ И СЕРВИС РАБОТАТЬ НЕ БУДУТ
ПРОДАЖА ЛОДОЧНЫХ МОТОРОВ В ШТАТНОМ РЕЖИМЕ
ОБ ИЗМЕНЕНИЯХ В ГРАФИКЕ РАБОТЫ ЧИТАЙТЕ НА САЙТА



назад Раздел:   вперёд

Вернуться к выбору узлов мотора


ДЕТАЛИРОВКА ДЛЯ МОДЕЛИ: SUZUKI DF60TLK7(E1) K7

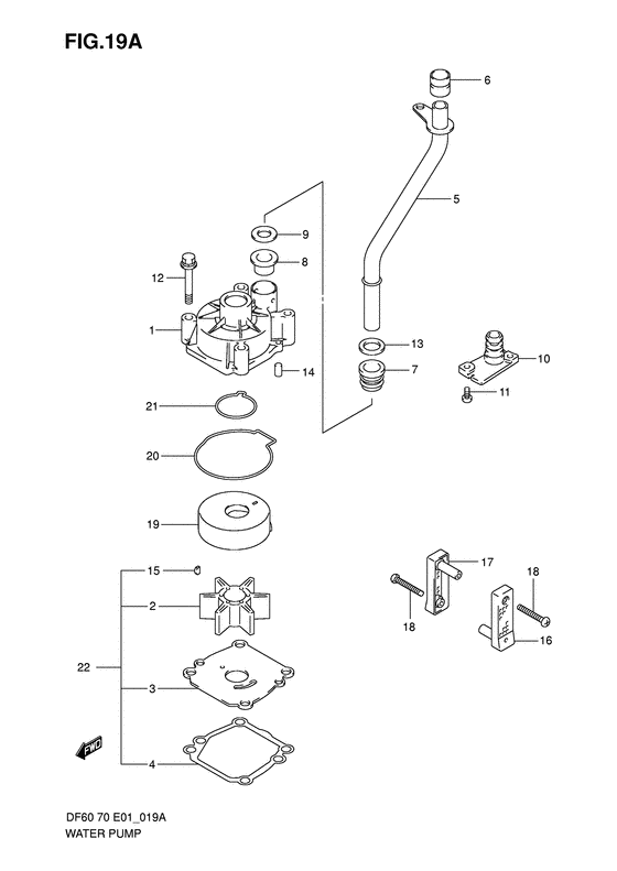
Водяной насос


Код модели двигателя: DF60TL/X

Год выпуска двигателя: 2007

Регион: General Export No.1 ,Код региона: P01

Цвет: Shadow Black Metallic

Номер на
рисунке
АртикулНаименованиеQTYКол-во
на складе
Цена
117410-99E00-000

Корпус водяного насоса - Case, Water Pump (Корпус водной помпы)

4 шт8880 руб.
217461-87E12-000

Крыльчатка водяного насоса - Impeller, Water Pump (Крыльчатка водной помпы)

40 шт6040 руб.
2SC-WT098

   (не оригинальный аналог) Крыльчатка помпы охлаждения двигателя Suzuki SC-WT098

под заказ1740 руб.
317471-99E00-000

Панель в нижней части корпуса помпы - Panel, Pump Case Under (Пластина помпы, верхняя)

5 шт1500 руб.
317471-99E10-000

Панель в нижней части корпуса помпы - Panel, Pump Case Under (Df70wt, 70wth # ) (Пластина помпы, верхняя)

под заказ3820 руб.
417472-87E10-000

Прокладка панели корпуса помпы - Gasket, Pump Case Panel (Gasket, pump case panel # ) (Прокладка панели)

7 шт690 руб.
4SMO-17472-87E10-000

   (не оригинальный аналог) Прокладка SMO-17472-87E10-000 панели корпуса помпы (без упаковки) - оригинал Suzuki

под заказ460 руб.
4SMO-17472-87E10-000

  (аналог) Прокладка SMO-17472-87E10-000 панели корпуса помпы (без упаковки) - оригинал Suzuki - код 17472-87E10-000

 под заказ шт460 руб.
517560-99E01-000

Водяная трубка (l) - Tube, Water (l) (Tube, water (l); # ) (Tube, water (l))

под заказ6580 руб.
517560-99E11-000

Водяная трубка (x) - Tube, Water (x) (Tube, water (x); # ) (Tube, water (x))

под заказ16320 руб.
617562-87D00-000

Втулка, Водяная трубка, верхний - Bush, Water Tube, Upper (Bush, water tube upper # ) (Втулка трубы)

под заказ1160 руб.
617562-87D01-000

   (актуальный код замены) Втулка, Водяная трубка, верхний - Bush, Water Tube, Upper

под заказ1160 руб.
717563-87D00-000

Нижняя втулка водяной трубки - Bush, Water Tube, Lower (Bush, water tube lower # ) (Втулка трубы)

под заказ870 руб.
717563-87D01-000

   (актуальный код замены) Нижняя втулка водяной трубки - Bush, Water Tube, Lower

4 шт930 руб.
817564-87D00-000

Втулка корпуса водяной помпы - Bush, Water Pump Case (Bush, water pump case # ) (Втулка водной помпы)

68 шт1270 руб.
917612-87D00-000

Прокладка водяной трубки - Spacer, Water Tube (Spacer, water tube # ) (Прокладка водной помпы)

4 шт370 руб.
917612-87D01-000

   (актуальный код замены) Прокладка водяной трубки - Spacer, Water Tube

2 шт370 руб.
1017635-90J00-000

Заглушка подключения водяной трубки - Plug, Sub Water Tube (Заглушка трубки)

3 шт520 руб.
1109125-05046-000

Винт (5x12) - Screw (5x12) (Screw (5x12) # Screw (5x12); # ) (Болт)

под заказ150 руб.
1229116-93J10-000

Болт - Bolt (Bolt (8x35) # Bolt (8x35); # ) (Bolt)

14 шт270 руб.
1309161-16008-000

Шайба (15.8x26x1) - Washer (158x26x1) (Washer (15.8x26x1.0); # ) (Шайба)

1 шт170 руб.
1409202-06031-000

Штифт (6x12) - Pin (6x12) (Pin, knock # ) (Pin)

20 шт220 руб.
1509420-04009-000

Ключ - Key (Шпонка водной помпы)

36 шт480 руб.
1617631-90J00-000

Водяной фильтр с левой стороны - Filter, Water Port Side (Filter, water port side # ) (Фильтр водный)

6 шт900 руб.
1717632-90J00-000

Водяной фильтр с правой стороны - Filter, Water Stbd Side (Filter, water stbd side # ) (Фильтр водный)

13 шт890 руб.
1809132-04034-000

Винт (4x18) - Screw (4x18) (Болт)

24 шт170 руб.
1917413-99E10-000

Рукав корпуса водяной помпы - Sleeve, Water Pump Case

под заказ3030 руб.
1917413-99E11-000

   (актуальный код замены) Рукав корпуса водяной помпы - Sleeve, Water Pump Case

9 шт3410 руб.
19SK17413-99E10

   (не оригинальный аналог) Стакан крыльчатки Skipper для Suzuki DF40-DF90

0 шт868 руб.
1917413-99E11-000

Рукав корпуса водяной помпы - Sleeve, Water Pump Case (Sleeve, water pump case)

9 шт3410 руб.
1917413-99E20-000

Рукав корпуса водяной помпы - Sleeve, Water Pump Case (Df70wt, 70wth # )

под заказ10610 руб.
1917413-99E21-000

   (актуальный код замены) Рукав корпуса водяной помпы - Sleeve, Water Pump Case

под заказ10610 руб.
1917413-99E21-000

Рукав корпуса водяной помпы - Sleeve, Water Pump Case (Sleeve, water pump case)

под заказ10610 руб.
2017416-99E00-000

Сальник корпуса водяного насоса №1 - Sealing, Water Pump Case No1 (Sealing no.1)

18 шт810 руб.
2117417-99E00-000

Сальник корпуса водяного насоса №2 - Sealing, Water Pump Case No2 (Sealing no.2)

20 шт770 руб.
2217400-99E01-000

Ремкомплект водяного насоса - Kit, Water Pump Repair (Opt # ) (Комплект водной помпы)

12 шт9540 руб.


Время выполнения запроса 0.81060194969177 сек.

 
 

данный сайт носит информационный характер и не является публичной офертой

склад запчастей для водомоторной техники