Подобрать оригинальные запчасти на подвесной двигатель Suzuki DF60TL/X модель 2007 года - Trim cylinder - Цилиндр трима
вконтакте

Контактный телефон: +7 (981) 121-46-93, +7 (800) 200-90-76 , Email: parts-katalog@yandex.ru, где купить

 
 

  Логин:

Пароль:

Регистрация

www.partskatalog.ru Все каталоги Запчасти Mercury Запчасти Suzuki Запчасти Tohatsu Запчасти Honda Контакты



УВАЖАЕМЫЕ КЛИЕНТЫ!
C 19 ДЕКАБРЯ 2025 ПО 02 МАРТА 2026 ГОДА ОТДЕЛ ЗАПЧАСТЕЙ И СЕРВИС РАБОТАТЬ НЕ БУДУТ
ПРОДАЖА ЛОДОЧНЫХ МОТОРОВ В ШТАТНОМ РЕЖИМЕ
ОБ ИЗМЕНЕНИЯХ В ГРАФИКЕ РАБОТЫ ЧИТАЙТЕ НА САЙТА



назад Раздел:   вперёд

Вернуться к выбору узлов мотора


ДЕТАЛИРОВКА ДЛЯ МОДЕЛИ: SUZUKI DF60TLK7(E1) K7

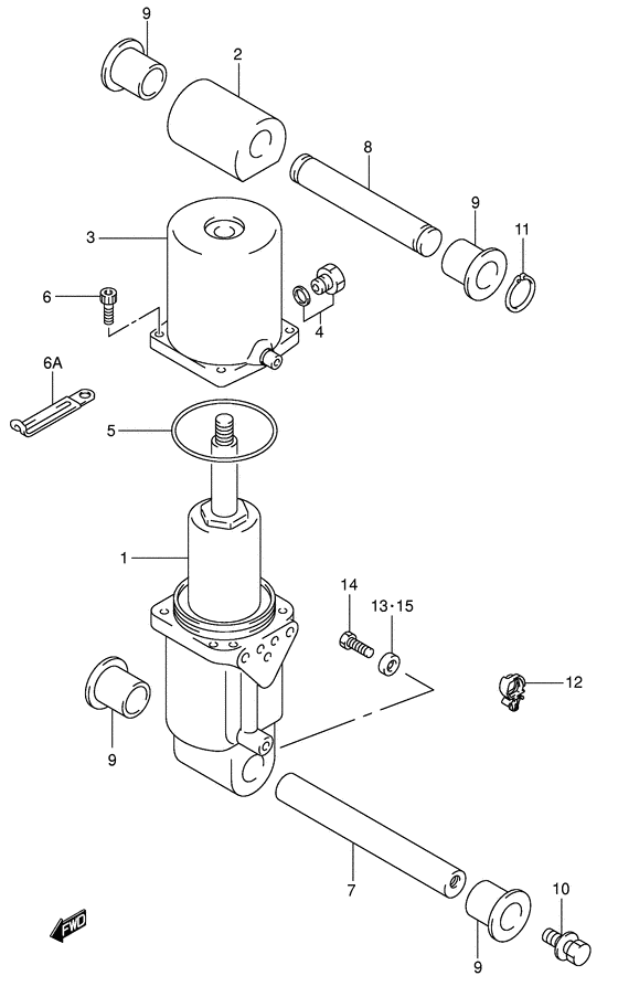
Цилиндр трима


Код модели двигателя: DF60TL/X

Год выпуска двигателя: 2007

Регион: General Export No.1 ,Код региона: P01

Цвет: Shadow Black Metallic

Номер на
рисунке
АртикулНаименованиеQTYКол-во
на складе
Цена
148400-90J00-000

Коллектор в сборе - Manifold Assy (Manifold assy, ptt; # )

под заказ85440 руб.
148400-90J03-000

   (актуальный код замены) Коллектор в сборе - Manifold Assy

1 шт85440 руб.
148400-90J02-000

Коллектор в сборе - Manifold Assy (Коллектор)

под заказ85440 руб.
148400-90J03-000

   (актуальный код замены) Коллектор в сборе - Manifold Assy

1 шт85440 руб.
248611-90J00-000

Металлический соединитель - Joint, Metal (Соединение металлическое)

под заказ18530 руб.
348571-90J01-000

Бак резервуара - Tank, Reservoir

под заказ18150 руб.
348571-87L01-000

   (актуальный код замены) Бак резервуара - Tank, Reservoir

под заказ18150 руб.
348571-87L00-000

Бак резервуара - Tank, Reservoir (Tank, reservoir)

под заказ18150 руб.
348571-87L01-000

   (актуальный код замены) Бак резервуара - Tank, Reservoir

под заказ18150 руб.
348571-90J20-000

Бак резервуара - Tank, Reservoir (Model:04~09 # )

под заказ18150 руб.
348571-87L01-000

   (актуальный код замены) Бак резервуара - Tank, Reservoir

под заказ18150 руб.
448572-87J10-000

Заглушка - Plug (Plug)

2 шт2030 руб.
548557-90J00-000

Уплотнительное кольцо - O Ring (O ring)

4 шт2010 руб.
648862-87J10-000

Болт резервуара - Bolt, Reservoir

под заказ1350 руб.
648862-87J20-000

   (актуальный код замены) Болт резервуара - Bolt, Reservoir

2 шт1350 руб.
648862-87J20-000

Болт резервуара - Bolt, Reservoir (Bolt, reservoir)

2 шт1350 руб.
629404-93J10-000

Струбцина - Clamp (Струбцина переключателя)

под заказ190 руб.
629404-93J11-000

   (актуальный код замены) Струбцина - Clamp

под заказ190 руб.
748121-90J00-000

Вал наклона Цилиндр Lwr - Shaft, Tilt Cylinder Lwr (Shaft, tilt cyl lower # Shaft, tilt cylinder lower; # ) (Вал гидроподъемника)

под заказ7060 руб.
848321-90J00-000

Вал наклона Цилиндр вышеr - Shaft, Tilt Cylinder Upr (Shaft, tilt cyl upper # Shaft, tilt cylinder upper; # ) (Вал гидроподъемника)

под заказ4520 руб.
948326-95E00-000

Втулка, Цилиндр наклона Lwr - Bush, Tilt Cylinder Lwr (Bush, tilt cylinder # Bush, tilt cylinder; # ) (Втулка цилиндра)

13 шт520 руб.
1009116-10131-000

Болт (10x35) - Bolt (10x35)

под заказ1000 руб.
1009116-10179-000

   (актуальный код замены) Болт (10x35) - Bolt (10x35)

под заказ1000 руб.
1009116-10179-000

Болт (10x35) - Bolt (10x35) (Bolt (10x35))

под заказ1000 руб.
1009116-10179-000

Болт (10x35) - Bolt (10x35) (Bolt (10x35))

под заказ1000 руб.
1109380-22015-000

Стопорное кольцо - Circlip (Circlip)

под заказ290 руб.
1209403-20308-000

Струбцина - Clamp (Clip)

4 шт270 руб.
1355321-87J00-000

Защитный анод - Anode, Protection (Протекторная защита)

1 шт750 руб.
1355321-87J01-000

   (актуальный код замены) Защитный анод - Anode, Protection

под заказ850 руб.
13SMO-55321-87J01-000

   (не оригинальный аналог) Защитный анод SMO-55321-87J01-000 (оригинал)

под заказ590 руб.
13SMO-55321-87J01-000

  (аналог) Защитный анод SMO-55321-87J01-000 (оригинал) - код 55321-87J01-000

 под заказ шт585 руб.
1409128-06021-000

Болт (6x14) - Bolt (6x14) (Bolt (6x14); # ) (Bolt (6x14))

под заказ200 руб.
1409103-06281-000

Болт (6x14) - Bolt (6x14) (Bolt, protection anode # Model:06~09 # ) (Bolt)

6 шт270 руб.
1555321-87J10-000

Анод, Magnesium - Anode, Magnesium (Anode (magnesium); Opt # ) (Анод)

под заказ1490 руб.
1555321-87J11-000

   (актуальный код замены) Анод (магниевый) - Anode (magnesium)

27 шт1490 руб.


Время выполнения запроса 0.85354614257812 сек.

 
 

данный сайт носит информационный характер и не является публичной офертой

склад запчастей для водомоторной техники