Купить оригинальные запчасти на подвесной двигатель SUZUKI DF60TL/X модель 2009 года - Ptt motor
вконтакте

Контактный телефон: +7 (981) 121-46-93, +7 (800) 200-90-76 , Email: parts-katalog@yandex.ru, где купить

 
 

  Логин:

Пароль:

Регистрация

www.partskatalog.ru Все каталоги Запчасти Mercury Запчасти Suzuki Запчасти Tohatsu Запчасти Honda Контакты

назад Раздел:   вперёд

Вернуться к выбору узлов мотора


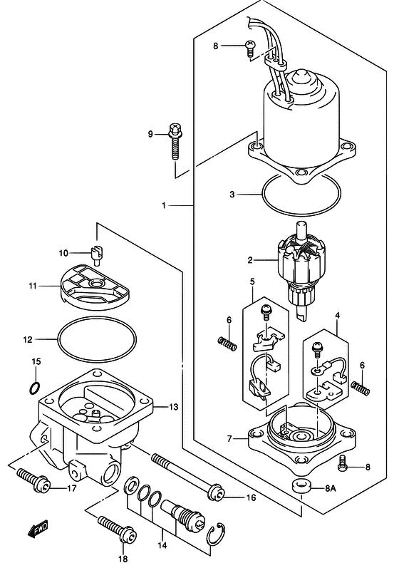
ДЕТАЛИРОВКА ДЛЯ МОДЕЛИ: SUZUKI DF60TL K9

Двигатель гидроподъёма


Код модели двигателя: DF60TL/X

Год выпуска двигателя: 2009

Цвет: Shadow Black Metallic

Номер на
рисунке
АртикулНаименованиеQTYКол-во
на складе
Цена
138100-90J00-000

Двигатель гидроподъёма лодочного мотора - Motor Assy, Ptt

под заказ110880 руб.
138100-90J20-000

   (актуальный код замены) Двигатель гидроподъёма лодочного мотора - Motor Assy, Ptt

под заказ110880 руб.
138100-90J20-000

Двигатель гидроподъёма лодочного мотора - Motor Assy, Ptt (Мотор)

под заказ110880 руб.
138100-90J01-000

Двигатель гидроподъёма лодочного мотора - Motor Assy, Ptt (DF60:371310~ DF70:372342~ # )

под заказ110880 руб.
138100-90J20-000

   (актуальный код замены) Двигатель гидроподъёма лодочного мотора - Motor Assy, Ptt

под заказ110880 руб.
138100-90J20-000

Двигатель гидроподъёма лодочного мотора - Motor Assy, Ptt (Мотор)

под заказ110880 руб.
138100-90J20-000

Двигатель гидроподъёма лодочного мотора - Motor Assy, Ptt (MODEL:04, 05 # ) (Мотор)

под заказ110880 руб.
138100-90J30-000

Двигатель гидроподъёма лодочного мотора - Motor Assy, Ptt (MODEL:06~09 # )

под заказ109440 руб.
138100-90J40-000

   (актуальный код замены) Двигатель гидроподъёма лодочного мотора - Motor Assy, Ptt

под заказ109440 руб.
138100-90J40-000

Двигатель гидроподъёма лодочного мотора - Motor Assy, Ptt (Motor assy, ptt)

под заказ109440 руб.
231311-90J00-000

Якорь - Armature (Отсутствующе)

под заказ62880 руб.
331123-94900-000

Уплотнительное кольцо - O Ring

под заказ1320 руб.
331123-94910-000

   (актуальный код замены) Уплотнительное кольцо - O Ring

4 шт1450 руб.
331123-94910-000

Уплотнительное кольцо - O Ring (O ring)

4 шт1450 руб.
431133-90J00-000

Щётка в сборе - Brush Assy (Brush assy)

под заказ1440 руб.
431133-90J20-000

   (актуальный код замены) Щётка в сборе - Brush Assy

1 шт1750 руб.
531136-90J00-000

Тормоз (прерыватель), в сборе - Breaker Assy (Тормоз)

под заказ9320 руб.
631135-94900-000

Пружина - Spring (Пружина)

8 шт560 руб.
731173-94900-000

Держатель щетки - Holder Assy, Brush

под заказ40080 руб.
731173-94920-000

   (актуальный код замены) Держатель щетки - Holder Assy, Brush

под заказ40080 руб.
731173-94910-000

Держатель щетки - Holder Assy, Brush (Holder assy, brush)

под заказ40080 руб.
731173-94920-000

   (актуальный код замены) Держатель щетки - Holder Assy, Brush

под заказ40080 руб.
831111-94900-000

Винт - Screw (Винт)

под заказ430 руб.
833799-97E00-000

Сальник - Seal, Oil (Oil seal # ) (Сальник)

8 шт2550 руб.
931281-92J00-000

Сквозной болт - Bolt, Through

под заказ1050 руб.
931281-92J10-000

   (актуальный код замены) Сквозной болт - Bolt, Through

под заказ1050 руб.
931281-92J10-000

Сквозной болт - Bolt, Through (Bolt, through)

под заказ1050 руб.
1048583-95E00-000

Соединение привода - Joint, Drive (Соединение)

под заказ1080 руб.
1148582-95E00-000

Фильтр - Filter

под заказ3890 руб.
1148582-95E01-000

   (актуальный код замены) Фильтр - Filter

под заказ3890 руб.
1148582-95E01-000

Фильтр - Filter (Filter)

под заказ3890 руб.
1248585-95E00-000

Уплотнительное кольцо - O Ring (Кольцо протектора)

5 шт430 руб.
1348502-90J00-000

Помпа гидроподъема, в сборе - Pump Assy, Ptt

под заказ145920 руб.
1348502-90J01-000

   (актуальный код замены) Помпа гидроподъема, в сборе - Pump Assy, Ptt

под заказ145920 руб.
1348502-90J01-000

Помпа гидроподъема, в сборе - Pump Assy, Ptt (Насос)

под заказ145920 руб.
1448864-93J00-000

ручной, Клапан - Manual, Valve

под заказ11520 руб.
1448864-93J01-000

   (актуальный код замены) Ручной клапан - Manual Valve

3 шт12500 руб.
1448864-93J01-000

ручной, Клапан - Manual, Valve (Manual valve)

3 шт12500 руб.
1548588-90J00-000

Набор уплотнительных колец - O Ring Set (O ring set)

5 шт1240 руб.
1648862-90J00-000

Болт помпы №1 - Bolt, Pump No1

под заказ1350 руб.
1648862-92J20-000

   (актуальный код замены) Болт помпы №1 - Bolt, Pump No.1

1 шт1350 руб.
1648862-92J20-000

Болт помпы №1 - Bolt, Pump No1 (Bolt, pump no.1)

1 шт1350 руб.
1748862-90J10-000

Болт помпы №2 - Bolt, Pump No2

под заказ1090 руб.
1748862-92J30-000

   (актуальный код замены) Болт помпы №2 - Bolt, Pump No.2

под заказ1090 руб.
1748862-92J30-000

Болт помпы №2 - Bolt, Pump No2 (Bolt, pump no.2)

под заказ1090 руб.
1848862-90J20-000

Болт - Bolt

под заказ1350 руб.
1848862-90J21-000

   (актуальный код замены) Болт - Bolt

под заказ1350 руб.
1848862-90J21-000

Болт - Bolt (Bolt)

под заказ1350 руб.


Время выполнения запроса 1.005352973938 сек.

 
 

данный сайт носит информационный характер и не является публичной офертой

склад запчастей для водомоторной техники