Найти запчасти на подвесной двигатель Suzuki DF60AT(H)S/L/X; DF60AQHS/L/X; DF60AWT(H)S/L/X; DF60AWQHL/X - Корпус вала передачи
вконтакте

Контактный телефон: +7 (981) 121-46-93, +7 (800) 200-90-76 , Email: parts-katalog@yandex.ru, где купить

 
 

  Логин:

Пароль:

Регистрация

www.partskatalog.ru Все каталоги Запчасти Mercury Запчасти Suzuki Запчасти Tohatsu Запчасти Honda Контакты

назад Раздел:   вперёд

Вернуться к выбору узлов мотора


ДЕТАЛИРОВКА ДЛЯ МОДЕЛИ: SUZUKI DF60ATL K10/DF60ATHL K10/DF60AWTL K10/DF60AWTHL K10

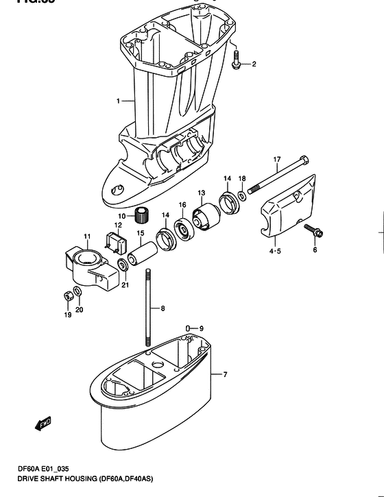
Корпус вала передачи


Код модели двигателя: DF60AT(H)S/L/X; DF60AQHS/L/X; DF60AWT(H)S/L/X; DF60AWQHL/X

Год выпуска двигателя: 2010

Цвет: Shadow Black Metallic

Номер на
рисунке
АртикулНаименованиеQTYКол-во
на складе
Цена
152111-88L00-0EP

Корпус вала передачи (s) - Housing, Drive Shaft (s) (Housing, drive shaft (s))

под заказ51360 руб.
152111-88L10-0EP

Корпус вала передачи (l / x) чёрный - Housing, Drive Shaft (l/x) Black (Housing, drive shaft (l, x))

под заказ61920 руб.
209116-10139-000

Болт (10x44) - Bolt (10x44)

под заказ610 руб.
209116-10176-000

   (актуальный код замены) Болт (10x44) - Bolt (10x44)

4 шт760 руб.
209116-10176-000

Болт (10x44) - Bolt (10x44) (Bolt, 10x44)

4 шт760 руб.
309202-08006-000

Штифт (8x12) - Pin (8x12) (Pin, knock # ) (Pin)

под заказ280 руб.
454221-88L00-0EP

Крышка нижней опоры Stbd - Cover, Lower Mount Stbd (Cover, lower mount stbd)

под заказ7350 руб.
454221-88L20-0EP

   (актуальный код замены) Крышка нижней опоры Stbd - Cover, Lower Mount Stbd

под заказ7350 руб.
554231-88L00-0EP

Крышка нижней опоры Port - Cover, Lower Mount Port

под заказ7350 руб.
554231-88L10-0EP

   (актуальный код замены) Крышка нижней опоры Port - Cover, Lower Mount Port

под заказ7350 руб.
554231-88L01-0EP

Крышка нижней опоры Port - Cover, Lower Mount Port (Cover, lower mount port)

под заказ7350 руб.
554231-88L10-0EP

   (актуальный код замены) Крышка нижней опоры Port - Cover, Lower Mount Port

под заказ7350 руб.
609116-10139-000

Болт (10x44) - Bolt (10x44)

под заказ610 руб.
609116-10176-000

   (актуальный код замены) Болт (10x44) - Bolt (10x44)

4 шт760 руб.
609116-10176-000

Болт (10x44) - Bolt (10x44) (Bolt, 10x44)

4 шт760 руб.
752131-88L00-0EP

Удлинитель копуса - Case, Extension (TYPE:X # ) (Case, extension)

под заказ33120 руб.
809108-08254-000

Болт под шпильку - Bolt, Stud (TYPE:X # ) (Болт)

под заказ1470 руб.
909202-06023-000

Штифт (6x10) - Pin (6x10) (TYPE:X # ) (Pin)

6 шт290 руб.
1057130-94301-000

Втулка вала передачи - Bush, Drive Shaft (Bush, dirve shaft # TYPE:X # ) (Втулка вала)

11 шт1000 руб.
1154211-87J10-0EP

Нижний кронштейн Крепление - Bracket, Lower Mount

под заказ15840 руб.
1154211-87J30-0EP

   (актуальный код замены) Нижний кронштейн Крепление - Bracket, Lower Mount

под заказ15840 руб.
1154211-87J30-0EP

Нижний кронштейн Крепление - Bracket, Lower Mount (Bracket, lower mount)

под заказ15840 руб.
1254151-88L00-000

Крепление нижнего упора - Mount, Lwr Thrust (Mount, lower thrust)

1 шт940 руб.
1254151-88L01-000

   (актуальный код замены) Крепление нижнего упора - Mount, Lower Thrust

1 шт940 руб.
1354160-88L00-000

Крепление, Lwr - Mount, Lwr (Mount, lower)

под заказ7330 руб.
1454167-87L01-000

Крепление, Lwr Side - Mount, Lwr Side (Mount, lower side)

под заказ730 руб.
1554170-88L00-000

Подушка, нижний Крепление - Cushion, Lower Mount (Cushion, lower mount)

2 шт5830 руб.
1654180-88L00-000

Демфер переднего стопора - Damper, Forward Stopper (Damper, forward stopper)

под заказ2520 руб.
1654180-88L01-000

   (актуальный код замены) Демфер переднего стопора - Damper, Forward Stopper

2 шт3410 руб.
1754166-95J02-000

Болт, Lwr Крепление - Bolt, Lwr Mount (Bolt, lower mount)

под заказ3700 руб.
1854114-88L00-000

Шайба, Lwr Крепление Болт - Washer, Lwr Mount Bolt (Washer, lower mount bolt)

под заказ0 руб.
1909159-12014-000

Гайка - Nut (Гайка)

18 шт370 руб.
2009160-12110-000

Шайба (12.5x22x3) - Washer (125x22x3) (Шайба)

6 шт370 руб.
2109160-12113-000

Шайба (12.5x30x2.5) - Washer (125x30x25) (Шайба)

под заказ280 руб.


Время выполнения запроса 0.79824900627136 сек.

 
 

данный сайт носит информационный характер и не является публичной офертой

склад запчастей для водомоторной техники