Запчасти Suzuki - Водяной насос - Water pump
вконтакте

Контактный телефон: +7 (981) 121-46-93, +7 (800) 200-90-76 , Email: parts-katalog@yandex.ru, где купить

 
 

  Логин:

Пароль:

Регистрация

www.partskatalog.ru Все каталоги Запчасти Mercury Запчасти Suzuki Запчасти Tohatsu Запчасти Honda Контакты



УВАЖАЕМЫЕ КЛИЕНТЫ!
C 19 ДЕКАБРЯ 2025 ПО 02 МАРТА 2026 ГОДА ОТДЕЛ ЗАПЧАСТЕЙ И СЕРВИС РАБОТАТЬ НЕ БУДУТ
ПРОДАЖА ЛОДОЧНЫХ МОТОРОВ В ШТАТНОМ РЕЖИМЕ
ОБ ИЗМЕНЕНИЯХ В ГРАФИКЕ РАБОТЫ ЧИТАЙТЕ НА САЙТА



назад Раздел:   вперёд

Вернуться к выбору узлов мотора


ДЕТАЛИРОВКА ДЛЯ МОДЕЛИ: SUZUKI DF60ATL(E01) PRD

Водяной насос


Год выпуска двигателя: 2011

Номер на
рисунке
АртикулНаименованиеQTYКол-во
на складе
Цена
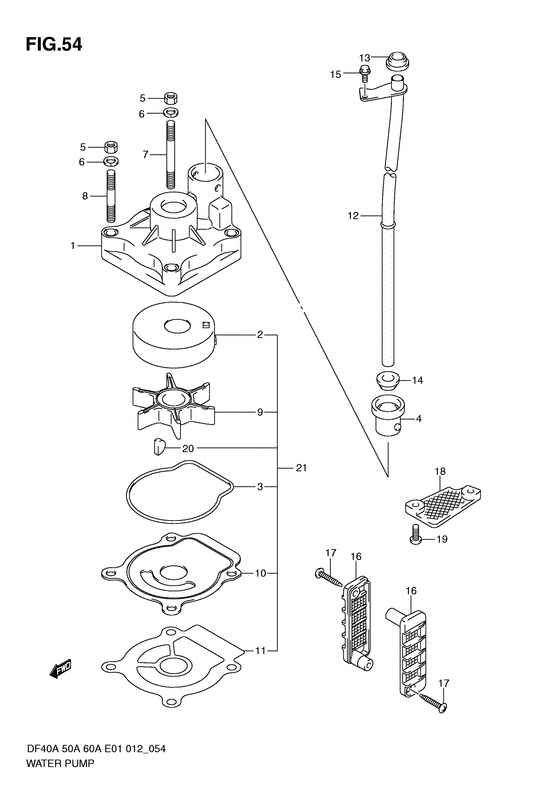
117410-88L00-000

Корпус водяного насоса - Case, Water Pump (Case, waterpump)

3 шт8680 руб.
217413-95J00-000

Рукав корпуса водяной помпы - Sleeve, Water Pump Case (Sleeve, water pump case; # ) (Обойма помпы)

9 шт2510 руб.
2SK17413-95J00

   (не оригинальный аналог) Стакан крыльчатки Skipper для Suzuki DF20 V-twin- DF60AV

0 шт643 руб.
317416-95J00-000

Сальник корпуса водяного насоса - Sealing, Water Pump Case (Sealing, water pump case; # ) (Уплотнение корпуса)

13 шт720 руб.
3SK17416-95J00

   (не оригинальный аналог) Прокладка корпуса помпы Skipper для Suzuki Модели техники: DF20-25 (до 14 )/DF40A-60A

0 шт178 руб.
417564-88L00-000

Втулка корпуса водяной помпы - Bush, Water Pump Case (Bush, waterpump case)

под заказ330 руб.
417564-88L01-000

   (актуальный код замены) Втулка корпуса водяной помпы - Bush, Water Pump Case

24 шт370 руб.
529141-93J00-000

Гайка - Nut (Гайка)

18 шт480 руб.
629162-93J00-000

Шайба - Washer (Washer, lock; # ) (Пластина замка)

9 шт130 руб.
709108-06143-000

Болт под шпильку - Bolt, Stud (Stud bolt; # ) (Болт)

7 шт480 руб.
809108-06144-000

Болт под шпильку - Bolt, Stud (Stud bolt; # ) (Болт)

под заказ440 руб.
917461-96312-000

Крыльчатка водяного насоса - Impeller, Water Pump (Крыльчатка водной помпы)

25 шт3490 руб.
9SC-WT104

   (не оригинальный аналог) Крыльчатка помпы охлаждения двигателя Suzuki SC-WT104

1 шт1060 руб.
1017471-95J01-000

Панель в нижней части корпуса помпы - Panel, Pump Case Under (Panel, pump case under)

9 шт900 руб.
1117472-96303-000

Прокладка снизу корпуса водяного насоса - Gasket, Pump Case Under (Gasket, pump case under; # ) (Gasket, pump case under)

под заказ270 руб.
1117472-96304-000

   (актуальный код замены) Прокладка снизу корпуса водяного насоса - Gasket, Pump Case Under

26 шт360 руб.
11SK17472-96303

   (не оригинальный аналог) Прокладка под пластину водяного насоса Skipper для Suzuki DT25-40, DF20-50, DF40A-60A

0 шт129 руб.
1217560-88L00-000

Водяная трубка (s) - Tube, Water (s) (Tube, water (s); W/transom (s) # ) (Tube comp, water (s))

под заказ4800 руб.
1217560-88L10-000

Водяная трубка (l) - Tube, Water (l) (Tube, water (l); W/transom (l) # ) (Tube, water (l))

под заказ5280 руб.
1317562-87L00-000

Втулка, Водяная трубка, верхний - Bush, Water Tube, Upper (Grommet, water tube upper; # ) (Bush, water tube upper)

под заказ820 руб.
1317562-87L01-000

   (актуальный код замены) Верхний пыльник водяной трубки - Grommet, Water Tube Upper

7 шт820 руб.
1417562-87L00-000

Втулка, Водяная трубка, верхний - Bush, Water Tube, Upper (Grommet, water tube lower; W/transom (l) # ) (Bush, water tube upper)

под заказ820 руб.
1417562-87L01-000

   (актуальный код замены) Верхний пыльник водяной трубки - Grommet, Water Tube Upper

7 шт820 руб.
1509116-06094-000

Болт (6x15) - Bolt (6x15) (Bolt (6x15); # ) (Болт 6X15)

20 шт270 руб.
1617631-96320-000

Водяной фильтр - Filter, Water (Фильтр водный)

8 шт900 руб.
1703142-04309-000

Винт - Screw (Болт)

под заказ170 руб.
1817635-87E00-000

Водяной фильтр Sub - Filter, Water Sub (Фильтр водный)

8 шт620 руб.
1817635-87E10-000

Пластина редуктора - Plate, Gear Case (Plate, gear case # Plate, gear case; Opt # ) (Плата редуктора)

под заказ10230 руб.
1909125-05046-000

Винт (5x12) - Screw (5x12) (Screw (5x12) # Screw (5x12); # ) (Болт)

под заказ150 руб.
2009420-04006-000

Ключ - Key (Key, impeller # ) (Ключ)

18 шт430 руб.
2117400-88L00-000

Ремкомплект водяного насоса - Kit, Water Pump Repair (Opt # ) (Kit, waterpump repair)

под заказ6870 руб.
2117400-88L01-000

   (актуальный код замены) Ремкомплект водяного насоса - Kit, Water Pump Repair

12 шт7490 руб.
21SK17400-88L00

   (не оригинальный аналог) Ремкомплект помпы охлаждения Skipper

0 шт1474 руб.


Время выполнения запроса 0.90471887588501 сек.

 
 

данный сайт носит информационный характер и не является публичной офертой

склад запчастей для водомоторной техники