| |
 |
|
 |
Вернуться к выбору узлов мотора
ДЕТАЛИРОВКА ДЛЯ МОДЕЛИ: SUZUKI DF60ATL(E01) PRD
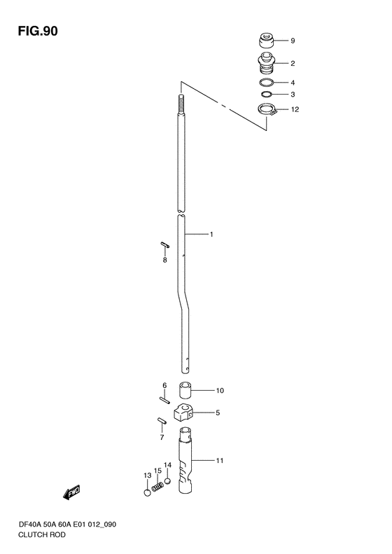
Тяга сцепления
Год выпуска двигателя: 2011
Номер на рисунке | Артикул | Наименование | QTY | Кол-во на складе | Цена |
| 1 | 25111-88L00-000 | Переключающая тяга (s) - Rod, Shift (s) (Rod, shift (s); W/transom (s) # ) (Rod, shift (s)) | | под заказ | 3600 руб. |
| 1 | 25111-88L10-000 | Переключающая тяга (l) - Rod, Shift (l) (Rod, shift (l); W/transom (l) # ) (Rod, shift (l)) | | под заказ | 3600 руб. |
| 2 | 25211-87J00-000 | Направляющая переключающей тяги - Guide, Shift Rod (Направляющая переключетеля) | | 2 шт | 1270 руб. |
| 3 | 09280-08005-000 | Уплотнительное кольцо (d: 1.7, Id: 7.7) - O Ring (d:17, Id:77) (O ring (d:1.8, id:7.6) # O ring (d:1.7, id:7.7); # ) (O ring) | | 45 шт | 160 руб. |
| 4 | 09280-11001-000 | Уплотнительное кольцо (d: 2.4, Id: 10.8) - O Ring (d:24, Id:108) (O ring (d:2.4, id:11.0) # O ring (d:2.4, id:10.8); # ) (O ring) | | 28 шт | 210 руб. |
| 4 | SK09280-11001 | (не оригинальный аналог) Кольцо уплотнительное тяги переключения передач Skipper для Suzuki Модели техники: DT20-85/DF2.5-DF50/DF40A-DF60A | | 0 шт | 32 руб. |
| 5 | 25212-94401-000 | Направляющая переключающей тяги Lwr - Guide, Shift Rod Lwr (Guide, shift rod lower # ) (Направляющая переключателя) | | 2 шт | 480 руб. |
| 6 | 09205-02013-000 | Стопор пружины (2.5x16) - Pin, Spring (25x16) (Pin, spring # Spring; # ) (Pin) | | под заказ | 120 руб. |
| 7 | 09205-03021-000 | Стопор пружины (3.5x12) - Pin, Spring (35x12) (Spring; # ) (Пружина) | | под заказ | 120 руб. |
| 8 | 09205-02004-000 | Стопор пружины (2.5x12) - Pin, Spring (25x12) (Spring pin # Spring; # ) (Pin) | | 11 шт | 100 руб. |
| 9 | 25223-94400-000 | Пыльник переключающеё тяги - Seal, Shift Rod Dust (Seal, shift rod dust; # ) (Уплотнение) | | под заказ | 550 руб. |
| 9 | 25223-96J00-000 | (актуальный код замены) Сальник тяги сцепления - Seal, Clutch Rod | | 82 шт | 630 руб. |
| 10 | 25232-96302-000 | Индуктор картера коробки передач - Magneto, Gear Case (Magnet, gear case; # ) (втулка коробки передач) | | 2 шт | 690 руб. |
| 11 | 25311-88L00-000 | Кулачок переключателя - Cam, Shift (Cam, shift) | | 1 шт | 6540 руб. |
| 12 | 08331-3115A-000 | Стопорное кольцо - Circlip (Circlip) | | 9 шт | 150 руб. |
| 13 | 21121-93300-000 | Пластина в паз сцепления - Plate, Clutch Notch (Plate, clutch notch # Plate, detent spring; # ) (Стопор) | | 50 шт | 180 руб. |
| 14 | 09260-10005-000 | Шарик - Ball (Steel ball # ) (Ball) | | 4 шт | 210 руб. |
| 15 | 09440-07078-000 | Пружина - Spring (Пружина) | | 4 шт | 460 руб. |
Время выполнения запроса 0.88174200057983 сек. |
|