 |
|
 |
Вернуться к выбору узлов мотора
ДЕТАЛИРОВКА ДЛЯ МОДЕЛИ: SUZUKI DF60ATL(E01) PRD
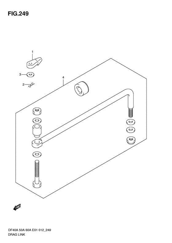
Переключающая тяга
Год выпуска двигателя: 2011
Номер на рисунке | Артикул | Наименование | QTY | Кол-во на складе | Цена |
| 1 | 67467-89J01-000 | Коннектор - Connector (Connector, remocon cable; # ) (Переходник) | | 72 шт | 850 руб. |
| 2 | 09385-06012-000 | Зажим - Clip (Clip) | | 134 шт | 150 руб. |
| 3 | 09160-06055-000 | Шайба (7x12x1) - Washer (7x12x1) (Washer (7x12x1.0) # Washer (7x12x1); # ) (Шайба) | | 67 шт | 130 руб. |
| 4 | 67700-93J00-000 | Рулевая тяга - Link Set, Drag (Opt # ) (Тяга рулевого управления) | | под заказ | 5810 руб. |
Время выполнения запроса 0.59376287460327 сек. |