| |
 |
|
 |
Вернуться к выбору узлов мотора
ДЕТАЛИРОВКА ДЛЯ МОДЕЛИ: SUZUKI DF70AT/DF70ATH FROM 07003F-410001~ (E01,E40)
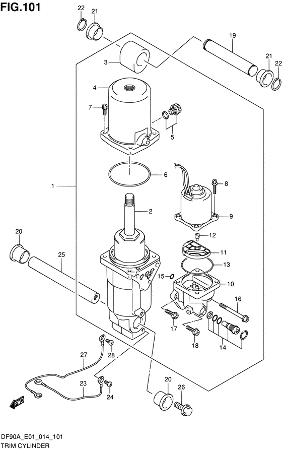
Цилиндр трима
Код модели двигателя: DF70AT(H)L/X
Год выпуска двигателя: 2014
Регион: General Export No.1/Costa Rica ,Код региона: P01/P40
Цвет: Shadow Black Metallic
Номер на рисунке | Артикул | Наименование | QTY | Кол-во на складе | Цена |
| 1 | 48000-87L03-000 | Трим в сборе, система наклона двигателя - Trim Assy, Power With Tilt (Trim assy, power with tilt) | | под заказ | 299040 руб. |
| 1 | 48000-87L07-000 | (актуальный код замены) Трим в сборе, система наклона двигателя - Trim Assy, Power With Tilt | | под заказ | 299040 руб. |
| 2 | 48400-87L02-000 | Коллектор в сборе - Manifold Assy (Коллектор) | | под заказ | 85440 руб. |
| 2 | 48400-87L03-000 | (актуальный код замены) Коллектор в сборе - Manifold Assy | | под заказ | 85440 руб. |
| 3 | 48611-87L00-000 | Металлический соединитель - Joint, Metal (Joint, metal) | | под заказ | 18530 руб. |
| 4 | 48571-87L00-000 | Бак резервуара - Tank, Reservoir (Tank, reservoir) | | под заказ | 18150 руб. |
| 4 | 48571-87L01-000 | (актуальный код замены) Бак резервуара - Tank, Reservoir | | под заказ | 18150 руб. |
| 5 | 48572-87L00-000 | Заглушка - Plug (Plug) | | под заказ | 1880 руб. |
| 6 | 48557-90J00-000 | Уплотнительное кольцо - O Ring (O ring) | | 4 шт | 2010 руб. |
| 7 | 48862-87J20-000 | Болт резервуара - Bolt, Reservoir (Bolt, reservoir) | | 2 шт | 1350 руб. |
| 8 | 31281-92J10-000 | Сквозной болт - Bolt, Through (Bolt, through) | | под заказ | 1050 руб. |
| 9 | 38100-87L01-000 | Двигатель гидроподъёма лодочного мотора - Motor Assy, Ptt (Motor assy, ptt) | | под заказ | 82560 руб. |
| 9 | 38100-87L03-000 | (актуальный код замены) Двигатель гидроподъёма лодочного мотора - Motor Assy, Ptt | | под заказ | 82560 руб. |
| 10 | 48502-87L02-000 | Помпа в сборе - Pump Assy (Pump assy) | | под заказ | 110400 руб. |
| 11 | 48582-95E01-000 | Фильтр - Filter (Filter) | | под заказ | 3890 руб. |
| 12 | 48583-95E00-000 | Соединение привода - Joint, Drive (Соединение) | | под заказ | 1080 руб. |
| 13 | 48585-95E00-000 | Уплотнительное кольцо - O Ring (Кольцо протектора) | | 6 шт | 430 руб. |
| 14 | 48864-96J10-000 | Седло ручного клапана - Valve Set, Manual (Valve set, manual) | | под заказ | 12790 руб. |
| 15 | 48588-90J00-000 | Набор уплотнительных колец - O Ring Set (O ring set) | | 5 шт | 1240 руб. |
| 16 | 48862-92J20-000 | Болт помпы №1 - Bolt, Pump No1 (Bolt, pump no.1) | | 1 шт | 1350 руб. |
| 17 | 48862-92J30-000 | Болт помпы №2 - Bolt, Pump No2 (Bolt, pump no.2) | | под заказ | 1090 руб. |
| 18 | 48862-90J21-000 | Болт - Bolt (Bolt) | | под заказ | 1350 руб. |
| 19 | 48321-90J00-000 | Вал наклона Цилиндр вышеr - Shaft, Tilt Cylinder Upr (Shaft, tilt cyl upper # ) (Вал гидроподъемника) | | под заказ | 4520 руб. |
| 20 | 48326-95E00-000 | Втулка, Цилиндр наклона Lwr - Bush, Tilt Cylinder Lwr (Bush, tilt cylinder # ) (Втулка цилиндра) | | 13 шт | 520 руб. |
| 21 | 48325-87L00-000 | Втулка снизу цилиндра наклона - Bush, Tilt Cyl Lower (Bush, tilt cyl lower) | | 12 шт | 390 руб. |
| 22 | 09380-22015-000 | Стопорное кольцо - Circlip (Circlip) | | под заказ | 290 руб. |
| 23 | 36894-87D00-000 | Lead (l: 165) - Lead (l:165) (Провод) | | 2 шт | 1350 руб. |
| 24 | 09125-06063-000 | Винт (6x10) - Screw (6x10) (Винт 6X10 (SUS)) | | 6 шт | 190 руб. |
| 25 | 48121-90J00-000 | Вал наклона Цилиндр Lwr - Shaft, Tilt Cylinder Lwr (Shaft, tilt cyl lower # ) (Вал гидроподъемника) | | под заказ | 7060 руб. |
| 26 | 09116-10174-000 | Болт (10x35) - Bolt (10x35) | | под заказ | 1000 руб. |
| 26 | 09116-10179-000 | (актуальный код замены) Болт (10x35) - Bolt (10x35) | | под заказ | 1000 руб. |
| 26 | 09116-10179-000 | Болт (10x35) - Bolt (10x35) (Bolt (10x35)) | | под заказ | 1000 руб. |
| 27 | 36895-87D10-000 | Lead (l: 310) - Lead (l:310) (Lead (swivel to hsg) # ) (Провод) | | 2 шт | 1300 руб. |
| 28 | 09125-05050-000 | Винт (5x8) - Screw (5x8) (Винт 5X8) | | под заказ | 150 руб. |
Время выполнения запроса 0.93413710594177 сек. |
|