| |
 |
|
 |
Вернуться к выбору узлов мотора
ДЕТАЛИРОВКА ДЛЯ МОДЕЛИ: SUZUKI DF70AT/DF70ATH FROM 07003F-510001~ (E01,E40)
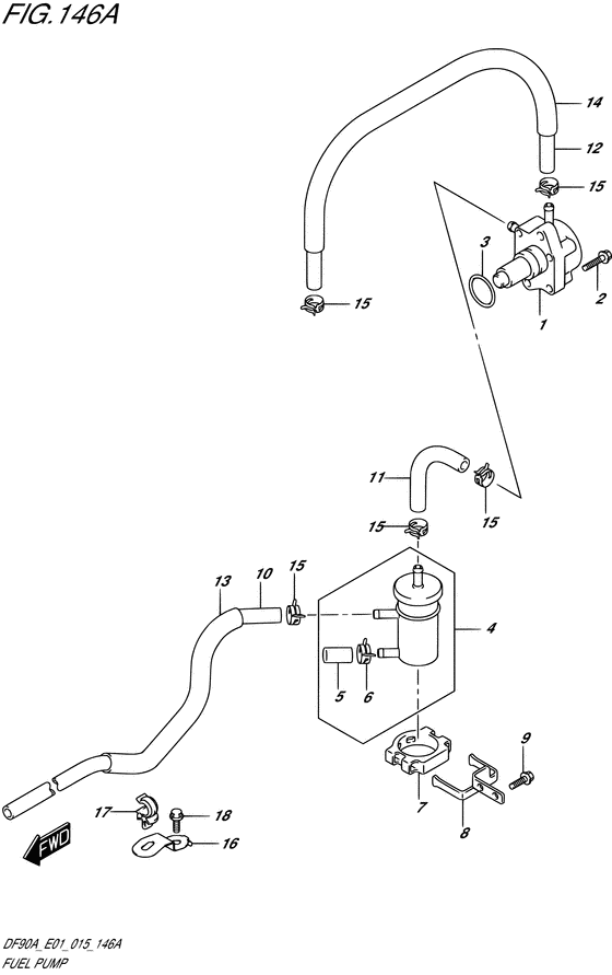
Топливный насос
Код модели двигателя: DF70AT(H)L/X
Год выпуска двигателя: 2015
Регион: General Export No.1/Costa Rica ,Код региона: P01/P40
Цвет: Shadow Black Metallic
Номер на рисунке | Артикул | Наименование | QTY | Кол-во на складе | Цена |
| 1 | 15100-90J11-000 | Топливный насос, в сборе - Pump Assy, Fuel (Pump assy, fuel) | | под заказ | 16700 руб. |
| 2 | 01550-06257-000 | Болт - Bolt (Bolt) | | под заказ | 180 руб. |
| 3 | 09280-26005-000 | Уплотнительное кольцо (d: 2.4, Id: 26.2) - O Ring (d:24, Id:262) (O ring (d:2.4, id:26.2) # ) (O ring (dd:2.4, id:26.2)) | | 14 шт | 200 руб. |
| 4 | 15410-87L00-000 | Топливный фильтр - Filter, Fuel (Filter comp, fuel) | | 5 шт | 2110 руб. |
| 5 | 15419-87J00-000 | Колпачок топливного фильтра - Cap, Fuel Filter (Стакан топливного фильтра) | | под заказ | 640 руб. |
| 6 | 09401-11423-000 | Зажим - Clip (Clip) | | 7 шт | 210 руб. |
| 7 | 15422-96J00-000 | Струбцина топливного фильтра - Clamp, Fuel Filter (Clamp, filter # ) (Струбцина фильтра) | | под заказ | 730 руб. |
| 7 | 15422-96J01-000 | (актуальный код замены) Струбцина топливного фильтра - Clamp, Fuel Filter | | под заказ | 730 руб. |
| 8 | 15421-87L00-000 | Кронштейн топливного фильтра - Bracket, Fuel Filter (Кронштейн топливного фильтра) | | под заказ | 1090 руб. |
| 9 | 01550-06167-000 | Болт - Bolt (Bolt) | | 9 шт | 210 руб. |
| 10 | 15190-90J30-000 | Топливный шланг (Соединитель To Фильтр) - Hose, Fuel (joint To Filter) (Hose, fuel (joint to fltr)) | | под заказ | 12240 руб. |
| 11 | 15192-87L11-000 | Топливный шланг (Фильтр To Помпа) - Hose, Fuel (filter To Pump) (Hose, fuel (filter to pump)) | | под заказ | 1290 руб. |
| 12 | 09343-70503-600 | Шланг (7x12x600) - Hose (7x12x600) (L:600->510 # ) (Hose, 7x12x600) | | под заказ | 3890 руб. |
| 13 | 18498-99E10-000 | Защита топливного шланга (610) - Protector, Fuel Hose (610) (Protector, fuel hose # L:610->340 # ) (Протектор топливный) | | под заказ | 1110 руб. |
| 13 | 18498-99E11-000 | (актуальный код замены) Защита топливного шланга (610) - Protector, Fuel Hose (610) | | под заказ | 1110 руб. |
| 14 | 18498-99E10-000 | Защита топливного шланга (610) - Protector, Fuel Hose (610) (Protector, fuel hose # L:610->450 # ) (Протектор топливный) | | под заказ | 1110 руб. |
| 14 | 18498-99E11-000 | (актуальный код замены) Защита топливного шланга (610) - Protector, Fuel Hose (610) | | под заказ | 1110 руб. |
| 15 | 09401-11423-000 | Зажим - Clip (Clip) | | 7 шт | 210 руб. |
| 16 | 15198-87L00-000 | Кронштейн топливного шланга - Bracket, Fuel Hose (BRACKET, FUEL HOSE) | | под заказ | 640 руб. |
| 17 | 09403-11320-000 | Струбцина - Clamp (Clamp) | | под заказ | 180 руб. |
| 18 | 01550-06127-000 | Болт - Bolt (Bolt, rect # ) (Bolt) | | 10 шт | 180 руб. |
Время выполнения запроса 1.2848138809204 сек. |
|