Номер на рисунке | Артикул | Наименование | QTY | Кол-во на складе | Цена |
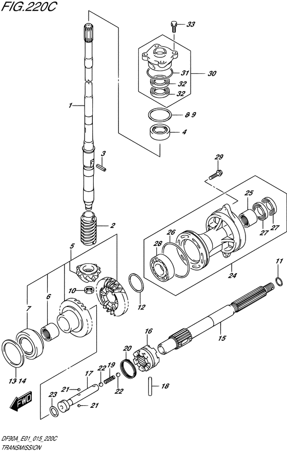
| 1 | 57110-87L20-000 | Вал привода (l) - Shaft, Drive (l) (W/TRANSOM (L) # ) (Shaft, drive (l)) | | под заказ | 54720 руб. |
| 1 | 57110-87L21-000 | (актуальный код замены) Вал привода (l) - Shaft, Drive (l) | | 1 шт | 54720 руб. |
| 1 | 57110-87L30-000 | Вал привода (x) - Shaft, Drive (x) (W/TRANSOM (X) # ) (Shaft, drive (x)) | | под заказ | 67680 руб. |
| 1 | 57110-87L31-000 | (актуальный код замены) Вал Comp, Drive (x) - Shaft Comp, Drive (x) | | под заказ | 67680 руб. |
| 2 | 57133-87L01-000 | Воротник приводного вала - Collar, Drive Shaft (Collar, drive shaft) | | 9 шт | 1530 руб. |
| 3 | 09205-05011-000 | Стопор пружины (5x14) - Pin, Spring (5x14) (Pin (l:14) # ) (Pin) | | 4 шт | 140 руб. |
| 4 | 09265-25046-000 | Подшипник (25x52x19.25) - Bearing (25x52x1925) (Bearing (25x52x19.25)) | | 10 шт | 7810 руб. |
| 4 | 32205XRKOYO | (подбор по маркировке) Подшипник KOYO 32205XR(25*52*18 мм) | | под заказ | 725 руб. |
| 5 | 57300-87880-000 | Комплект шестерёнок - Pinion & Gear Set (Pinion / gear set) | | под заказ | 72000 руб. |
| 5 | 57300-87890-000 | (актуальный код замены) Комплект шестерёнок - Pinion & Gear Set | | 3 шт | 85000 руб. |
| 6 | 09263-25067-000 | Подшипник (25x32x26) - Bearing (25x32x26) (Bearing, prop shaft forward (25x32x26) # ) (Bearing, prop shaft forward (2) | | 12 шт | 2640 руб. |
| 6 | BM2526KOYO | (подбор по маркировке) Подшипник KOYO BM2526(25*32*26 мм) | | под заказ | 0 |
| 7 | 09265-40003-000 | Подшипник (40x75x26) - Bearing (40x75x26) (Bearing # ) (Подшипник 40X75X26) | | 4 шт | 13000 руб. |
| 7 | 33108JE1KOYO | (подбор по маркировке) Подшипник KOYO 33108JE-1(40*75*26 мм) | | под заказ | 2052 руб. |
| 8 | 57500-87873-000 | Комплект регулировочных шайб приводного вала - Shim Set, Drive Shaft (Набор шайб) | | 8 шт | 6280 руб. |
| 9 | 09181-40186-000 | Регулировочная шайба (41x52x0.5) - Shim (41x52x05) (Shim (t:0.50) # ) (Shim) | | 7 шт | 280 руб. |
| 9 | 09181-40190-000 | Регулировочная шайба (40x52x0.8) - Shim (40x52x08) (Shim (t:0.80) # ) (Шайба T:0.8) | | 4 шт | 280 руб. |
| 9 | 09181-40195-000 | Регулировочная шайба (40x52x1) - Shim (40x52x1) (Shim (t:1.00) # ) (Шайба T:1.0) | | 11 шт | 420 руб. |
| 9 | 09181-41002-000 | Регулировочная шайба (41x52x0.55) - Shim (41x52x055) (Shim (t:0.55)) | | под заказ | 470 руб. |
| 9 | 09181-41003-000 | Регулировочная шайба (41x52x0.6) - Shim (41x52x06) (Shim (t:0.60) # ) (Шайба 41X52X0.6) | | 2 шт | 470 руб. |
| 9 | 09181-41004-000 | Регулировочная шайба (41x52x0.65) - Shim (41x52x065) (Shim (t:0.65) # ) (Шайба 41X52X0.65) | | 17 шт | 470 руб. |
| 9 | 09181-41005-000 | Регулировочная шайба (41x52x0.7) - Shim (41x52x07) (Shim (t:0.70) # ) (Шайба 41X52X0.7) | | 7 шт | 470 руб. |
| 9 | 09181-41006-000 | Регулировочная шайба (41x52x0.75) - Shim (41x52x075) (Shim (t:0.75) # ) (Шайба 41X52X0.75) | | 9 шт | 470 руб. |
| 9 | 09181-41008-000 | Регулировочная шайба (41x52x0.85) - Shim (41x52x085) (Shim (t:0.85) # ) (Шайба 41X52X0.85) | | под заказ | 470 руб. |
| 9 | 09181-41009-000 | Регулировочная шайба (41x52x0.9) - Shim (41x52x09) (Shim (t:0.90) # ) (Шайба 41X52X0.9) | | под заказ | 470 руб. |
| 9 | 09181-41010-000 | Регулировочная шайба (41x52x0.95) - Shim (41x52x095) (Shim (t:0.95) # ) (Шайба 41X52X0.95) | | под заказ | 470 руб. |
| 9 | 09181-41012-000 | Регулировочная шайба (41x52x1.05) - Shim (41x52x105) (Shim (t:1.05) # ) (Шайба 41X52X1.05) | | под заказ | 470 руб. |
| 9 | 09181-41013-000 | Регулировочная шайба (41x52x1.1) - Shim (41x52x11) (Shim (t:1.10) # ) (Шайба 41X52X1.1) | | под заказ | 470 руб. |
| 9 | 09181-41014-000 | Регулировочная шайба (41x52x1.15) - Shim (41x52x115) (Shim (t:1.15) # ) (Шайба 41X52X1.15) | | под заказ | 470 руб. |
| 10 | 09140-14024-000 | Гайка - Nut (Гайка) | | 18 шт | 270 руб. |
| 11 | 09181-25072-000 | Регулировочная шайба (25x32x1.4) - Shim (25x32x14) (PROP SHAFT REV THRUST # ) (Washer, 25x32x1.4) | | 1 шт | 430 руб. |
| 11 | 09181-25073-000 | Регулировочная шайба (25x32x1.5) - Shim (25x32x15) (PROP SHAFT REV THRUST # ) (Washer, 25x32x1.5) | | 3 шт | 350 руб. |
| 11 | 09181-25074-000 | Регулировочная шайба (25x32x1.6) - Shim (25x32x16) (PROP SHAFT REV THRUST # ) (Washer, 25x32x1.6) | | 13 шт | 350 руб. |
| 11 | 09181-25075-000 | Регулировочная шайба (25x32x1.7) - Shim (25x32x17) (PROP SHAFT REV THRUST # ) (Washer, 25x32x1.7) | | 22 шт | 350 руб. |
| 11 | 09181-25130-000 | Регулировочная шайба (25x32x0.5) - Shim (25x32x05) (PROP SHAFT REV THRUST # ) (Shim, 25x32x0.5) | | 3 шт | 250 руб. |
| 11 | 09181-25139-000 | Регулировочная шайба (25x32x1) - Shim (25x32x1) (Washer, shift cam spring # PROP SHAFT REV THRUST # ) (Washer, 2nd driven gear, r) | | 16 шт | 250 руб. |
| 11 | 09181-25143-000 | Регулировочная шайба (25x32x1.09) - Shim (25x32x109) (PROP SHAFT REV THRUST # ) (Shim (t:1.09)) | | 5 шт | 350 руб. |
| 11 | 09181-25149-000 | Регулировочная шайба (25x32x1.21) - Shim (25x32x121) (PROP SHAFT REV THRUST # ) (Shim (t:1.21)) | | 14 шт | 250 руб. |
| 11 | 09181-25153-000 | Регулировочная шайба (25x32x1.3) - Shim (25x32x13) (PROP SHAFT REV THRUST # ) (Shim (t:1.30)) | | 2 шт | 250 руб. |
| 12 | 09181-40004-000 | Регулировочная шайба (40x46.8x0.6) - Shim (40x468x06) (REV GEAR # ) (Shim (t:0.60)) | | 4 шт | 250 руб. |
| 12 | 09181-40005-000 | Регулировочная шайба (40x46.8x0.65) - Shim (40x468x065) (REV GEAR # ) (Shim (t:0.65)) | | 3 шт | 250 руб. |
| 12 | 09181-40006-000 | Регулировочная шайба (40x46.8x0.7) - Shim (40x468x07) (REV GEAR # ) (Shim (t:0.70)) | | 5 шт | 250 руб. |
| 12 | 09181-40007-000 | Регулировочная шайба (40x46.8x0.75) - Shim (40x468x075) (REV GEAR # ) (Shim (t:0.75)) | | 14 шт | 250 руб. |
| 12 | 09181-40008-000 | Регулировочная шайба (40x46.8x0.8) - Shim (40x468x08) (REV GEAR # ) (Shim (t:0.80)) | | 13 шт | 250 руб. |
| 12 | 09181-40009-000 | Регулировочная шайба (40x46.8x085) - Shim (40x468x085) (REV GEAR # ) (Shim (t:0.85)) | | 5 шт | 250 руб. |
| 12 | 09181-40010-000 | Регулировочная шайба (40x46.8x0.9) - Shim (40x468x09) (REV GEAR # ) (Shim (t:0.90)) | | 4 шт | 250 руб. |
| 12 | 09181-40011-000 | Регулировочная шайба (40x46.8x0.95) - Shim (40x468x095) (REV GEAR # ) (Shim (t:0.95)) | | 5 шт | 250 руб. |
| 12 | 09181-40012-000 | Регулировочная шайба (40x46.8x1) - Shim (40x468x1) (REV GEAR # ) (Shim (t:1.00)) | | 2 шт | 320 руб. |
| 12 | 09181-40013-000 | Регулировочная шайба (40x46.8x1.05) - Shim (40x468x105) (REV GEAR # ) (Shim (t:1.05)) | | 4 шт | 320 руб. |
| 12 | 09181-40018-000 | Регулировочная шайба (40x46.8x0.55) - Shim (40x468x055) (REV GEAR # ) (Shim, 40x46.8x0.55) | | 11 шт | 240 руб. |
| 13 | 57500-87882-000 | Комплект регулировочных шайб шестерни переднего хода - Shim Set, Forward Gear (Shim set, forward gear # FWD GEAR # ) (Набор шайб) | | 2 шт | 7560 руб. |
| 14 | 09181-64002-000 | Регулировочная шайба (64x75x0.55) - Shim (64x75x055) (Shim (t:0.55) # FWD GEAR # ) (Шайба 64X75X0.55) | | 9 шт | 660 руб. |
| 14 | 09181-64003-000 | Регулировочная шайба (64x75x0.6) - Shim (64x75x06) (Shim (t:0.60) # FWD GEAR # ) (Шайба 64X75X0.6) | | 9 шт | 660 руб. |
| 14 | 09181-64004-000 | Регулировочная шайба (64x75x0.65) - Shim (64x75x065) (Shim (t:0.65) # FWD GEAR # ) (Шайба 64X75X0.65) | | 10 шт | 660 руб. |
| 14 | 09181-64005-000 | Регулировочная шайба (64x75x0.7) - Shim (64x75x07) (Shim (t:0.70) # FWD GEAR # ) (Шайба 64X75X0.7) | | 10 шт | 660 руб. |
| 14 | 09181-64006-000 | Регулировочная шайба (64x75x0.75) - Shim (64x75x075) (Shim (t:0.75) # FWD GEAR # ) (Шайба 64X75X0.75) | | 10 шт | 660 руб. |
| 14 | 09181-64007-000 | Регулировочная шайба (64x75x0.8) - Shim (64x75x08) (Shim (t:0.80) # FWD GEAR # ) (Шайба 64X75X0.8) | | 10 шт | 660 руб. |
| 14 | 09181-64008-000 | Регулировочная шайба (64x75x0.85) - Shim (64x75x085) (Shim (t:0.85) # FWD GEAR # ) (Шайба 64X75X0.85) | | под заказ | 660 руб. |
| 14 | 09181-64009-000 | Регулировочная шайба (64x75x0.9) - Shim (64x75x09) (Shim (t:0.90) # FWD GEAR # ) (Шайба 64X75X0.9) | | 9 шт | 660 руб. |
| 14 | 09181-64010-000 | Регулировочная шайба (64x75x0.95) - Shim (64x75x095) (Shim (t:0.95) # FWD GEAR # ) (Шайба 64X75X0.9) | | под заказ | 660 руб. |
| 14 | 09181-64011-000 | Регулировочная шайба (64x75x1) - Shim (64x75x1) (Shim (t:1.00) # FWD GEAR # ) (Шайба 64X75X1.0) | | 9 шт | 790 руб. |
| 15 | 57610-87L00-000 | Вал гребного винта - Shaft, Propeller (Гребной вал) | | 4 шт | 36600 руб. |
| 16 | 57621-87L10-000 | Переключатель собачки сцепления - Shifter, Clutch Dog (SHIFTER, CLUTCH DOG) | | под заказ | 15120 руб. |
| 17 | 57631-87L00-000 | Штифт коннектора - Pin, Connector (Штифт соединяющий) | | 4 шт | 4300 руб. |
| 18 | 09202-07003-000 | Штифт - Pin (Pin) | | 22 шт | 480 руб. |
| 19 | 09440-09043-000 | Пружина - Spring (Пружина) | | 9 шт | 260 руб. |
| 20 | 09440-42002-000 | Пружина - Spring (Пружина) | | под заказ | 270 руб. |
| 21 | 06111-07004-000 | Шарик - Ball (Шарик-защёлка №1) | | 19 шт | 100 руб. |
| 22 | 06111-11004-000 | Шарик - Ball (Шарик-защёлка №2) | | 29 шт | 150 руб. |
| 23 | 09181-25030-000 | Регулировочная шайба (25x32x3) - Shim (25x32x3) (Shim) | | 8 шт | 350 руб. |
| 24 | 56120-87L30-0EP | Корпус подшипника вала гребного винта - Housing, Propeller Sft Brg (Housing, prop shaft brg (black)) | | под заказ | 32640 руб. |
| 25 | 09263-25067-000 | Подшипник (25x32x26) - Bearing (25x32x26) (Bearing, prop shaft forward (25x32x26) # ) (Bearing, prop shaft forward (2) | | 12 шт | 2640 руб. |
| 25 | BM2526KOYO | (подбор по маркировке) Подшипник KOYO BM2526(25*32*26 мм) | | под заказ | 0 |
| 26 | 09280-92004-000 | Уплотнительное кольцо (d: 3.1 Id: 89.4) - O Ring (d:31 Id:894) (O ring, d:3.1 id:89.4) | | 24 шт | 820 руб. |
| 27 | 09282-25001-000 | Сальник (25x38x8) - Seal, Oil (25x38x8) (Oil seal (d:5.0) # ) (Сальник) | | 93 шт | 660 руб. |
| 27 | SK09282-25001 | (не оригинальный аналог) Сальник гребного вала Skipper для Suzuki Модели техники: DF70-90 | | 0 шт | 157 руб. |
| 28 | 08113-60087-000 | Подшипник - Bearing (Bearing, reverse gear # ) (Подшипник B1 40X80X18) | | 8 шт | 3620 руб. |
| 28 | SK08113-60087 | (не оригинальный аналог) Подшипник шестерни заднего хода Skipper для Suzuki DT50/90/100, DF60-70, DF70A-90A | | 0 шт | 1091 руб. |
| 29 | 09116-08122-000 | Болт (8x30) - Bolt (8x30) (Bolt (8x30)) | | 8 шт | 350 руб. |
| 30 | 56130-87L01-000 | Корпус приводного вала Сальник - Housing, Drive Sft Oil Seal (Housing, drive sft oil seal) | | 2 шт | 9030 руб. |
| 31 | 09280-46004-000 | Уплотнительное кольцо (d: 3.5, Id: 45.7) - O Ring (d:35, Id:457) (Кольцо D:3.5 ID) | | 4 шт | 300 руб. |
| 31 | SK09280-46004 | (не оригинальный аналог) Кольцо уплотнительное ведущего вала Skipper для Suzuki Модель техники: DF60-70, DF90-140, DF40A-DF140A | | 0 шт | 64 руб. |
| 32 | 09282-22007-000 | Сальник (22x36x6) - Seal, Oil (22x36x6) (Seal, oil # ) (Сальник) | | 76 шт | 1180 руб. |
| 33 | 09117-08110-000 | Болт (8x25) - Bolt (8x25) (Bolt (8x25)) | | под заказ | 400 руб. |